TOP
|
特許
|
意匠
|
商標
特許ウォッチ
Twitter
他の特許を見る
公開番号
2025158851
公報種別
公開特許公報(A)
公開日
2025-10-17
出願番号
2024061768
出願日
2024-04-05
発明の名称
滅菌容器蓋
出願人
フジモリ産業株式会社
,
CoreTissue BioEngineering株式会社
代理人
弁理士法人湧泉特許事務所
主分類
B65D
51/22 20060101AFI20251009BHJP(運搬;包装;貯蔵;薄板状または線条材料の取扱い)
要約
【課題】滅菌容器の通気シートからなる蓋本体にゴム製の栓体を確実かつ安定的に取り付ける。
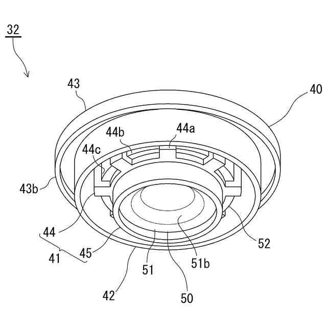
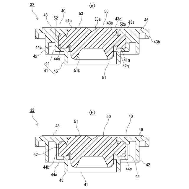
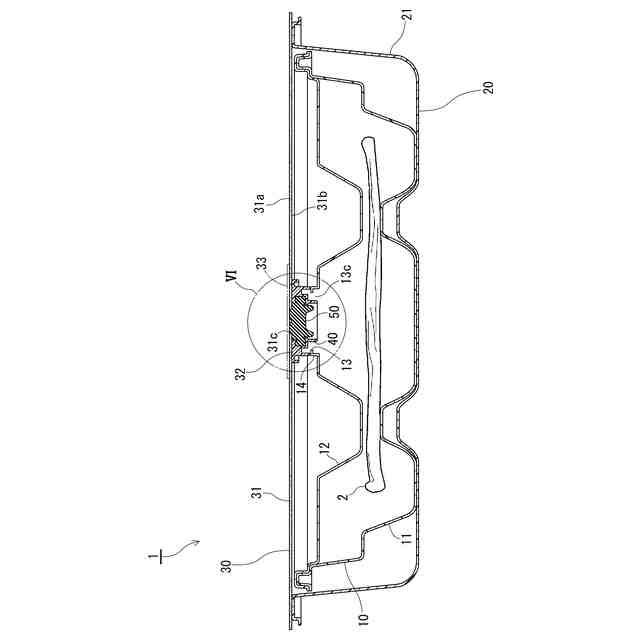
【解決手段】滅菌容器1の蓋30は、蓋本体31と栓ホルダ40と栓体50を備えている。蓋本体31は、ガスの透過を許容し菌の透過を阻止する通気シート31aからなる。蓋本体31に樹脂製の栓ホルダ40が接合されている。栓体30によって、蓋本体31の栓穴31cが塞がれている。栓ホルダ40によってゴム製の栓体50が保持されている。
【選択図】図6
特許請求の範囲
【請求項1】
滅菌容器の蓋であって、
ガスの透過を許容し菌の透過を阻止する通気シートからなり、栓穴が形成された蓋本体と、
前記蓋本体に接合された樹脂製の栓ホルダと、
前記栓穴を塞ぐようにして、前記栓ホルダによって保持されたゴム製の栓体と、
を備えたことを特徴とする滅菌容器蓋。
続きを表示(約 250 文字)
【請求項2】
前記栓ホルダが、前記栓体を囲む環状のホルダ部と、前記ホルダ部の軸方向の端部に設けられて前記蓋本体に宛がわれる環状の当接板と、前記当接板に形成されて前記蓋本体と溶着される溶着突起と、を含む請求項1に記載の滅菌容器蓋。
【請求項3】
前記栓ホルダが、前記栓体と分離不能に一体形成されている請求項1に記載の滅菌容器蓋。
【請求項4】
前記蓋本体の外面には、タンパーシールが前記栓穴を覆うようにして貼り付けられている請求項1~3の何れか1項に記載の滅菌容器蓋。
発明の詳細な説明
【技術分野】
【0001】
本発明は、滅菌容器の蓋に関し、特に生体由来の乾燥された組織を滅菌状態で保存するとともに使用に際して収容したまま水和させるのに適した滅菌容器の蓋に関する。
続きを表示(約 1,500 文字)
【背景技術】
【0002】
例えば、特許文献1には、ブタの心膜などの生体由来組織を保存する滅菌容器が開示されている。該滅菌容器は、内容器と外容器の二重容器構造になっている。収容対象の生体由来組織が乾燥された状態で内容器に収容される。内容器が外容器に収容されている。外容器の蓋は、菌の透過を阻止する通気シートによって構成されている。通気シートの中央部にはゴム製の栓体が設けられている。栓体は、内容器の蓋部の中央部に形成された注入口に挿し入れられることで、内容器内に臨んでいる。
【0003】
かかる滅菌容器が減圧下に置かれ、エチレンオキサイドガス等の滅菌ガス雰囲気中に配置されることで、滅菌ガスが、通気シートを透過して外容器の内部に入り、さらに内容器の蓋部の注入口の縁と栓体との間を通って、内容器の内部に入る。これによって、内容器内の生体由来組織の滅菌状態が維持される。
【0004】
生体由来組織の使用に際して、栓体に注入針を刺して、生理食塩液等の水和液を内容器に注入する。これによって、生体由来組織が水和される。水和後の生体由来組織を滅菌容器から取り出して、移植施術等に使用する。
【先行技術文献】
【特許文献】
【0005】
国際公開WO2023/058163
【発明の概要】
【発明が解決しようとする課題】
【0006】
前掲特許文献1において、滅菌容器の通気シートとしては、例えばデュポン社製タイベック(登録商標)等の特殊不織布が用いられている。一方、この種の特殊不織布は、栓体などのゴム製部材との接合性が悪い。
本発明は、かかる事情に鑑み、滅菌容器の通気シートからなる蓋本体にゴム製の栓体を確実かつ安定的に取り付けることを目的とする。
【課題を解決するための手段】
【0007】
前記課題を解決するため、本発明は、滅菌容器の蓋であって、
ガスの透過を許容し菌の透過を阻止する通気シートからなり、栓穴が形成された蓋本体と、
前記蓋本体に接合された樹脂製の栓ホルダと、
前記栓穴を塞ぐようにして、前記栓ホルダによって保持されたゴム製の栓体と、
を備えたことを特徴とする。
栓ホルダは、樹脂製であるから、蓋本体を構成する通気シートとの接合性を確保できる。これによって、栓体を、栓ホルダを介して、通気シートからなる蓋本体と安定的に接合できる。
好ましくは、通気シートは特殊不織布によって構成されている。
【0008】
好ましくは、前記栓ホルダが、前記栓体を囲む環状のホルダ部と、前記ホルダ部の軸方向の端部に設けられて前記蓋本体に宛がわれる環状の当接板と、前記当接板に形成されて前記蓋本体と溶着される溶着突起と、を含む。
これによって、栓ホルダを蓋本体と溶着によって接合できる。
【0009】
好ましくは、前記栓ホルダが、前記栓体と分離不能に一体形成されている。
例えば、栓ホルダ及び栓体は、インサート成形によって分離不能に一体形成されている。「分離不能に一体形成」とは、無理に分離しようとすると栓ホルダ及び栓体の少なくとも一方が材破される程度に、栓ホルダと栓体とが互いに強固に密着されていることを言う。その結果、通気性が無い状態となっている。
【0010】
好ましくは、前記蓋本体の外面には、タンパーシールが、前記栓穴を覆うようにして貼り付けられている。
タンパーシールの貼り付け状態によって、滅菌容器が未使用か否かを確認できる。
【発明の効果】
(【0011】以降は省略されています)
この特許をJ-PlatPat(特許庁公式サイト)で参照する
関連特許
フジモリ産業株式会社
煙突
1か月前
フジモリ産業株式会社
煙突管理システム
14日前
フジモリ産業株式会社
空調接続構造及び接続方法
今日
個人
束ね具
23日前
個人
収容箱
4か月前
個人
コンベア
6か月前
個人
ゴミ収集器
8か月前
個人
段ボール箱
8か月前
個人
段ボール箱
8か月前
個人
容器
10か月前
個人
テープ引出機
23日前
個人
土嚢運搬器具
9か月前
個人
楽ちんハンド
6か月前
個人
角筒状構造体
6か月前
個人
バンド
3か月前
個人
宅配システム
8か月前
個人
閉塞装置
11か月前
個人
お薬の締結装置
7か月前
個人
廃棄物収容容器
3か月前
個人
コード類収納具
9か月前
個人
棒状体収容容器
27日前
個人
包装容器
2か月前
個人
把手付米袋
5か月前
個人
蓋閉止構造
5か月前
個人
蓋閉止構造
5か月前
個人
貯蔵サイロ
8か月前
株式会社バンダイ
物品
1か月前
株式会社和気
包装用箱
1か月前
株式会社コロナ
梱包材
6か月前
個人
積み重ね用補助具
4か月前
個人
ゴミ処理機
10か月前
株式会社和気
包装用箱
10か月前
個人
袋入り即席麺
8か月前
株式会社イシダ
搬送装置
7か月前
三甲株式会社
蓋体
9か月前
株式会社新弘
容器
4か月前
続きを見る
他の特許を見る