TOP
|
特許
|
意匠
|
商標
特許ウォッチ
Twitter
他の特許を見る
公開番号
2025162407
公報種別
公開特許公報(A)
公開日
2025-10-27
出願番号
2024065690
出願日
2024-04-15
発明の名称
煙突
出願人
フジモリ産業株式会社
代理人
弁理士法人湧泉特許事務所
主分類
F23J
13/04 20060101AFI20251020BHJP(燃焼装置;燃焼方法)
要約
【課題】パネル組み立て式の煙突において、隣接するパネルどうしの連結作業を容易化し、かつ連結部からの漏煙を防止する。
【解決手段】煙突1は、煙突周壁1aを構成する複数のパネル11を備えている。煙突周壁1aの周方向又は軸方向に隣接するパネル11の互いに重ね合わされた2つの連結端部15どうしが連結部材20にて連結されている。連結部材20は、2つの連結端部15を貫通するとともに軸力が導入された軸力部材21と、軸力部材21の両端部に設けられ、それぞれ対面する連結端部15に圧接されることによって軸力を保持する一対の圧接部30,23を含む。少なくとも一方の圧接部30が、軸力部材21とは別体の筒形状に形成され軸力部材21の外周に嵌められるとともに軸力部材に回転不能かつ引き抜き不能にカシメられている。
【選択図】図1
特許請求の範囲
【請求項1】
煙突周壁を構成する複数のパネルを備えた煙突であって、
前記煙突周壁の周方向又は軸方向に隣接するパネルの互いに重ね合わされた2つの連結端部どうしが連結部材にて連結されており、前記連結部材が、
前記2つの連結端部を貫通するとともに軸力が導入された軸力部材と、
前記軸力部材の両端部に設けられ、それぞれ対面する連結端部に圧接されることによって前記軸力を保持する一対の圧接部と、
を含み、少なくとも一方の圧接部が、前記軸力部材とは別体の筒形状に形成されて前記軸力部材の外周に嵌められるとともに前記軸力部材に回転不能かつ引き抜き不能にカシメられていることを特徴とする煙突。
続きを表示(約 180 文字)
【請求項2】
前記連結端部の延び方向の複数箇所に前記連結部材が設けられており、隣接する連結部材の間隔が、50mm以上250mm以下である請求項1に記載の煙突。
【請求項3】
前記連結端部の厚みが、5mm以上30mm以下である請求項1に記載の煙突。
【請求項4】
前記軸力が、60kN以上である請求項1に記載の煙突。
発明の詳細な説明
【技術分野】
【0001】
本発明は、煙突に関し、特にパネル組み立て式の煙突に関する。
続きを表示(約 1,700 文字)
【背景技術】
【0002】
例えば、特許文献1には、複数枚の四角形のパネルを四角筒形状になるように組み立ててなるパネル組み立て式の煙突が開示されている。隣接する2つのパネルのうち少なくとも一方のパネルの端部は直角に折り曲げられて、他方のパネルの端部と重ねられている。これら2つのパネルの端部どうしがボルト及びナットで連結されている。
特許文献2のパネル組み立て式の煙突においては、各パネルが、断熱壁の内外両面に鋼板を設けた構造になっている。隣接する2つのパネルの外側鋼板の端部どうしが、ボルト及びナットで連結されている。
【先行技術文献】
【特許文献】
【0003】
特開2004-052228号公報
特開2019-105388号公報
【発明の概要】
【発明が解決しようとする課題】
【0004】
前掲特許文献等のパネル組み立て式の煙突においては、隣接するパネルの端部どうしを連結するボルト及びナットの緩みによって漏煙が発生するおそれがあった。ボルト及びナットに代えて、溶接によってパネルどうしを連結することも考えられるが、溶接作業が煩雑で長時間を要する。
本発明は、かかる事情に鑑み、隣接するパネルどうしの連結作業を容易化でき、かつ連結部からの漏煙を防止できるパネル組み立て式の煙突を提供することを目的とする。
【課題を解決するための手段】
【0005】
前記課題を解決するため、本発明は、煙突周壁を構成する複数のパネルを備えた煙突であって、
前記煙突周壁の周方向又は軸方向に隣接するパネルの互いに重ね合わされた2つの連結端部どうしが連結部材にて連結されており、
前記連結部材が、
前記2つの連結端部を貫通するとともに軸力が導入された軸力部材と、
前記軸力部材の両端部に設けられ、それぞれ対面する連結端部に圧接されることによって前記軸力を保持する一対の圧接部と、
を含み、少なくとも一方の圧接部が、前記軸力部材とは別体の筒形状に形成されて前記軸力部材の外周に嵌められるとともに前記軸力部材に回転不能かつ引き抜き不能にカシメられていることを特徴とする。
当該煙突によれば、パネルどうしの連結作業を溶接で行なうよりも容易化できる。また、軸力部材の軸力によって2つの連結端部どうしが押し当てられることで、隣接するパネルどうしの連結部からの漏煙を防止できる。
【0006】
好ましくは、前記連結端部の延び方向の複数箇所に前記連結部材が設けられており、隣接する連結部材の間隔が、50mm以上250mm以下である。
これによって、漏煙を確実に防止できる。
【0007】
好ましくは、前記連結端部の厚みが、5mm以上30mm以下である。
これによって、連結端部の変形を防止でき、漏煙を確実に防止できる。
【0008】
好ましくは、前記軸力が、60kN以上である。
該軸力によって連結端部どうしを押し当てて密着させることができ、漏煙を確実に防止できる。
【発明の効果】
【0009】
本発明によれば、パネル組み立て式の煙突において、隣接するパネルどうしの連結作業を容易化でき、かつ連結部からの漏煙を防止できる。
【図面の簡単な説明】
【0010】
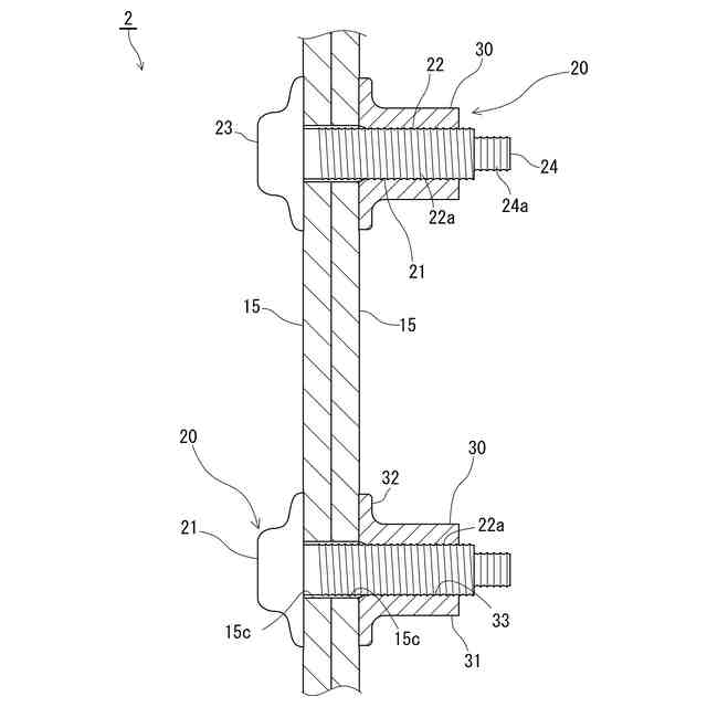
図1は、本発明の一実施形態に係る煙突の一部分を示す正面図である。
図2は、図1のII-II線に沿う前記煙突の平面断面図である。
図3は、前記煙突の分解平面断面図である。
図4は、図2の円部IVに示すパネル連結部の拡大平面断面図である。
図5は、前記パネル連結部の、図4のV-V線に沿う正面断面図である。
図6は、図1のVI-VI線に沿う断面図である。
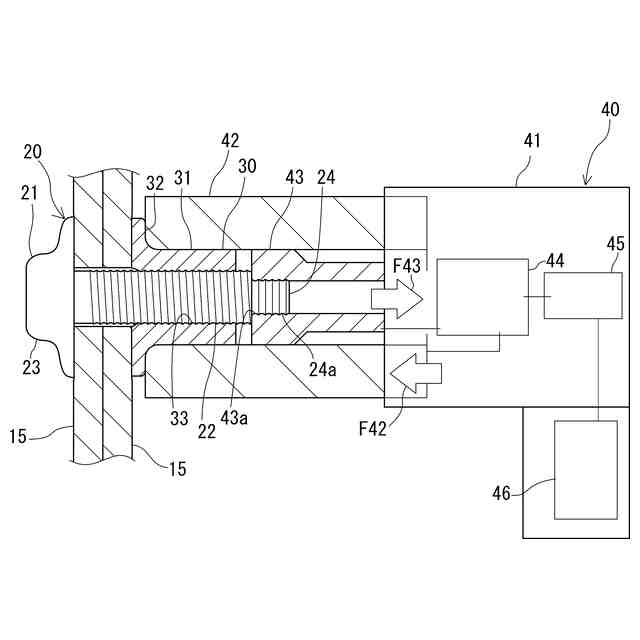
図7は、前記パネル連結部の締付操作前の状態の正面断面図である。
図8は、前記パネル連結部を締め付けた状態の正面断面図である。
【発明を実施するための形態】
(【0011】以降は省略されています)
この特許をJ-PlatPat(特許庁公式サイト)で参照する
関連特許
フジモリ産業株式会社
煙突管理システム
15日前
フジモリ産業株式会社
空調接続構造及び接続方法
1日前
個人
煙突煤払い掃除機
4か月前
個人
燃焼炉の操業方法
3か月前
個人
固形燃料ストーブ
28日前
個人
ウッドガスストーブ
2か月前
コーキ株式会社
煙突
2か月前
個人
形見の製造方法
2か月前
株式会社トヨトミ
石油燃焼器
1か月前
株式会社豊田自動織機
耐熱部材
2か月前
株式会社パロマ
燃焼装置
4か月前
タイム技研株式会社
流体混合装置
1日前
株式会社サイトウ工研
焚き火台
1か月前
三浦工業株式会社
ボイラ
5か月前
個人
有機物酸化分解資源化装置
15日前
株式会社フクハラ
充填物処理方法
5か月前
個人
回転キルンを利用した燻炭製造方法
5か月前
東京パイプ株式会社
着火器具
4か月前
株式会社タクマ
付着物除去システム
5か月前
リンナイ株式会社
燃焼装置
5か月前
三浦工業株式会社
燃焼システム
1か月前
三浦工業株式会社
水素燃焼ボイラ
2か月前
株式会社アドバンテック
燃焼装置
2か月前
株式会社アドバンテック
燃焼装置
2か月前
山形化成工業株式会社
手持ち式着火用具
3か月前
株式会社アドバンテック
燃焼装置
2か月前
大阪瓦斯株式会社
燃焼装置
1か月前
大陽日酸株式会社
燃焼バーナ
3か月前
三菱重工業株式会社
清掃装置
2か月前
株式会社島川製作所
有害成分加熱浄化装置
7日前
リンナイ株式会社
ガスマニホールド
7日前
個人
可燃性ガス燃焼装置
5か月前
株式会社日本サーモエナー
ガスバーナ
5か月前
極東開発工業株式会社
バイオマス燃焼システム
1か月前
極東開発工業株式会社
バイオマス燃焼システム
1か月前
中外炉工業株式会社
リジェネバーナ装置
5か月前
続きを見る
他の特許を見る