TOP
|
特許
|
意匠
|
商標
特許ウォッチ
Twitter
他の特許を見る
公開番号
2025176347
公報種別
公開特許公報(A)
公開日
2025-12-04
出願番号
2024082427
出願日
2024-05-21
発明の名称
流体混合装置
出願人
タイム技研株式会社
代理人
主分類
F23D
14/62 20060101AFI20251127BHJP(燃焼装置;燃焼方法)
要約
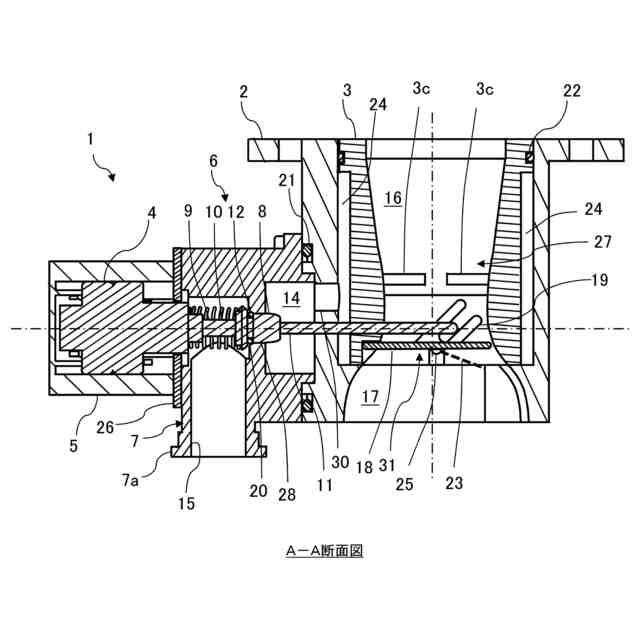
【課題】停電などでアクチュエータの通電が停止した場合には、流量調整弁によりガス供給路を閉止して燃料ガスの空気供給路への排出を抑止することが可能な流体混合装置を提供すること。
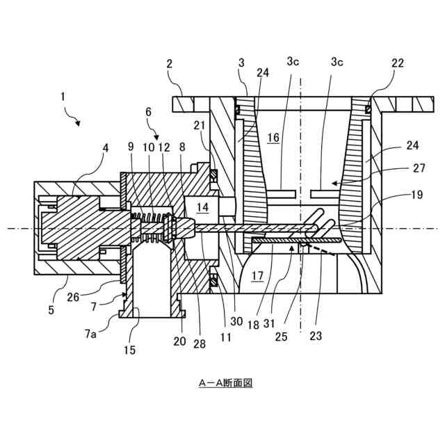
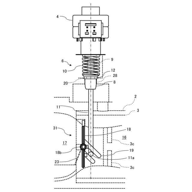
【解決手段】空気が絞り部を通過する際に流速が増加することによって生じる低圧領域に燃料ガスが流入する流入口3cを形成したベンチュリー部27を備えた流体混合装置1において、流入口3cへ通じる弁口28を開閉する弁体8と、弁口28の上端周面に設けられた弁座20と、通電により弁体8の移動を制御するモータ4と、弁体8を弁座20に付勢するコイルバネ10とから構成された流量調整弁6を流入口3cに設け、さらに、弁体8の上部周囲に弾性部材で形成された第1Oリング12を取り付けて、モータ4が非通電時には、コイルバネ10により弁体8の第1Oリング12が弁座20に着座して弁口28を完全閉止できるようにした。
【選択図】図2
特許請求の範囲
【請求項1】
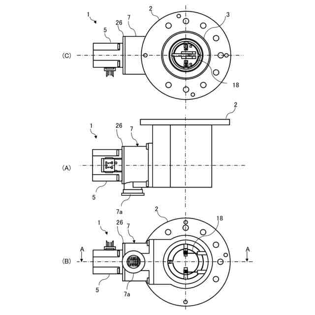
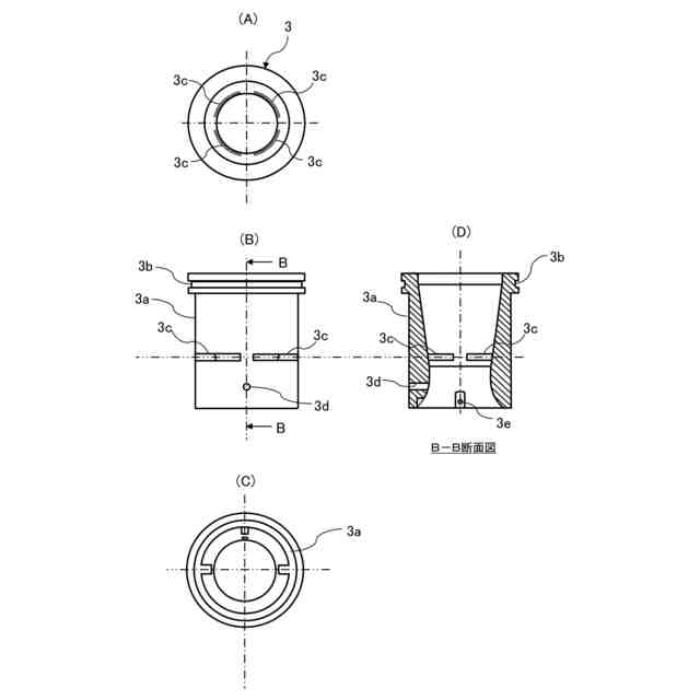
流路面積を狭くした絞り部を有し、第1流体が前記絞り部を通過する際に流速が増加することによって生じる低圧領域に第2流体が流入する流入口を形成したベンチュリー管を備えた流体混合装置であって、
前記第2流体が流入する前記流入口には、前記流入口から流入する前記第2流体の流入量を調整する第2流体流量調整手段を設けられており、
前記第2流体流量調整手段は、前記流入口を開閉する弁体と、該弁体が着座する弁座と、通電により前記弁体の移動を制御する駆動部と、前記弁体を前記弁座方向に付勢する第2付勢部とから構成され、
前記駆動部が非通電時には、前記第2付勢部により前記弁体が前記弁座に着座して前記流入口を完全閉止することが可能な閉止機能を備えたことを特徴とする流体混合装置。
続きを表示(約 850 文字)
【請求項2】
前記ベンチュリー管内には、前記第1流体の通気抵抗を大小に調整する第1流体抵抗調整手段を設けられており、
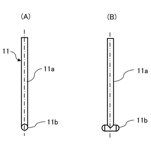
前記第1流体抵抗調整手段は、前記第2流体流量調整手段の前記弁体と略同一位置の前記ベンチュリー管内に回動自在に設けられたバタフライ弁と、該バタフライ弁を開弁方向(第1流体の流方向に対して水平方向)に付勢する第1付勢部と、前記第2流体流量調整手段の前記弁体方向に伸長し、一端が前記弁体の端末部に当接し、他端が前記バタフライ弁に設けられた連結部に連結するシャフトとから構成され、
前記シャフトは前記第1付勢部により前記バタフライ弁の前記連結部を介して前記第2流体流量調整手段の前記弁体の方向に付勢されており、
前記駆動部を通電して前記第2流体流量調整手段の前記弁体が前記第2付勢部の付勢力に抗して開弁方向に移動すると、前記シャフトが前記第2流体流量調整手段の前記弁体の方向に移動し、逆に前記第2流体流量調整手段の前記弁体が閉弁方向に移動すると、前記シャフトが前記第1付勢部の付勢力に抗して前記バタフライ弁の方向に移動して、前記シャフトが前記バタフライ弁の連結部に作用して、前記第2流体流量調整手段の前記弁体の開閉動作に連動して前記第1流体抵抗調整手段の前記バタフライ弁を開き姿勢と閉じ姿勢へ回動させる連動機構を備えたことを特徴とする請求項1に記載の流体混合装置。
【請求項3】
前記第1付勢部の付勢力は、前記第2付勢部の付勢力より小さく設定しており、これにより、前記駆動部が非通電時には、前記第2流体流量調整手段の前記第2付勢部の付勢力により前記弁体が閉弁方向に移動して前記弁座に着座して前記流入口を閉止するとともに、前記弁体に当接する前記シャフトが前記第1付勢部の付勢力に抗して前記バタフライ弁の方向に移動して、前記バタフライ弁の連結部に作用して、前記バタフライ弁を閉弁方向に回動して閉弁することを特徴とする請求項2に記載の流体混合装置。
発明の詳細な説明
【技術分野】
【0001】
本願に開示の技術は、第1流体が絞り部を通過する際に流速が増加することによって生じる低圧領域に第2流体が流入する流入口を形成したベンチュリー管を備えた流体混合装置に関する。
続きを表示(約 2,500 文字)
【背景技術】
【0002】
従来、燃料ガスの通気抵抗を大小に切換えるガス抵抗切換手段と空気の通気抵抗を調整するバタフライ弁とが連動するベンチュリー管を備えた流体混合装置が特許文献1などに開示されている。
【0003】
特許文献1には、燃料ガスを供給する流量調節弁を介設したガス供給路の下流端がファンの上流側の空気供給路に設けられたガス吸引部に接続され、ガス吸引部より上流側の空気供給路の部分の通気抵抗を大小に切換える空気抵抗切換手段と、流量調節弁よりも下流側のガス供給路の部分の通気抵抗を大小に切換えるガス抵抗切換手段とを備え、空気抵抗切換手段は、ガス吸引部よりも上流側の空気供給路の部分に回動自在に設けられたバタフライ弁で構成され、ガス抵抗切換手段は、ガス供給路内に開閉動作自在に設けられた切換弁で構成され、バタフライ弁の開き姿勢と閉じ姿勢への回動に連動して切換弁を開閉動作させて空気に燃料ガスを混合し、混合気をファンを介してバーナに供給する予混合装置が開示されている。
【先行技術文献】
【特許文献】
【0004】
特許第6608749号公報
【発明の開示】
【発明が解決しようとする課題】
【0005】
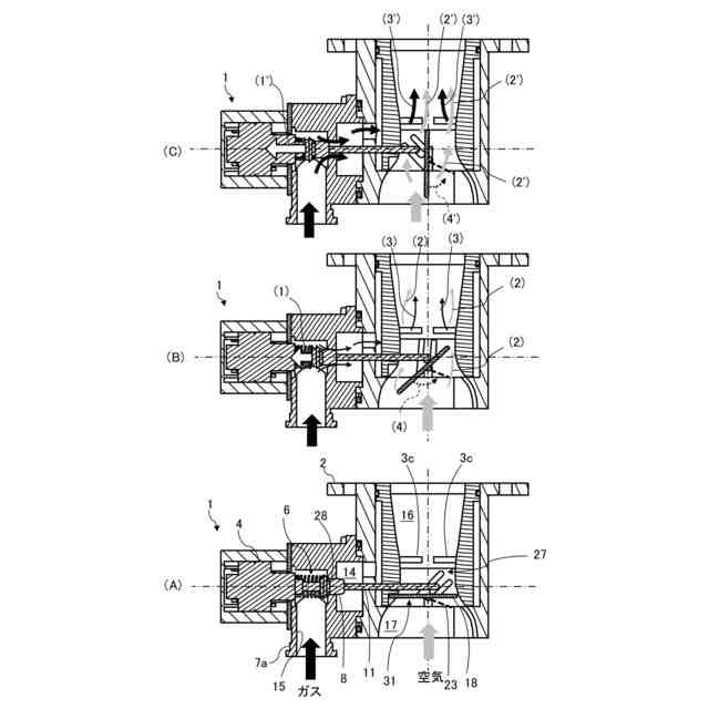
特許文献1に開示された予混合装置は、バタフライ弁の弁軸にカムを連結し、ステッピングモータ等のアクチュエータにより、バタフライ弁を回動するとともにカムも回動させるようになっている。そして、ガス抵抗切換手段の切換弁に連結したロッドをカムに当接させて、カムが回動とともにロッドを上下させて、バタフライ弁の開き姿勢と閉じ姿勢への回動に連動してガス抵抗切換手段の切換弁を開閉動作させるようになっている。そのため、停電などでステッピングモータ等のアクチュエータの通電が停止した場合において、ガス抵抗切換手段の切換弁が停止したカムの位置に従った位置で維持されることから、ガス抵抗切換手段の切換弁においてガス供給路を閉止することなく、切換弁の上流側に設けられた開閉弁(「閉止弁」に相当)が何らかの理由で故障した場合、ガス閉止ができなくなってしまう恐れがあった。
【0006】
本願に開示される技術は、上記の課題に鑑み提案されたものであって、流量調整弁にガス供給路を閉止する閉止機能を持たせて、停電などでアクチュエータの通電が停止した場合には、流量調整弁によりガス供給路を閉止して燃料ガスの空気供給路への排出を抑止することが可能な流体混合装置を提供することを目的とする。
【課題を解決するための手段】
【0007】
前記目的を達成するため請求項1に係る流体混合装置は、流路面積を狭くした絞り部を有し、第1流体が前記絞り部を通過する際に流速が増加することによって生じる低圧領域に第2流体が流入する流入口を形成したベンチュリー管を備えた流体混合装置であって、第2流体が流入する流入口には、流入口から流入する第2流体の流入量を調整する第2流体流量調整手段を設けられており、第2流体流量調整手段は、流入口を開閉する弁体と、弁体が着座する弁座と、通電により弁体の移動を制御する駆動部と、弁体を弁座方向に付勢する第2付勢部とから構成され、駆動部が非通電時には、第2付勢部により弁体が弁座に着座して流入口を完全閉止することが可能な閉止機能を備えたことを特徴とする。
【0008】
請求項2に係る流体混合装置は、請求項1に記載の流体混合装置であって、ベンチュリー管内には、第1流体の通気抵抗を大小に調整する第1流体抵抗調整手段を設けられており、第1流体抵抗調整手段は、第2流体流量調整手段の弁体と略同一位置のベンチュリー管内に回動自在に設けられたバタフライ弁と、バタフライ弁を開弁方向(第1流体の流方向に対して水平方向)に付勢する第1付勢部と、第2流体流量調整手段の弁体方向に伸長し、一端が弁体の端末部に当接し、他端がバタフライ弁に設けられた連結部に連結するシャフトとから構成され、シャフトは第1付勢部によりバタフライ弁の連結部を介して第2流体流量調整手段の弁体の方向に付勢されており、駆動部を通電して第2流体流量調整手段の弁体が第2付勢部の付勢力に抗して開弁方向に移動すると、シャフトが第2流体流量調整手段の弁体の方向に移動し、逆に第2流体流量調整手段の弁体が閉弁方向に移動すると、シャフトが第1付勢部の付勢力に抗してバタフライ弁の方向に移動して、シャフトがバタフライ弁の連結部に作用して、第2流体流量調整手段の弁体の開閉動作に連動して第1流体抵抗調整手段のバタフライ弁を開き姿勢と閉じ姿勢へ回動させる連動機構を備えたことを特徴とする。
【0009】
請求項3に係る流体混合装置は、請求項2に記載の流体混合装置であって、第1付勢部の付勢力は、第2付勢部の付勢力より小さく設定しており、これにより、駆動部が非通電時には、第2流体流量調整手段の第2付勢部の付勢力により弁体が閉弁方向に移動して弁座に着座して流入口を閉止するとともに、弁体に当接するシャフトが第1付勢部の付勢力に抗してバタフライ弁の方向に移動して、バタフライ弁の連結部に作用して、バタフライ弁を閉弁方向に回動して閉弁することを特徴とする。
【発明の効果】
【0010】
請求項1に係る流体混合装置では、第2流体(主に燃料ガス)流量調整手段は第2付勢部により弁体が閉弁方向に付勢されており、駆動部(ステッピングモータなど)の通電により第2流体流量調整手段の弁体が開閉制御され、駆動部の非通電時においては第2付勢部により弁体が弁座に着座して閉弁状態が維持される。そのため、何らかの原因で駆動部の通電が停止された場合、流量調整手段において弁体が弁座に着座して第2流体(主に燃料ガス)の流入口を完全閉止することが可能になり、上流側に設けられた閉止弁が何らかの理由で故障した場合であっても、第2流体の供給路を閉止することができる。
(【0011】以降は省略されています)
この特許をJ-PlatPat(特許庁公式サイト)で参照する
関連特許
個人
燃焼炉の操業方法
3か月前
個人
固形燃料ストーブ
27日前
個人
煙突煤払い掃除機
4か月前
個人
ウッドガスストーブ
2か月前
個人
形見の製造方法
2か月前
コーキ株式会社
煙突
2か月前
株式会社トヨトミ
石油燃焼器
1か月前
株式会社豊田自動織機
耐熱部材
2か月前
株式会社パロマ
燃焼装置
4か月前
タイム技研株式会社
流体混合装置
今日
株式会社トヨトミ
固体燃料燃焼器
6か月前
株式会社オメガ
熱風発生装置
6か月前
個人
有機物酸化分解資源化装置
14日前
株式会社サイトウ工研
焚き火台
1か月前
三浦工業株式会社
ボイラ
5か月前
個人
回転キルンを利用した燻炭製造方法
5か月前
株式会社フクハラ
充填物処理方法
5か月前
株式会社タクマ
付着物除去システム
5か月前
東京パイプ株式会社
着火器具
4か月前
三浦工業株式会社
燃焼システム
1か月前
大陽日酸株式会社
バーナ
6か月前
リンナイ株式会社
燃焼装置
5か月前
大陽日酸株式会社
バーナ
6か月前
大陽日酸株式会社
バーナ
6か月前
株式会社アドバンテック
燃焼装置
2か月前
株式会社アドバンテック
燃焼装置
2か月前
大阪瓦斯株式会社
燃焼装置
1か月前
株式会社アドバンテック
燃焼装置
2か月前
山形化成工業株式会社
手持ち式着火用具
3か月前
三浦工業株式会社
水素燃焼ボイラ
2か月前
三菱重工業株式会社
清掃装置
2か月前
株式会社島川製作所
有害成分加熱浄化装置
6日前
大陽日酸株式会社
燃焼バーナ
3か月前
リンナイ株式会社
ガスマニホールド
6日前
個人
可燃性ガス燃焼装置
5か月前
株式会社日本サーモエナー
ガスバーナ
5か月前
続きを見る
他の特許を見る