TOP
|
特許
|
意匠
|
商標
特許ウォッチ
Twitter
他の特許を見る
10個以上の画像は省略されています。
公開番号
2025176435
公報種別
公開特許公報(A)
公開日
2025-12-04
出願番号
2024082602
出願日
2024-05-21
発明の名称
橋梁用固定ベース及び橋梁用固定ベースの製造方法
出願人
株式会社ブリッジワン
代理人
個人
,
個人
,
個人
主分類
E01D
11/00 20060101AFI20251127BHJP(道路,鉄道または橋りょうの建設)
要約
【課題】基台板30を歪めることなくピン定着板20を強固に固定することが可能な橋梁用固定ベース及び橋梁用固定ベースの製造方法を提供する。
【解決手段】この橋梁用固定ベース及び橋梁用固定ベースの製造方法では、ピン定着板20のホゾ突起26を基台板30のホゾ受貫通孔32に嵌入した上で、基台板の両面から溶接を行う。このため、従来よりも短時間且つ少量の溶接材で強固な溶接を行うことができ、基台板30の反りや歪みの発生を防止することができる。これにより、歪みの矯正作業が不要となり、作業の効率化と時間短縮、作業者への負担軽減、コスト削減を図ることができる。また、基台板30に歪みや矯正作業による波打ちが発生せず、橋梁用固定ベースをガタつきなく対象物に設置することができる。
【選択図】図3
特許請求の範囲
【請求項1】
接続ピンを用いて吊橋用ケーブルもしくは橋梁構造物を支える橋梁用固定ベースであって、
前記接続ピンを保持するピン孔を備えたピン定着板と、
前記ピン定着板を略平行に複数固定する基台板と、を有し、
前記ピン定着板の基台板固定面には高さ方向に突出した略直方体のホゾ突起を備えるとともに、前記基台板には前記ホゾ突起と対応した方形のホゾ受貫通孔を有し、前記ホゾ受貫通孔に前記ホゾ突起が嵌入して溶接されたことを特徴とする橋梁用固定ベース。
続きを表示(約 610 文字)
【請求項2】
ホゾ突起の高さがホゾ受貫通孔よりも短く、前記ホゾ突起の嵌入により形成されるホゾ受貫通孔の凹み部分で裏面側の溶接がなされ、かつ前記凹み部分から裏面側の溶接ビードが基台板の裏面側に突出しないことを特徴とする請求項1記載の橋梁用固定ベース。
【請求項3】
ピン定着板と基台板とを有し、接続ピンを用いて吊橋用ケーブルもしくは橋梁構造物を支える橋梁用固定ベースの製造方法であって、
前記接続ピンを保持するピン孔を備えるとともに、前記基台板が固定する側の基台板固定面に前記基台板側に突出した略直方体のホゾ突起を有するピン定着板を取得するピン定着板取得工程と、
前記ホゾ突起と対応した方形のホゾ受貫通孔が複数略平行に形成された基台板を取得する基台板取得工程と、
前記ホゾ受貫通孔に前記ホゾ突起を嵌入して表面側と裏面側の双方から溶接し前記ピン定着板を前記基台板に固定する溶接工程と、
を有することを特徴とする橋梁用固定ベースの製造方法。
【請求項4】
ピン定着板取得工程において、ホゾ突起の高さをホゾ受貫通孔よりも短く形成し、
溶接工程において、前記ホゾ突起の嵌入により形成されるホゾ受貫通孔の凹み部分で裏面側の溶接を行い、かつ裏面側の溶接ビードを前記凹み部分から基台板の裏面側に突出させないことを特徴とする請求項3記載の橋梁用固定ベースの製造方法。
発明の詳細な説明
【技術分野】
【0001】
本発明は、接続ピンを用いて吊橋用ケーブルもしくは橋梁構造物を支える橋梁用固定ベース及びその製造方法に関するものである。
続きを表示(約 3,100 文字)
【背景技術】
【0002】
一般的な吊橋は、両岸に立設した主索塔間に主索を張り亘し、この主索から垂下した複数のハンガーケーブルによって橋桁(橋板)を吊って保持する。そして、主索の両端は地中や崖壁面と固定したアンカーによって保持される。ここで、下記[特許文献1]には小規模吊橋のアンカー構造に関する発明が開示されている。
【0003】
そして、アンカーと主索との接続方法としては、ケーブル固定ベース(橋梁用固定ベース)を介したピン定着が多く使用されている。このピン定着用のケーブル固定ベースでは、基台板にピン孔を備えたピン定着板を略平行に複数固定する。また、主索の端部に例えばアイエンド金具等のリング状部材を設置して輪状端とする。そして、主索の輪状端にピン孔にて保持される接続ピンを通すことで、主索とケーブル固定ベースとを固定する。尚、このときのピン定着板と基台板との固定は、溶接により行うのが一般的である。そして、これらのピン定着板には大きな荷重が掛かるため基台板に対して強固に溶接する必要がある。
【先行技術文献】
【特許文献】
【0004】
特開平8-105013号公報
【発明の概要】
【発明が解決しようとする課題】
【0005】
ここで、従来のケーブル固定ベースの基台板30とピン定着板20との溶接状態の模式図を図9に示す。尚、図中の符号Aは溶接ビードAを示す。前述のように、ピン定着板20と基台板30とは強固に溶接する必要がある。このため、溶接には時間を要し溶接部分が高温となる。これにより、基台板30は熱膨張し、また冷却時に収縮して、図9(a)に示すような反りや歪みが生じる。このため、ピン孔22が平行にならず接続ピン24を通すことができない。このため、再度、加熱しながら物理的に力を加えるなどして、基台板30の歪みを矯正する必要がある。この作業は主に手作業によるものであり、非効率で時間を要することに加え作業者にとっても負担が大きいという問題点がある。また、基台板30が平坦に戻ることは難しく、多くは図9(b)に示すように波打った状態となる。このような基台板30が波打ったケーブル固定ベースの使用は施工上、好ましいものではない。
【0006】
本発明は上記事情に鑑みてなされたものであり、基台板30を歪めることなくピン定着板20を強固に固定することが可能な橋梁用固定ベース及び橋梁用固定ベースの製造方法の提供を目的とする。
【課題を解決するための手段】
【0007】
本発明は、
(1)接続ピン24を用いて吊橋用ケーブルもしくは橋梁構造物を支える橋梁用固定ベースであって、
前記接続ピン24を保持するピン孔22を備えたピン定着板20と、前記ピン定着板20を略平行に複数固定する基台板30と、を有し、
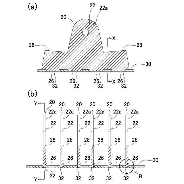
前記ピン定着板20の基台板固定面には高さ方向に突出した略直方体のホゾ突起26を備えるとともに、前記基台板30には前記ホゾ突起26と対応した方形のホゾ受貫通孔32を有し、前記ホゾ受貫通孔32に前記ホゾ突起26が嵌入して溶接されたことを特徴とする橋梁用固定ベースを提供することにより、上記課題を解決する。
(2)ホゾ突起26の高さがホゾ受貫通孔32よりも短く、前記ホゾ突起26の嵌入により形成されるホゾ受貫通孔32の凹み部分で裏面側の溶接がなされ、かつ前記凹み部分から裏面側の溶接ビードAが基台板30の裏面側に突出しないことを特徴とする上記(1)記載の橋梁用固定ベースを提供することにより、上記課題を解決する。
(3)ピン定着板20と基台板30とを有し、接続ピン24を用いて吊橋用ケーブルもしくは橋梁構造物を支える橋梁用固定ベースの製造方法であって、
前記接続ピン24を保持するピン孔22を備えるとともに、前記基台板30が固定する側の基台板固定面に前記基台板30側に突出した略直方体のホゾ突起26を有するピン定着板20を取得するピン定着板取得工程と、
前記ホゾ突起26と対応した方形のホゾ受貫通孔32が複数略平行に形成された基台板30を取得する基台板取得工程と、
前記ホゾ受貫通孔32に前記ホゾ突起26を嵌入して表面側と裏面側の双方から溶接し前記ピン定着板20を前記基台板30に固定する溶接工程と、を有することを特徴とする橋梁用固定ベースの製造方法を提供することにより、上記課題を解決する。
(4)ピン定着板取得工程において、ホゾ突起26の高さをホゾ受貫通孔32よりも短く形成し、
溶接工程において、前記ホゾ突起26の嵌入により形成されるホゾ受貫通孔32の凹み部分で裏面側の溶接を行い、かつ裏面側の溶接ビードAを前記凹み部分から基台板30の裏面側に突出させないことを特徴とする上記(3)記載の橋梁用固定ベースの製造方法を提供することにより、上記課題を解決する。
【発明の効果】
【0008】
本発明に係る橋梁用固定ベース及び橋梁用固定ベースの製造方法では、ピン定着板のホゾ突起を基台板のホゾ受貫通孔に嵌入した上で、基台板の両面から溶接を行う。このため、従来よりも短時間且つ少量の溶接材で強固な溶接を行うことができる。これにより、基台板の反りや歪みを防止することができる。このため、歪みの矯正作業が不要となり、作業の効率化と時間短縮、作業者への負担軽減、コスト削減を図ることができる。また、橋梁用固定ベースをガタつきなく対象物に設置することができる。
また、ホゾ突起をホゾ受貫通孔よりも短く形成することで、基台板の裏面側にホゾ突起との寸法差による凹みが生じる。そして、裏面側からの溶接はこの凹み部分で行うことで、基台板の裏面に溶接ビードの盛り上がりを形成することなくピン定着板の溶接を行うことができる。これにより、橋梁用固定ベースをガタつきなく対象物に設置することができる。
【図面の簡単な説明】
【0009】
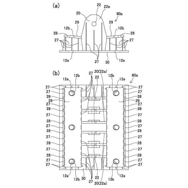
本発明に係る橋梁用固定ベースとしてのケーブル固定ベースを示す図である。
本発明に係る橋梁用固定ベースとしてのピン支承の上沓及び下沓を示す図である。
本発明に係る橋梁用固定ベースのピン定着板と基台板を示す図である。
本発明に係るケーブル固定ベースの基台板とピン定着板の固定状態の模式断面図である。
本発明に係るケーブル固定ベースの溶接部分の拡大図である。
本発明に係るケーブル固定ベースの製造方法を説明する図である。
本発明に係るケーブル固定ベースの設置方法を説明する図である。
本発明に係るケーブル固定ベースの設置方法を説明する図である。
従来のケーブル固定ベースの溶接部分の拡大図である。
【発明を実施するための形態】
【0010】
本発明に係る橋梁用固定ベース及び橋梁用固定ベースの製造方法の実施の形態について図面に基づいて説明する。ここで、図1は本発明に係る橋梁用固定ベースとしてのケーブル固定ベース80aを示す図であり、図2(a)、(b)は本発明に係る橋梁用固定ベースとしてのピン支承90の上沓80b及び下沓80cを示す図である。また、図3は本発明のケーブル固定ベース80a、上沓80b、下沓80cのピン定着板20と基台板30を示す図である。
(【0011】以降は省略されています)
この特許をJ-PlatPat(特許庁公式サイト)で参照する
関連特許
株式会社ブリッジワン
橋梁用固定ベース及び橋梁用固定ベースの製造方法
今日
株式会社熊谷組
床版
1か月前
株式会社熊谷組
床版
1日前
株式会社熊谷組
床版
1か月前
白出商事株式会社
縁石銘板(名板)
1か月前
株式会社セイトク
防雪パネル
1か月前
株式会社パロマ
融雪装置
6日前
コスモテック株式会社
表示装置
27日前
株式会社 林物産発明研究所
道路安全体
14日前
株式会社NIPPO
斜面用ローラ
1か月前
株式会社NIPPO
斜面用ローラ
1か月前
株式会社ササキコーポレーション
作業機
1か月前
株式会社NIPPO
距離補正装置
1か月前
戸田建設株式会社
コンクリート構造
1か月前
株式会社NIPPO
切削用制御装置
1か月前
三信工業株式会社
床版架設装置
1か月前
桑名金属工業株式会社
融雪マットおよび融雪方法
1か月前
戸田建設株式会社
鋼製ブラケットの取付装置
1か月前
東亜グラウト工業株式会社
防護柵の支柱構造
1か月前
戸田建設株式会社
鋼製ブラケットの取付装置
1か月前
西松建設株式会社
耐震補強方法
6日前
株式会社丸治コンクリート工業所
防護柵
8日前
株式会社川金コアテック
橋梁用鋼弾塑性ダンパー
22日前
西尾レントオール株式会社
コーンベット型電源装置
1か月前
日鉄神鋼建材株式会社
補強金具、及び支柱取付構造
1か月前
個人
充填剤及びそれが充填された人工芝
6日前
株式会社NIPPO
バンク用建設機械サポータ装置
1か月前
株式会社NIPPO
アスファルトスタッカ制御装置
1か月前
日立建機株式会社
転圧機械
1か月前
鹿島建設株式会社
床版架設方法
1か月前
日鉄建材株式会社
吊り材で支持された足場用床パネル
1か月前
株式会社日本コンポジット工業
壁用構造体
1か月前
オリエンタル白石株式会社
補強鋼板及び排土方法
1か月前
鹿島建設株式会社
壁高欄の施工方法
7日前
三井住友建設株式会社
床版拡幅工法
1か月前
宮地エンジニアリング株式会社
ワイヤブリッジの設置方法
1か月前
続きを見る
他の特許を見る