TOP
|
特許
|
意匠
|
商標
特許ウォッチ
Twitter
他の特許を見る
10個以上の画像は省略されています。
公開番号
2025176329
公報種別
公開特許公報(A)
公開日
2025-12-04
出願番号
2024082395
出願日
2024-05-21
発明の名称
空調パネル
出願人
ポルタパーク株式会社
代理人
個人
,
個人
主分類
F24F
5/00 20060101AFI20251127BHJP(加熱;レンジ;換気)
要約
【課題】より適切に運転を行うことが可能な空調パネルを提供する。
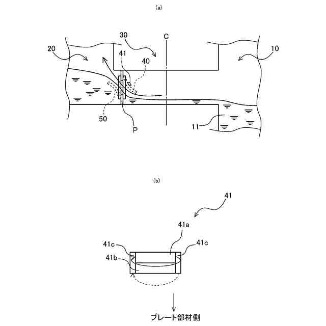
【解決手段】空調パネルは、パネル状に形成され空調効果を得るものであって、液冷媒の貯留部11を有し、一面側からの熱によって冷媒を蒸発させる蒸発器10と、蒸発器10からの蒸気冷媒を導入して、他面側への放熱によって凝縮液化させる凝縮器20と、蒸発器10と凝縮器20とを接続し、冷媒を流通させる冷媒流路30と、周囲温度に基づいて、冷媒流路30における冷媒の流通を許容する開放状態と、冷媒の流通を禁止する閉塞状態とで切り替え可能な感温バルブ40とを備え、感温バルブ40は、凝縮器20内となる位置又は蒸発器10よりも凝縮器20に近い位置に設けられて開放状態と閉塞状態とを切り替える。
【選択図】図2
特許請求の範囲
【請求項1】
パネル状に形成され空調効果を得る空調パネルであって、
液冷媒の貯留部を有し、一面側からの熱によって冷媒を蒸発させる蒸発器と、
前記蒸発器からの蒸気冷媒を導入して、他面側への放熱によって凝縮液化させる凝縮器と、
前記蒸発器と前記凝縮器とを接続し、冷媒を流通させる冷媒流路と、
周囲温度に基づいて、前記冷媒流路における冷媒の流通を許容する開放状態と、冷媒の流通を禁止する閉塞状態とで切り替え可能な感温バルブと、を備え、
前記感温バルブは、前記凝縮器内となる位置又は前記蒸発器よりも前記凝縮器に近い位置に設けられて前記開放状態と前記閉塞状態とを切り替える
ことを特徴とする空調パネル。
続きを表示(約 610 文字)
【請求項2】
前記感温バルブは、前記周囲温度が所定温度未満であるときに前記開放状態となり、前記周囲温度が前記所定温度以上であるときに前記閉塞状態となるものである
ことを特徴とする請求項1に記載の空調パネル。
【請求項3】
前記感温バルブは、前記周囲温度が所定温度以上であるときに前記開放状態となり、前記周囲温度が前記所定温度未満のときに前記閉塞状態となるものである
ことを特徴とする請求項1に記載の空調パネル。
【請求項4】
前記凝縮器は、液冷媒の貯留部を有し、前記他面側からの熱によっても冷媒を蒸発させる第1の蒸発凝縮器であって、
前記蒸発器は、前記他面側からの熱によって蒸発した蒸気冷媒を導入して前記一面側への放熱によって凝縮液化させる第2の蒸発凝縮器であって、
前記冷媒流路は、第1冷媒流路と、第2冷媒流路とを備え、
前記感温バルブは、第1感温バルブと、第2感温バルブとを備え、
前記第1感温バルブは、前記周囲温度が第1の所定温度未満であるときに前記開放状態となり、前記周囲温度が前記第1の所定温度以上であるときに前記閉塞状態となると共に、前記第1の蒸発凝縮器内又は前記第2の蒸発凝縮器よりも前記第1の蒸発凝縮器に近い位置に設けられて前記開放状態と前記閉塞状態とを切り替える
ことを特徴とする請求項1に記載の空調パネル。
発明の詳細な説明
【技術分野】
【0001】
本発明は、空調パネルに関する。
続きを表示(約 2,000 文字)
【背景技術】
【0002】
従来、2枚の板材、冷媒、及びスロープを備え、一方の板材側から他方の板材側へ熱貫流させることで空調機能を発揮する空調パネルが提案されている(特許文献1参照)。この空調パネルにおいて、2枚の板材は両者間で挟まれる空間を形成し、冷媒は2枚の板材の間に封入されている。スロープは、2枚の板材のうちの一方の板材側に冷媒の貯留部を形成しており、一方の板材側の熱によって貯留部内の冷媒が蒸発する。蒸発した冷媒は、他方の板材側に到達し、他方の板材側において凝縮する。凝縮した冷媒は自重を利用して再度貯留部に戻る。これにより、スロープは、冷媒が循環する循環構造とされている。
【0003】
このような構造体によれば、一方の板材側からの熱によって冷媒が蒸発する環境下において、一方の板材側は蒸発熱が奪われて冷却化される。これに対して、蒸発した冷媒は他方の板材側に到達すると冷却されて凝縮液化し、他方の板材側からは凝縮熱が破棄されることとなる。結果として一方の板材側の熱が他方の板材側へ貫流することとなる。これにより、例えば夏場では室内側が一方の板材となることで、室内を快適化することができる。しかも、凝縮液化した冷媒は自重によって貯留部に戻ることから、電気エネルギーを要することなく、上記の熱貫流を継続的に行うことができる。
【0004】
しかし、このような構造体は、熱貫流方向が一方の板材側から他方の板材側となっている。このため、夏場に室内の熱を室外へ貫流させる向きで取り付られた構造体は、構造体自体を表裏反転しない限り、冬場のエアコン等の熱を室外に逃がしてしまうこととなる。よって、表裏反転できない場合には冬場の室内の熱を室外に逃がすことがないように構造体を不稼働状態とする構造が望まれる。
【0005】
そこで、本件発明者は、蒸発器側(一方の板材側であって液冷媒が貯留される側)の温度が所定温度以上であるときに冷媒の流路を開放し、蒸発器側温度が所定温度以下の特定温度未満のときに冷媒の流路を閉塞する感温バルブを備えた空調パネルを提案している(例えば特許文献2参照)。この空調パネルは、例えば夏場のように室温が高いときには感温バルブが開いて室内の熱を室外へ貫流させることができる。一方、冬場においては室温が所定温度以上にならない限り、感温バルブは閉じられており冷媒循環を禁止して室内の熱が室外に逃げないようにすることができる。
【先行技術文献】
【特許文献】
【0006】
特開2019-112886号公報
特開2019-218768号公報
【発明の概要】
【発明が解決しようとする課題】
【0007】
ここで、特許文献2においては空調パネルを冷房利用していることから、この空調パネルを暖房利用する場合、表裏が逆となって室外側に蒸発器が位置し、室内側に凝縮器が位置することとなる。そして、室外側である大気温(蒸発器側の温度)が所定温度以上である場合に、感温バルブが開いて熱を室内に取り込むこととなる。
【0008】
しかし、このような暖房利用では夏場に熱を室内に取り込むことにもなってしまう。そこで、室外が充分に寒ければ室内において暖房を必要としていると推定して暖房動作を許容する考え方もある。しかし、空調パネルを冬場に暖房利用する場合、効率を考えて例えば室外面には日射吸収率を高く(例えば日射吸収率80%以上)、且つ放射率を低く(例えば放射率20%以下)する処理が施される。このため、冬場の日中には室外面の処理によって室外面の温度は大気温よりも充分に高くなってしまい、室外が充分に寒いと判断できなくなる。この結果、暖房動作が行われなくなってしまい、蒸発器側の温度に基づいて暖房運転を行うことが困難となる。
【0009】
また、冷房運転においても以下の問題がある。まず、建物外部から室内への侵入熱は、外面温度が内面温度より高い時に起こるため、外面温度が高い時には内面温度が上昇中である。外面温度が高く室内温度が快適範囲以上の高温になることが予測されるときには、予め快適温度範囲の下限、例えば20℃程度まで放熱することが望ましい。逆に室外温度が低い時には室内温度は低下傾向にある可能性が高く、快適温度範囲の上限程度であっても放熱しないことが望ましい。このように考えると、蒸発器側となる室内の温度に基づいて冷房動作を行ったり冷房動作を禁止したりすることは決して適切といえない場合もある。
【0010】
本発明は、このような問題を解決するためになされたものであり、その目的とするところは、より適切に運転を行うことが可能な空調パネルを提供することにある。
【課題を解決するための手段】
(【0011】以降は省略されています)
この特許をJ-PlatPat(特許庁公式サイト)で参照する
関連特許
ポルタパーク株式会社
空調パネル
7日前
ポルタパーク株式会社
空調パネル
7日前
ポルタパーク株式会社
空調パネル
7日前
個人
集熱器具
1か月前
株式会社トヨトミ
五徳
1か月前
株式会社コロナ
空調装置
3か月前
個人
UFO型空気清浄機
22日前
株式会社コロナ
空調装置
2か月前
個人
油ハネ防止カーテン
1か月前
株式会社コロナ
空調装置
3か月前
株式会社コロナ
空調装置
2か月前
株式会社コロナ
加湿装置
2か月前
株式会社コロナ
空調装置
1か月前
株式会社コロナ
空調装置
1か月前
個人
太陽光パネル傾斜装置
1か月前
株式会社コロナ
風呂給湯機
3か月前
株式会社コロナ
空気調和機
3か月前
個人
住宅換気空調システム
3か月前
株式会社コロナ
温水暖房装置
1か月前
株式会社コロナ
貯湯式給湯機
2か月前
株式会社KDW
加熱調理器具
今日
株式会社コロナ
貯湯式給湯機
2か月前
株式会社コロナ
直圧式給湯機
3か月前
株式会社コロナ
暖房システム
2か月前
個人
シンプルクーラー
1か月前
ホーコス株式会社
換気扇取付枠
3か月前
三菱電機株式会社
換気扇
14日前
三菱電機株式会社
換気扇
1か月前
三菱電機株式会社
換気扇
1か月前
三菱電機株式会社
換気扇
1か月前
株式会社コロナ
輻射式冷房装置
3か月前
株式会社パロマ
ガスコンロ
1か月前
株式会社パロマ
ガスコンロ
1か月前
株式会社ノーリツ
給湯装置
2か月前
株式会社ツインバード
加熱調理器
2か月前
株式会社コロナ
潜熱回収型給湯機
6日前
続きを見る
他の特許を見る