TOP
|
特許
|
意匠
|
商標
特許ウォッチ
Twitter
他の特許を見る
10個以上の画像は省略されています。
公開番号
2025176330
公報種別
公開特許公報(A)
公開日
2025-12-04
出願番号
2024082396
出願日
2024-05-21
発明の名称
空調パネル
出願人
ポルタパーク株式会社
代理人
個人
,
個人
主分類
F24F
5/00 20060101AFI20251127BHJP(加熱;レンジ;換気)
要約
【課題】より適切に運転を行うことが可能な空調パネルを提供する。
【解決手段】空調パネルは、パネル状に形成され空調効果を得るものであって、蒸発器10と、凝縮器20と、蒸発器10からの蒸気冷媒を凝縮器20に導く蒸気流路30と、凝縮器20の液冷媒を蒸発器10に導く液流路と、蒸気流路30に設けられ温度条件を満たした場合に蒸発器10側に動作して開放状態となり、温度条件を満たさない場合に凝縮器20側に動作して閉塞状態となる感温バルブ50と、蒸気流路30に設けられ蒸発器10
側の圧力が凝縮器20側の圧力よりも所定圧力以上高い場合に凝縮器20側に動作して開放状態となり、蒸発器10側の圧力が凝縮器20側の圧力よりも高くない場合に蒸発器10側に動作して閉塞状態となる逆止弁60とを備える。
【選択図】図2
特許請求の範囲
【請求項1】
パネル状に形成され空調効果を得る空調パネルであって、
液冷媒の貯留部を有し、一面側からの熱によって冷媒を蒸発させる蒸発器と、
前記蒸発器からの蒸気冷媒を導入して、他面側への放熱によって凝縮液化させる凝縮器と、
前記蒸発器からの蒸気冷媒を前記凝縮器に導く蒸気流路と、
前記凝縮器の液冷媒を前記蒸発器に導く液流路と、
前記蒸気流路に設けられ温度条件を満たした場合に前記蒸発器側に動作して開放状態となり、前記温度条件を満たさない場合に前記凝縮器側に動作して閉塞状態となる感温バルブと、
前記蒸気流路に設けられ前記蒸発器側の圧力が前記凝縮器側の圧力よりも所定圧力以上高い場合に前記凝縮器側に動作して開放状態となり、前記蒸発器側の圧力が前記凝縮器側の圧力よりも高くない場合に前記蒸発器側に動作して閉塞状態となる逆止弁と、
を備えることを特徴とする空調パネル。
続きを表示(約 1,600 文字)
【請求項2】
前記蒸気流路に設けられた貫通孔を有する板状のプレート部材をさらに備え、
前記感温バルブは、前記プレート部材の前記蒸発器側に設けられ、前記温度条件を満たした場合に前記プレート部材から離間する方向に動作して前記貫通孔を開放した開放状態となり、前記温度条件を満たさない場合に前記プレート部材側に動作して前記貫通孔を塞ぐ閉塞状態となり、
前記逆止弁は、前記感温バルブが設けられる前記プレート部材の前記凝縮器側に設けられ、前記蒸発器側の圧力が前記凝縮器側の圧力よりも所定圧力以上高い場合に前記プレート部材から離間する方向に動作して前記貫通孔を開放した開放状態となり、前記蒸発器側の圧力が前記凝縮器側の圧力よりも所定圧力以上高くない場合に前記プレート部材側に動作して前記貫通孔を塞ぐ閉塞状態となる
ことを特徴とする請求項1に記載の空調パネル。
【請求項3】
前記感温バルブは、前記凝縮器側の温度が所定温度以上である場合に前記温度条件を満たして開放状態となる
ことを特徴とする請求項1に記載の空調パネル。
【請求項4】
前記感温バルブは、前記凝縮器側の温度が所定温度未満である場合に前記温度条件を満たして開放状態となる
ことを特徴とする請求項1に記載の空調パネル。
【請求項5】
前記凝縮器は、冷媒の貯留部を有し、前記他面側からの熱によっても冷媒を蒸発させる第1の蒸発凝縮器であって、
前記蒸発器は、前記他面側からの熱によって蒸発した蒸気冷媒を導入して前記一面側への放熱によって凝縮液化させる第2の蒸発凝縮器であって、
前記蒸気流路は、前記第1の蒸発凝縮器からの蒸気冷媒を前記第2の蒸発凝縮器に導くと共に、前記第2の蒸発凝縮器からの蒸気冷媒を前記第1の蒸発凝縮器に導き、
前記液流路は、前記第1の蒸発凝縮器の液冷媒を前記第2の蒸発凝縮器に導くと共に、前記第2の蒸発凝縮器の液冷媒を前記第1の蒸発凝縮器に導き、
前記感温バルブは、
第1の温度条件を満たした場合に前記第2の蒸発凝縮器側に動作して開放状態となり、前記第1の温度条件を満たさない場合に前記第1の蒸発凝縮器側に動作して閉塞状態となる第1感温バルブと、
第2の温度条件を満たした場合に前記第1の蒸発凝縮器側に動作して開放状態となり、前記第2の温度条件を満たさない場合に前記第2の蒸発凝縮器側に動作して閉塞状態となる第2感温バルブと、を有し、
前記逆止弁は、
前記第1感温バルブと対応して配置され、前記第2の蒸発凝縮器側の圧力が前記第1の蒸発凝縮器側の圧力よりも第1の所定圧力以上高い場合に前記第1の蒸発凝縮器側に動作して開放状態となり前記第2の蒸発凝縮器側の圧力が前記第1の蒸発凝縮器側の圧力よりも前記第1の所定圧力以上高くない場合に前記第2の蒸発凝縮器側に動作して閉塞状態となる第1逆止弁と、
前記第2感温バルブと対応して配置され、前記第1の蒸発凝縮器側の圧力が前記第2の蒸発凝縮器側の圧力よりも第2の所定圧力以上高い場合に前記第2の蒸発凝縮器側に動作して開放状態となり前記第1の蒸発凝縮器側の圧力が前記第2の蒸発凝縮器側の圧力よりも前記第2の所定圧力以上高くない場合に前記第2の蒸発凝縮器側に動作して閉塞状態となる第2逆止弁と、を有し、
前記第1感温バルブ、前記第2感温バルブ、前記第1逆止弁、及び、前記第2逆止弁は、同一配管内に配置されている
ことを特徴とする請求項1に記載の空調パネル。
【請求項6】
前記蒸気流路と前記液流路とは同一の共用流路とされ、当該共用流路に前記感温バルブと前記逆止弁とが設けられている
ことを特徴とする請求項1から請求項5のいずれか1項に記載の空調パネル。
発明の詳細な説明
【技術分野】
【0001】
本発明は、空調パネルに関する。
続きを表示(約 2,300 文字)
【背景技術】
【0002】
従来、一面側に蒸発器を形成し、他面側に凝縮器を形成した空調パネルが提案されている(特許文献1参照)。この空調パネルは、蒸発器と凝縮器とが冷媒流路によって接続され、冷媒流路には、2つの感温バルブが設けられている。第1感温バルブは、一面側の温度が所定温度以上で開放される。第2感温バルブは、他面側の温度が所定温度未満で開放される。これにより、例えば一面側が室内側であり他面側が室外側であるとすると、室内側が所定温度以上であり室外側が所定温度未満であるときに冷媒流路が開放され、空調パネルは冷房運転を行うことができる。
【先行技術文献】
【特許文献】
【0003】
特開2021-28555号公報
【発明の概要】
【発明が解決しようとする課題】
【0004】
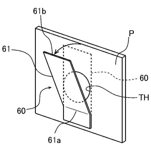
しかし、特許文献1に記載の空調パネルは、冷媒流路に2つの感温バルブが設けられていることから、逆圧によって開いてしまい、好ましくない流路が形成されてしまう場合がある。図14は、比較例に係る冷媒流路の一例を示す概略図である。図14に示すように、冷媒流路を有する空調パネルは、冷房運転を行うものであって、例えば蒸発器側が室内側とされ、凝縮器側が室外側とされている。この場合において、冷媒流路の蒸発器側にプレート部材Pと第1感温バルブTV1とが設けられ、冷媒流路の凝縮器側にプレート部材Pと第2感温バルブTV2とが設けられているとする。
【0005】
第1感温バルブTV1は、いわゆるウォームオープンのバルブであって、温度磁石TV1a、及び動作板TV1bを備え、周囲温度が所定温度以上で開放される。第2感温バルブTV2は、いわゆるコールドオープンのバルブであって、温度磁石TV2a、及び動作板TV2bを備え、周囲温度が所定温度未満で開放される。ここで、例えば蒸発器側となる室内が暖かく第1感温バルブTV1が開放されたとする(破線参照)。この場合において、空調パネルの室外面に日光があたり日射の影響から凝縮器内が高圧化したとする。この場合、第2感温バルブTV2は、温度条件を満たさなくても、凝縮器側の圧力によって開放してしまう(破線参照)。
【0006】
このように、冷媒流路に2つの感温バルブTV1,TV2が設けられている場合、圧力の関係から好ましくない流路が形成されてしまう場合がある。さらに、冷媒流路に2つの感温バルブTV1,TV2が設けられている場合、両者の温度設定にズレが生じた場合には、両方が閉じて空調パネルが動かなくなったり、両方が開いて好ましくない流路が形成されてしまったりすることがあり得る。よって、より適切な運転を行うという点で課題があるものであった。
【0007】
本発明は、このような問題を解決するためになされたものであり、その目的とするところは、より適切に運転を行うことが可能な空調パネルを提供することにある。
【課題を解決するための手段】
【0008】
本発明に係る空調パネルは、パネル状に形成され空調効果を得る空調パネルであって、液冷媒の貯留部を有し、一面側からの熱によって冷媒を蒸発させる蒸発器と、前記蒸発器からの蒸気冷媒を導入して、他面側への放熱によって凝縮液化させる凝縮器と、前記蒸発器からの蒸気冷媒を前記凝縮器に導く蒸気流路と、前記凝縮器の液冷媒を前記蒸発器に導く液流路と、前記蒸気流路に設けられ温度条件を満たした場合に前記蒸発器側に動作して開放状態となり、前記温度条件を満たさない場合に前記凝縮器側に動作して閉塞状態となる感温バルブと、前記蒸気流路に設けられ前記蒸発器側の圧力が前記凝縮器側の圧力よりも所定圧力以上高い場合に前記凝縮器側に動作して開放状態となり、前記蒸発器側の圧力が前記凝縮器側の圧力よりも高くない場合に前記蒸発器側に動作して閉塞状態となる逆止弁と、を備える。
【発明の効果】
【0009】
本発明によれば、より適切に運転を行うことが可能な空調パネルを提供することができる。
【図面の簡単な説明】
【0010】
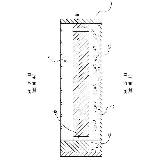
第1実施形態に係る空調パネルを示す断面図である。
図1に示した蒸気流路の拡大図である。
図2に示した蒸気流路内の詳細を示す構成図であって、(a)は図2に示したプレート部材の一面側を示す斜視図であり、(b)は(a)の一部構成を示す構成図である。
図2に示したプレート部材の他面側を示す斜視図である。
図1に示した液流路内の詳細を示す拡大図である。
蒸気流路付近の変形例を示す拡大図である。
液流路の変形例を示す拡大断面図である。
第2実施形態に係る空調パネルを示す断面図である。
第2実施形態に係る空調パネルの詳細を示す構成図であって、(a)は蒸気流路の拡大図であり、(b)は(a)の一部構成を示す拡大図である。
第3実施形態に係る空調パネルを示す断面図である。
図10に示した共用流路に設けられる構成の一面側を示す斜視図である。
図10に示した共用流路に設けられる構成の他面側を示す斜視図である。
第1実施形態に係る蒸気流路における感温バルブと逆止弁との変形例を示す拡大図である。
比較例に係る冷媒流路の一例を示す概略図である。
【発明を実施するための形態】
(【0011】以降は省略されています)
この特許をJ-PlatPat(特許庁公式サイト)で参照する
関連特許
ポルタパーク株式会社
空調パネル
7日前
ポルタパーク株式会社
空調パネル
7日前
ポルタパーク株式会社
空調パネル
7日前
個人
集熱器具
1か月前
株式会社トヨトミ
五徳
1か月前
株式会社コロナ
空調装置
1か月前
個人
UFO型空気清浄機
22日前
株式会社コロナ
空調装置
2か月前
株式会社コロナ
空調装置
3か月前
株式会社コロナ
空調装置
3か月前
株式会社コロナ
給湯装置
4か月前
株式会社コロナ
空調装置
1か月前
株式会社コロナ
空調装置
2か月前
個人
油ハネ防止カーテン
1か月前
株式会社コロナ
加湿装置
2か月前
個人
住宅換気空調システム
3か月前
個人
太陽光パネル傾斜装置
1か月前
株式会社コロナ
風呂給湯機
3か月前
株式会社コロナ
空気調和機
4か月前
株式会社コロナ
空気調和機
3か月前
ホーコス株式会社
排気フード
4か月前
株式会社コロナ
温水暖房装置
1か月前
個人
シンプルクーラー
1か月前
株式会社KDW
加熱調理器具
今日
株式会社コロナ
貯湯式給湯機
2か月前
株式会社コロナ
暖房システム
2か月前
株式会社コロナ
直圧式給湯機
3か月前
株式会社コロナ
貯湯式給湯機
2か月前
株式会社コロナ
輻射式冷房装置
3か月前
ホーコス株式会社
換気扇取付枠
3か月前
三菱電機株式会社
換気扇
14日前
三菱電機株式会社
換気扇
1か月前
三菱電機株式会社
換気扇
1か月前
三菱電機株式会社
換気扇
1か月前
株式会社コロナ
潜熱回収型給湯機
6日前
株式会社ノーリツ
温水装置
1か月前
続きを見る
他の特許を見る