TOP
|
特許
|
意匠
|
商標
特許ウォッチ
Twitter
他の特許を見る
10個以上の画像は省略されています。
公開番号
2025176316
公報種別
公開特許公報(A)
公開日
2025-12-04
出願番号
2024082359
出願日
2024-05-21
発明の名称
油圧パワーユニット及び油圧式エレベーター
出願人
株式会社日立製作所
代理人
弁理士法人信友国際特許事務所
主分類
B66B
9/04 20060101AFI20251127BHJP(巻上装置;揚重装置;牽引装置)
要約
【課題】ポンプベースの軽量化を図ることが可能な油圧パワーユニット及び油圧式エレベーターを提供する。
【解決手段】油圧パワーユニット11は、油圧ポンプ24と、モータ25と、ポンプベース31と、下部ベース22と、複数の防振部材29とを備える。モータ25は、油圧ポンプ24を駆動させる。ポンプベース31は、油圧ポンプ24及びモータ25を支持する。下部ベース22には、ポンプベース31が固定される。複数の防振部材29は、下部ベース22と設置場所に配置されている設置台との間に介在される。
【選択図】図2
特許請求の範囲
【請求項1】
油圧ポンプと、
前記油圧ポンプを駆動させるモータと、
前記油圧ポンプ及び前記モータを支持するポンプベースと、
前記ポンプベースが固定された下部ベースと、
前記下部ベースと設置場所に配置されている設置台との間に介在される複数の防振部材と、を備える
油圧パワーユニット。
続きを表示(約 760 文字)
【請求項2】
前記ポンプベースは、上面が開口された箱状に形成されている
請求項1に記載の油圧パワーユニット。
【請求項3】
前記ポンプベースは、運搬用取っ手を着脱可能に取り付けるための取っ手取り付け部を有する
請求項1又は2に記載の油圧パワーユニット。
【請求項4】
前記ポンプベースは、上下方向から見た形状が長方形であり、
前記取っ手取り付け部は、前記ポンプベースにおける2つの短辺を形成する側壁に形成されている
請求項3に記載の油圧パワーユニット。
【請求項5】
前記油圧ポンプが送る作動油の流量を制御する制御弁と、
前記ポンプベースに固定され、前記油圧ポンプ及び前記制御弁を支持するポンプブラケットと、を備え、
前記ポンプブラケットは、側方から見た形状が略四角形の枠状に形成されている
請求項1に記載の油圧パワーユニット。
【請求項6】
前記複数の防振部材と前記設置台との間に介在される連結ベースをさらに備える
請求項1に記載の油圧パワーユニット。
【請求項7】
乗りかごと、
前記乗りかごを昇降動作させる油圧ジャッキと、
前記油圧ジャッキに作動油を送る油圧パワーユニットと、を備え、
前記油圧パワーユニットは、
油圧ポンプと、
前記油圧ポンプを駆動させるモータと、
前記油圧ポンプ及び前記モータが載置されたポンプベースと、
前記ポンプベースが固定された下部ベースと、
前記下部ベースと設置場所に配置されている設置台との間に介在される複数の防振部材と、を備える
油圧式エレベーター。
発明の詳細な説明
【技術分野】
【0001】
本発明は、油圧パワーユニット及び油圧式エレベーターに関する。
続きを表示(約 1,500 文字)
【背景技術】
【0002】
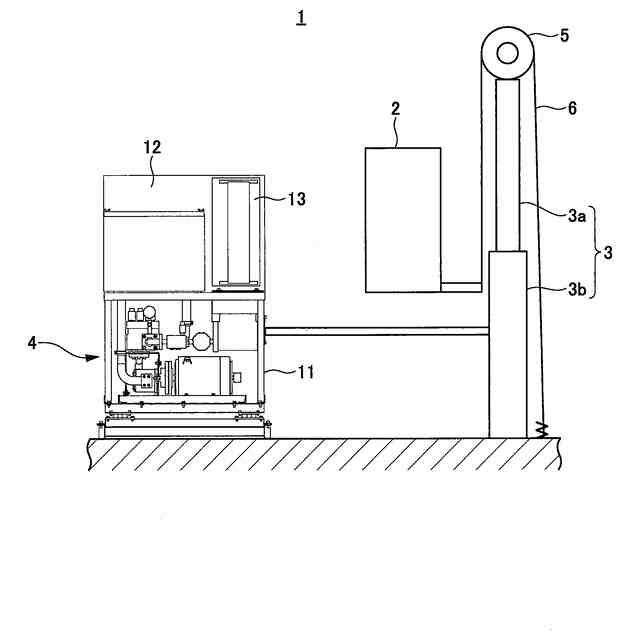
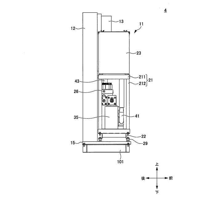
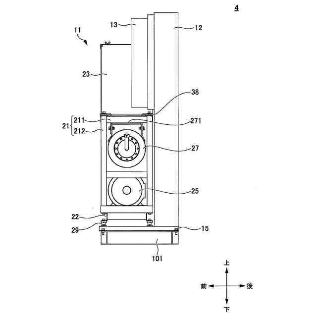
油圧式エレベーターは、工場、マンション、ホテル等で利用されている。油圧式エレベーターは、乗りかご等の荷重を油圧ジャッキにより支持する。油圧ジャッキは、建物の最下部に設置される。そのため、油圧式エレベーターは、建物に対する負担が少ない。また、油圧式エレベーターは、建物の上部に機械室を設置する必要がないため、建物の上部を有効に活用したり、昇降路の高さ制限に容易に対応したりすることができる。
【0003】
油圧式エレベーターは、乗りかごと、油圧ジャッキと、油圧パワーユニットを備える。油圧パワーユニットは、油圧ジャッキは、乗りかごを昇降動作させる。油圧パワーユニットは、作動油を油圧ジャッキに送る。油圧パワーユニットは、例えば、特許文献1に開示されている。
【0004】
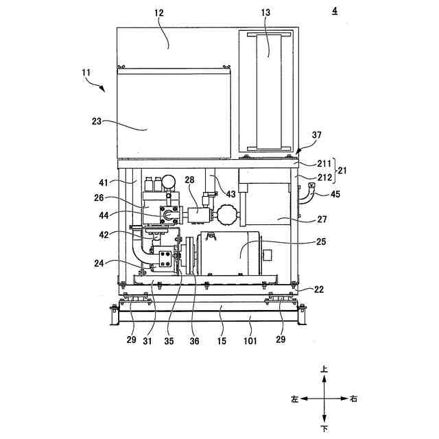
特許文献1に開示された油圧パワーユニットは、下部ベース上に載置されたフレームと、フレームの上部に配置された油タンクと、油タンクから作動油を圧送する油圧ポンプと、油圧ポンプを駆動するモータとを備えている。油圧ポンプとモータは、1つのベース(以下、「ポンプベース」とする)に載置されている。そして、ポンプベースは、下部ベース上に載置されている。
【0005】
油圧ポンプとモータは、ポンプベースに固定された状態のポンプ組立体として、油圧パワーユニットを設置する建物に搬入される。そして、作業者は、建物に搬入されたポンプベースを、油圧パワーユニットの設置場所まで運ぶ。そのため、ポンプ組立体の軽量化が望まれている。
【先行技術文献】
【特許文献】
【0006】
特開2023-176062号公報
【発明の概要】
【発明が解決しようとする課題】
【0007】
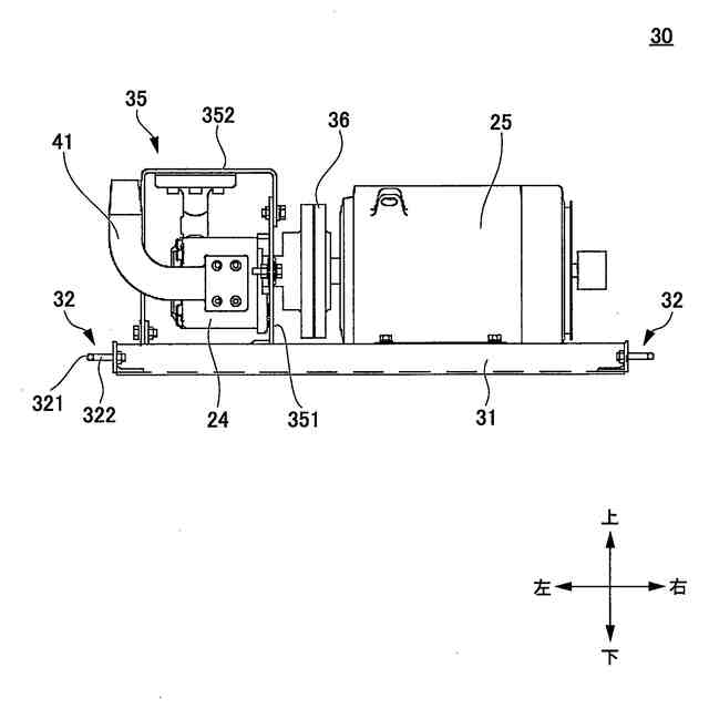
しかしながら、特許文献1に開示されているような油圧パワーユニットでは、ポンプベースが防振ゴムを介して下部ベース上に載置されている。そして、ポンプベースは、防振ゴムが配置されている数か所で支持(例えば、4点支持)されている。したがって、従来のポンプベースは、剛性を確保するために、十分な厚みの金属材料を用いて形成されていた。その結果、ポンプベース及びポンプ組立体の軽量化を図ることが難しかった。
【0008】
本発明の目的は、上記の問題点を考慮し、ポンプベースの軽量化を図ることが可能な油圧パワーユニット及び油圧式エレベーターを提供することである。
【課題を解決するための手段】
【0009】
上記課題を解決し、本発明の目的を達成するため、本発明の一側面を反映した油圧パワーユニットは、油圧ポンプと、モータと、ポンプベースと、下部ベースと、複数の防振部材とを備える。モータは、油圧ポンプを駆動させる。ポンプベースは、油圧ポンプ及びモータを支持する。下部ベースには、ポンプベースが固定される。複数の防振部材は、下部ベースと設置場所に配置されている設置台との間に介在される。
また、本発明の一側面を反映した油圧式エレベーターは、乗りかごと、乗りかごを昇降動作させる油圧ジャッキと、油圧ジャッキに作動油を送る上述の油圧パワーユニットとを備える。
【発明の効果】
【0010】
上記構成の油圧パワーユニット及び油圧式エレベーターによれば、ポンプベースの軽量化を図ることができる。
なお、上述した以外の課題、構成および効果は、以下の実施形態の説明により明らかにされる。
【図面の簡単な説明】
(【0011】以降は省略されています)
この特許をJ-PlatPat(特許庁公式サイト)で参照する
関連特許
個人
自走手摺
4か月前
個人
転落防止階段
1か月前
個人
小型クレーン
1か月前
ユニパルス株式会社
吊具
6か月前
個人
海上コンテナ昇降装置
12か月前
ユニパルス株式会社
荷役装置
11か月前
株式会社豊田自動織機
荷役車両
11か月前
株式会社いうら
車椅子用昇降機
4か月前
株式会社豊田自動織機
荷役車両
10か月前
ユニパルス株式会社
リフト装置
6か月前
水戸工業株式会社
吊り具
8か月前
株式会社豊田自動織機
産業車両
3か月前
個人
エアバック式レスキュー用品
2か月前
株式会社伊藤
滑り止め装置
4か月前
ユニパルス株式会社
荷役助力装置
7か月前
ユニパルス株式会社
荷役助力装置
5か月前
岐阜工業株式会社
運搬台車
1か月前
白山工業株式会社
バランサ
8か月前
ユニパルス株式会社
荷役助力装置
6か月前
大栄産業株式会社
クランプ
6か月前
株式会社大林組
安全支援システム
3か月前
個人
垂直自動搬送機
3か月前
愛知製鋼株式会社
受け架台
3か月前
株式会社キトー
タイヤ用吊具
7か月前
個人
アウトリガー用転倒防止ベース
1か月前
株式会社ユピテル
システム等
8か月前
株式会社五十鈴製作所
搬送装置
6か月前
フジテック株式会社
エレベータ
10か月前
株式会社キトー
コンテナ吊り具
15日前
株式会社豊田自動織機
フォークリフト
2か月前
新英運輸株式会社
自動車用台車
7か月前
大和ハウス工業株式会社
吊上具
4か月前
中国計量大学
電子安全クランプ
2か月前
株式会社豊田自動織機
フォークリフト
9か月前
フジテック株式会社
乗客コンベア
1か月前
中坪造園有限会社
吊り荷降ろし具
6か月前
続きを見る
他の特許を見る