TOP
|
特許
|
意匠
|
商標
特許ウォッチ
Twitter
他の特許を見る
10個以上の画像は省略されています。
公開番号
2025176185
公報種別
公開特許公報(A)
公開日
2025-12-03
出願番号
2025155285,2023208813
出願日
2025-09-18,2019-06-21
発明の名称
画像符号化装置、画像復号装置、画像符号化方法、画像復号方法
出願人
キヤノン株式会社
代理人
弁理士法人大塚国際特許事務所
主分類
H04N
19/70 20140101AFI20251126BHJP(電気通信技術)
要約
【課題】冗長なシンタクスを減らすことでビットストリームの符号量を減らす画像復号装置及び画像復号方法、画像符号化装置及び画像符号化方法並びにプログラムを提供する。
【解決手段】画像復号装置は、第1フラグの値が1であり、第2フラグが第2モードが使用されることを示す場合において、スライスのアドレスと、矩形領域の垂直方向におけるブロックの数に対応する第1情報と、スライスに含まれる矩形領域の数の第2情報と、に基づいて、スライスに対し、ブロック行の符号データの先頭位置を特定するための情報の数を特定する。画像のサイズに関する第3情報をビットストリームから復号し、特定した先頭位置を特定するための情報の数と、先頭位置を特定するための情報とに少なくとも基づいて、ブロック行の符号データを復号する。
【選択図】図2
特許請求の範囲
【請求項1】
複数のブロックから成るブロック行を1つ以上含む矩形領域を含む画像を符号化して得られたビットストリームから前記画像を復号する画像復号装置であって、
並列処理の有効化に関する第1フラグを復号し、スライスが矩形となる第1モードが使用されるかスライスが矩形と異なる形状を持つことが可能な第2モードが使用されるかを示す第2フラグを前記ビットストリームのピクチャパラメータセットから復号し、前記画像における矩形領域の垂直方向におけるブロックの数に対応する第1情報を前記ピクチャパラメータセットから復号し、前記画像におけるスライスに含まれる矩形領域の数の第2情報を前記ビットストリームのスライスヘッダから復号し、前記画像が複数の矩形領域を含み且つ前記第2フラグが前記第2モードが使用されることを示す場合においてスライスのアドレスを前記スライスヘッダから復号する復号手段と、
前記第1フラグの値が1であり、前記第2フラグが前記第2モードが使用されることを示す場合において、前記スライスのアドレスと、前記画像における前記矩形領域の垂直方向におけるブロックの数に対応する前記第1情報と、前記画像における前記スライスに含まれる矩形領域の数の前記第2情報と、に基づいて、前記スライスに対し、ブロック行の符号データの先頭位置を特定するために使用されるシンタックス要素の個数を特定する特定手段と、
を備え、
前記ブロック行を形成する複数のブロックの各々のサイズは前記ビットストリームにおけるシーケンスパラメータセットから復号される第3情報から決定され、前記特定手段により特定された個数の前記シンタックス要素が前記ビットストリームの前記スライスヘッダに含まれており、
前記ブロック行を形成する複数のブロックの各々は、CTU(Coding Tree Unit)に対応する
ことを特徴とする画像復号装置。
続きを表示(約 1,400 文字)
【請求項2】
前記第1フラグは、entropy_coding_sync_enabled_flagであることを特徴とする請求項1に記載の画像復号装置。
【請求項3】
前記第2フラグは、rect_slice_flagであることを特徴とする請求項1に記載の画像復号装置。
【請求項4】
前記シンタックス要素はentry_point_offset_minus1であることを特徴とする請求項1に記載の画像復号装置。
【請求項5】
前記シンタックス要素の個数の情報は前記ビットストリームにシグナリングされないことを特徴とする請求項1に記載の画像復号装置。
【請求項6】
前記複数のブロックの各々のサイズは、前記第3情報に所定の値を足した結果である値で1を算術左シフトすることによって導出されることを特徴とする請求項1に記載の画像復号装置。
【請求項7】
前記ブロック行を形成する複数のブロックの各々は、より小さいブロックに分割が可能であることを特徴とする請求項1に記載の画像復号装置。
【請求項8】
前記複数のブロックの各々は、64×64のサイズを有することが可能であることを特徴とする請求項1に記載の画像復号装置。
【請求項9】
前記画像の幅に対応する第4情報が前記ビットストリームから復号されることを特徴とする請求項1に記載の画像復号装置。
【請求項10】
複数のブロックから成るブロック行を1つ以上含む矩形領域を含む画像を符号化して得られたビットストリームから前記画像を復号する画像復号方法であって、
並列処理の有効化に関する第1フラグを復号し、スライスが矩形となる第1モードが使用されるかスライスが矩形と異なる形状を持つことが可能な第2モードが使用されるかを示す第2フラグを前記ビットストリームのピクチャパラメータセットから復号し、前記画像における矩形領域の垂直方向におけるブロックの数に対応する第1情報を前記ピクチャパラメータセットから復号し、前記画像におけるスライスに含まれる矩形領域の数の第2情報を前記ビットストリームのスライスヘッダから復号し、前記画像が複数の矩形領域を含み且つ前記第2フラグが前記第2モードが使用されることを示す場合においてスライスのアドレスを前記スライスヘッダから復号する復号工程と、
前記第1フラグの値が1であり、前記第2フラグが前記第2モードが使用されることを示す場合において、前記スライスのアドレスと、前記画像における前記矩形領域の垂直方向におけるブロックの数に対応する前記第1情報と、前記画像における前記スライスに含まれる矩形領域の数の前記第2情報と、に基づいて、前記スライスに対し、ブロック行の符号データの先頭位置を特定するために使用されるシンタックス要素の個数を特定する特定工程と、
を有し、
前記ブロック行を形成する複数のブロックの各々のサイズは前記ビットストリームにおけるシーケンスパラメータセットから復号される第3情報から決定され、前記特定工程により特定された個数の前記シンタックス要素が前記ビットストリームの前記スライスヘッダに含まれており、
前記ブロック行を形成する複数のブロックの各々は、CTU(Coding Tree Unit)に対応する
ことを特徴とする画像復号方法。
(【請求項11】以降は省略されています)
発明の詳細な説明
【技術分野】
【0001】
本発明は、画像の符号化/復号技術に関するものである。
続きを表示(約 2,500 文字)
【背景技術】
【0002】
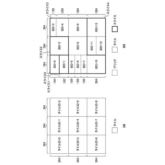
動画像の圧縮記録の符号化方式として、HEVC(High Efficiency Video Coding)符号化方式(以下、HEVCと記す)が知られている。HEVCでは符号化効率向上のため、従来のマクロブロック(16×16画素)より大きなサイズの基本ブロックが採用された。この大きなサイズの基本ブロックはCTU(Coding Tree Unit)と呼ばれ、そのサイズは最大64×64画素である。CTUはさらに予測や変換を行う単位となるサブブロックに分割される。
【0003】
またHEVCでは、ピクチャを複数のタイルまたはスライスに分割して符号化する事が可能である。各タイル間またはスライス間にはデータの依存性が少なく、並列に符号化・復号化処理を実施する事ができる。マルチコアのCPU等で並列に処理を実行し、処理時間を短縮できる事が、タイル、スライス分割の大きな利点の一つとして挙げられる。
【0004】
また、各スライスはHEVCに採用されている従来の2値算術符号化の手法によって符号化される。すなわち、各シンタックス要素が2値化され、2値信号が生成される。各シンタックス要素には、あらかじめ発生確率がテーブル(以下、発生確率テーブル)として与えられ、2値信号は発生確率テーブルに基づいて算術符号化される。この発生確率テーブルは復号時には復号情報として、続く符号の復号に使用される。符号化時には符号化情報として、続く符号化に使用される。そして符号化が行われる毎に、符号化された2値信号が発生確率の高い方のシンボルであったか否か、という統計情報に基づいて発生確率テーブルが更新される。
【0005】
またHEVCには、Wavefront Parallel Processing(以下、WPP)と呼ばれるエントロピー符号化・復号化を並列に処理するための手法がある。WPPでは、あらかじめ指定された位置のブロックを符号化処理した時点での発生確率のテーブルを、次の行の左端のブロックに適用することで、符号化効率の低下を抑制した上で行単位でのブロックの並列符号化処理が可能となる。ブロック行単位での並列処理を可能にする為、スライスヘッダにはビットストリーム中の各ブロック行の先頭位置を示すentry_point_offset_minus1及びその数を示すnum_entry_point_offsetsが符号化される。特許文献1では、WPPに関連する技術が開示されている。
【0006】
近年、HEVCの後継としてさらに高効率な符号化方式の国際標準化を行う活動が開始された。JVET(Joint Video Experts Team)がISO/IECとITU-Tの間で設立され、VVC(Versatile Video Coding)符号化方式(以下、VVC)として標準化が進められている。VVCでは、タイルを更に複数のブロック行から構成される矩形(ブリック)に分割する事が検討されている。そしてスライスは一つ以上のブリックを包含するように構成される。
【先行技術文献】
【特許文献】
【0007】
特開2014-11638号公報
【発明の概要】
【発明が解決しようとする課題】
【0008】
VVCにおいては、スライスを構成するブリックが予め導出可能であり、更にそのブリックに内包される基本ブロック行の数も他のシンタクスから導出可能である。そのため、該スライスに属する基本ブロック行の先頭位置を示すentry_point_offset_minus1の数を、num_entry_point_offsetを用いずに導出する事が可能である。そのためnum_entry_point_offsetは冗長なシンタクスとなる。本発明では、冗長なシンタクスを減らすことでビットストリームの符号量を減らす技術を提供する。
【課題を解決するための手段】
【0009】
本発明の一様態は、複数のブロックから成るブロック行を1つ以上含む矩形領域を含む画像を符号化して得られたビットストリームから前記画像を復号する画像復号装置であって、並列処理の有効化に関する第1フラグを復号し、スライスが矩形状となる第1モードが使用されるか当該第1モードと異なるモードであってスライスに関する第2モードが使用されるかを示す第2フラグを前記ビットストリームのピクチャパラメータセットから復号し、前記画像における矩形領域の垂直方向のブロック数に対応する第1情報を前記ピクチャパラメータセットから復号し、前記画像におけるスライスに含まれる矩形領域の数の第2情報を前記ビットストリームのスライスヘッダから復号し、前記画像が複数の矩形領域を含み且つ前記第2フラグが前記第2モードが使用されることを示す場合においてスライスのアドレスを前記スライスヘッダから復号する復号手段と、前記第1フラグの値が1であり、前記第2フラグが前記第2モードが使用されることを示す場合において、前記スライスのアドレスと、前記矩形領域の垂直方向におけるブロックの数に対応する前記第1情報と、前記スライスに含まれる矩形領域の数の前記第2情報と、に基づいて、前記スライスに対し、ブロック行の符号データの先頭位置を特定するための情報の数を特定する特定手段とを備え、前記復号手段は、前記画像のサイズに関する第3情報を前記ビットストリームから復号し、前記復号手段は、前記特定手段によって特定した前記先頭位置を特定するための情報の数と、前記先頭位置を特定するための情報とに少なくとも基づいて、前記ブロック行の符号データを復号することを特徴とする。
【発明の効果】
【0010】
本発明の構成によれば、冗長なシンタクスを減らすことでビットストリームの符号量を減らすことができる。
【図面の簡単な説明】
(【0011】以降は省略されています)
この特許をJ-PlatPat(特許庁公式サイト)で参照する
関連特許
キヤノン株式会社
容器
1か月前
キヤノン株式会社
容器
1か月前
キヤノン株式会社
トナー
1か月前
キヤノン株式会社
トナー
26日前
キヤノン株式会社
現像装置
1か月前
キヤノン株式会社
電子機器
26日前
キヤノン株式会社
撮像装置
1か月前
キヤノン株式会社
表示装置
5日前
キヤノン株式会社
表示装置
5日前
キヤノン株式会社
撮像装置
5日前
キヤノン株式会社
測距装置
28日前
キヤノン株式会社
撮像装置
27日前
キヤノン株式会社
撮像装置
5日前
キヤノン株式会社
表示装置
5日前
キヤノン株式会社
電子機器
26日前
キヤノン株式会社
記録装置
26日前
キヤノン株式会社
撮像装置
26日前
キヤノン株式会社
雲台装置
26日前
キヤノン株式会社
電子機器
21日前
キヤノン株式会社
撮像装置
21日前
キヤノン株式会社
定着装置
19日前
キヤノン株式会社
撮像装置
7日前
キヤノン株式会社
記録装置
19日前
キヤノン株式会社
定着装置
19日前
キヤノン株式会社
定着装置
19日前
キヤノン株式会社
定着装置
13日前
キヤノン株式会社
定着装置
13日前
キヤノン株式会社
撮像装置
13日前
キヤノン株式会社
撮像装置
13日前
キヤノン株式会社
表示装置
1か月前
キヤノン株式会社
記録装置
26日前
キヤノン株式会社
撮像装置
1か月前
キヤノン株式会社
発光装置
5日前
キヤノン株式会社
撮像装置
1か月前
キヤノン株式会社
撮像装置
1か月前
キヤノン株式会社
記録装置
1か月前
続きを見る
他の特許を見る