TOP
|
特許
|
意匠
|
商標
特許ウォッチ
Twitter
他の特許を見る
10個以上の画像は省略されています。
公開番号
2025175805
公報種別
公開特許公報(A)
公開日
2025-12-03
出願番号
2024082075
出願日
2024-05-20
発明の名称
測定装置、測定方法、および測定プログラム
出願人
横河電機株式会社
代理人
弁理士法人酒井国際特許事務所
主分類
G01B
21/16 20060101AFI20251126BHJP(測定;試験)
要約
【課題】生産ラインに含まれる各検出機器の設置位置を簡便に求めること。
【解決手段】測定装置10は、基準マーカMを有する電極シートSの送出方向に設置された各検出機器から、各検出機器が検出した基準マーカMの検出結果をそれぞれ収集し、収集した検出結果に基づいて、各検出機器が設置された間隔を示す機器間距離を算出する。
【選択図】図1
特許請求の範囲
【請求項1】
基準マーカを有する測定対象物の送出方向に設置された各検出機器から、前記各検出機器が検出した前記基準マーカの検出結果をそれぞれ収集する収集部と、
収集された前記検出結果に基づいて、前記各検出機器が設置された間隔を示す機器間距離を算出する算出部と、
を備える測定装置。
続きを表示(約 1,100 文字)
【請求項2】
前記各検出機器は、シート状の前記測定対象物に対して測定光を照射して前記測定光の透過強度を取得するセンサ部を有し、
前記収集部は、
前記各検出機器の前記センサ部が検出した前記検出結果をそれぞれ収集する、
請求項1に記載の測定装置。
【請求項3】
前記基準マーカを検出する検出閾値を受け付け、受け付けた前記検出閾値を前記各検出機器に送信する受付部、
をさらに備え、
前記収集部は、
前記検出閾値に応じて前記各検出機器が検出した前記検出結果をそれぞれ収集する、
請求項1に記載の測定装置。
【請求項4】
前記収集部は、
前記検出結果として、前記測定対象物が送出された総距離を示す検出距離をそれぞれ収集し、
前記算出部は、
前記各検出機器の前記検出距離の差分を前記機器間距離として算出する、
請求項1に記載の測定装置。
【請求項5】
前記収集部は、
前記検出結果として、前記基準マーカが検出された時刻を示す検出時刻をそれぞれ収集し、
前記算出部は、
前記各検出機器の前記検出時刻の差分と、前記測定対象物が送出された速度を示す送出速度との積を前記機器間距離として算出する、
請求項1に記載の測定装置。
【請求項6】
前記算出部は、
算出した前記機器間距離を用いて、前記測定対象物を測定する際に使用するパラメータを更新する、
請求項1に記載の測定装置。
【請求項7】
前記基準マーカは、前記測定対象物に貼付されたシール状のマーカである、
請求項1から6のいずれか1項に記載の測定装置。
【請求項8】
前記各検出機器は、シート状の前記測定対象物を塗工する塗工ラインに設置される、
請求項1から6のいずれか1項に記載の測定装置。
【請求項9】
コンピュータが、
基準マーカを有する測定対象物の送出方向に設置された各検出機器から、前記各検出機器が検出した前記基準マーカの検出結果をそれぞれ収集し、
収集された前記検出結果に基づいて、前記各検出機器が設置された間隔を示す機器間距離を算出する、
処理を実行する測定方法。
【請求項10】
コンピュータに、
基準マーカを有する測定対象物の送出方向に設置された各検出機器から、前記各検出機器が検出した前記基準マーカの検出結果をそれぞれ収集し、
収集された前記検出結果に基づいて、前記各検出機器が設置された間隔を示す機器間距離を算出する、
処理を実行させる測定プログラム。
発明の詳細な説明
【技術分野】
【0001】
本発明は、測定装置、測定方法、および測定プログラムに関する。
続きを表示(約 1,800 文字)
【背景技術】
【0002】
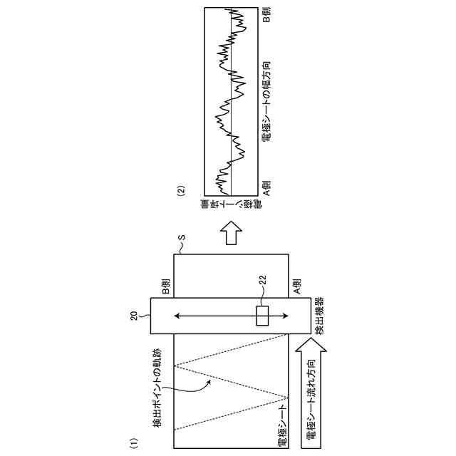
電池電極シート(適宜、「電極シート」)は、金属箔に活物質等の合剤を薄く塗工し、乾燥したものである。電極シートの製造では、アルミ箔や銅箔の表面に、正極、負極それぞれのスラリー(液体状混合物)を塗工する。上記の塗工工程において、スラリーの塗工量を測定する場合には、検出機器が塗工前と塗工後でそれぞれ厚さ、重量等を算出し、その差分から塗工量を求める。
【先行技術文献】
【特許文献】
【0003】
特開2011-196755号公報
【発明の概要】
【発明が解決しようとする課題】
【0004】
電極シート等の生産ラインにおいて、塗工後の塗工量を正確に求めるためには、各検出機器の設置位置と電極シートの送出速度を用いて、設置位置の異なる各検出機器が検出する位置の軌跡を一致させる必要がある。しかしながら、実際の生産ラインにおいて、電極シートを送出する経路上の各検出機器の設置位置や相対距離を正確に求めることは難しい。
【0005】
本発明は、上記に鑑みてなされたものであって、生産ラインに含まれる各検出機器の設置位置を簡便に求められるようにすることを目的とする。
【課題を解決するための手段】
【0006】
本発明の一実施形態に係る測定装置は、基準マーカを有する測定対象物の送出方向に設置された各検出機器から、前記各検出機器が検出した前記基準マーカの検出結果をそれぞれ収集する収集部と、収集された前記検出結果に基づいて、前記各検出機器が設置された間隔を示す機器間距離を算出する算出部と、を備える。
【0007】
本発明の一実施形態に係る測定方法は、コンピュータが、基準マーカを有する測定対象物の送出方向に設置された各検出機器から、前記各検出機器が検出した前記基準マーカの検出結果をそれぞれ収集し、収集された前記検出結果に基づいて、前記各検出機器が設置された間隔を示す機器間距離を算出する、処理を実行する。
【0008】
本発明の一実施形態に係る測定プログラムは、コンピュータに、基準マーカを有する測定対象物の送出方向に設置された各検出機器から、前記各検出機器が検出した前記基準マーカの検出結果をそれぞれ収集し、収集された前記検出結果に基づいて、前記各検出機器が設置された間隔を示す機器間距離を算出する、処理を実行させる。
【発明の効果】
【0009】
本発明によれば、生産ラインに含まれる各検出機器の設置位置を簡便に求めることができる。
【図面の簡単な説明】
【0010】
実施形態に係る塗工量測定システムの構成例および処理例を示す図である。
実施形態に係る塗工量測定システムの検出機器の具体例を示す図である。
実施形態に係る塗工量測定システムの塗工ラインの具体例を示す図である。
実施形態に係る塗工量測定システムの検出機器の検出結果の具体例を示す図である。
参考技術に係る塗工量測定システムの機器間距離算出処理を説明するための図である。
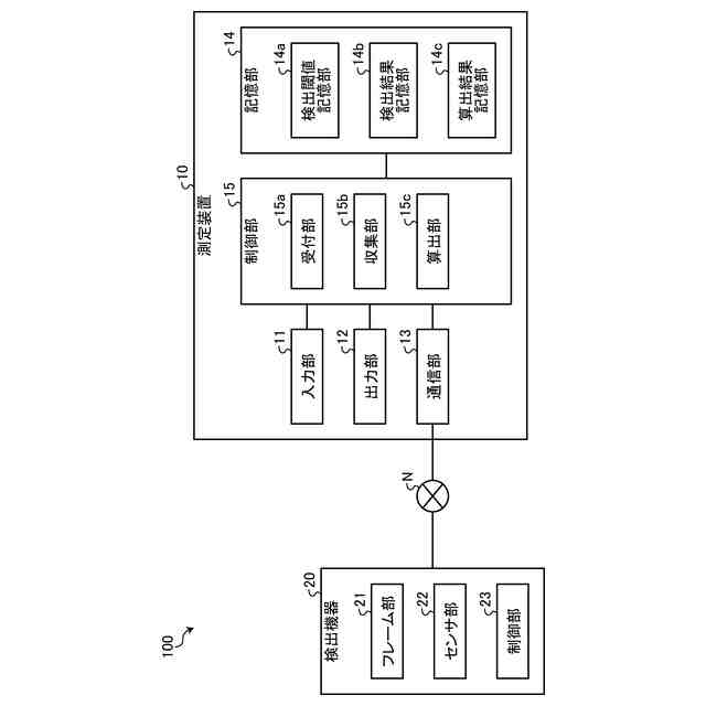
実施形態に係る塗工量測定システムの各装置の構成例を示すブロック図である。
実施形態に係る測定装置の検出閾値記憶部の一例を示す図である。
実施形態に係る測定装置の検出結果記憶部の一例を示す図である。
実施形態に係る測定装置の算出結果記憶部の一例を示す図である。
実施形態に係る基準マーカの具体例を示す図である。
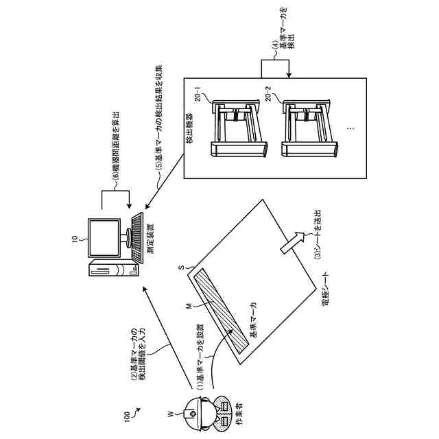
実施形態に係る検出機器の基準マーカ検出処理の具体例を示す図である。
実施形態に係る測定装置の機器間距離算出処理の具体例を示す図である。
実施形態に係る塗工量測定システム全体の流れの一例を示すフローチャートである。
実施形態に係る塗工量測定システムの基準マーカ管理処理の流れの一例を示すフローチャートである。
実施形態に係る塗工量測定システムの検出結果管理処理の流れの一例を示すフローチャートである。
実施形態に係る塗工量測定システムの算出結果管理処理の流れの一例を示すフローチャートである。
実施形態に係るハードウェア構成例を示す図である。
【発明を実施するための形態】
(【0011】以降は省略されています)
この特許をJ-PlatPat(特許庁公式サイト)で参照する
関連特許
横河電機株式会社
磁気コア
1か月前
横河電機株式会社
コントローラ
1か月前
横河電機株式会社
情報プログラム
1か月前
横河電機株式会社
適応方法及び情報処理装置
1か月前
横河電機株式会社
装置、方法およびプログラム
1か月前
横河電機株式会社
光パルス試験器及び測定方法
2か月前
横河電機株式会社
装置、方法およびプログラム
8日前
横河電機株式会社
フィールド機器及び診断方法
2か月前
横河電機株式会社
装置、方法、およびプログラム
1か月前
横河電機株式会社
分散制御ノード(DCN)冗長性
2か月前
横河電機株式会社
制御プログラム及びコントローラ
1か月前
横河電機株式会社
細胞穿刺装置及び顕微鏡システム
1か月前
横河電機株式会社
細胞穿刺装置及び顕微鏡システム
1か月前
横河電機株式会社
クランプ式電流計及び電流測定方法
1か月前
横河電機株式会社
測定装置、測定方法、及びプログラム
1か月前
横河電機株式会社
測定装置、測定方法、及び、プログラム
28日前
横河電機株式会社
メタン製造システム及びメタン製造方法
1か月前
横河電機株式会社
設備状態検出装置及び設備状態検出方法
6日前
横河電機株式会社
更新されたエイリアス情報のフィルタ処理
16日前
横河電機株式会社
測定装置、測定方法、および測定プログラム
1日前
横河電機株式会社
センタリングデバイスおよび流量計ユニット
27日前
横河電機株式会社
データ管理支援装置及びデータ管理支援方法
1か月前
横河電機株式会社
支援システム、支援方法および支援プログラム
1か月前
横河電機株式会社
センサ装置、端末装置、及び、センサシステム
1か月前
横河電機株式会社
情報処理装置、表示方法および表示プログラム
27日前
横河電機株式会社
情報生成装置、情報生成システムおよび情報生成方法
1か月前
横河電機株式会社
回路モジュール、細胞穿刺装置、及び顕微鏡システム
1か月前
横河電機株式会社
記録計、バックアップ方法及びバックアッププログラム
27日前
横河電機株式会社
固体電解質組成物、固体電解質膜、積層体、電池、固体電解質組成物の製造方法
1か月前
横河電機株式会社
液体サンプルバルブ、ガスクロマトグラフ装置、洗浄方法、および洗浄プログラム
1か月前
横河電機株式会社
光スペクトル測定プログラム、光スペクトル測定方法、及び光スペクトラムアナライザ
1か月前
横河電機株式会社
設備を保守するための装置、方法、およびプログラム
1か月前
日本精機株式会社
検出装置
29日前
個人
採尿及び採便具
1か月前
個人
アクセサリー型テスター
1か月前
個人
高精度同時多点測定装置
1か月前
続きを見る
他の特許を見る