TOP
|
特許
|
意匠
|
商標
特許ウォッチ
Twitter
他の特許を見る
公開番号
2025175551
公報種別
公開特許公報(A)
公開日
2025-12-03
出願番号
2024081721
出願日
2024-05-20
発明の名称
検査装置
出願人
ニデックインスツルメンツ株式会社
代理人
個人
,
個人
,
個人
主分類
G01N
21/88 20060101AFI20251126BHJP(測定;試験)
要約
【課題】カメラの焦点をワークの表面の高さに応じて調整可能な検査装置を提供する。
【解決手段】検査装置100は、ラインセンサ2を搬送路SのX1方向からY軸方向に向かって所定のピッチで間欠搬送する搬送機構3と、搬送路SのZ1方向に配置されラインセンサ2の撮像面の高さを検出する検知部4と、検知部4よりX2方向に配置されラインセンサ2の撮像面を撮影して明視野画像を取得する第1検査カメラ5と、Z軸方向に第1検査カメラ5を移動させる第1駆動機構6と、第1検査カメラ5よりX2方向に配置されラインセンサ2の撮像面を撮影して暗視野画像を取得する第2検査カメラ7と、Z軸方向に第2検査カメラ7を移動させる第2駆動機構8と、第1駆動機構6を駆動して第1検査カメラ5の焦点を調整するとともに、第2駆動機構8を駆動して第2検査カメラ7の焦点を調整する制御部9と、を備える。
【選択図】図4
特許請求の範囲
【請求項1】
搬送路に沿った搬送方向に長いワークを前記搬送路の上流側から下流側に向かって所定のピッチで間欠搬送する搬送機構と、
前記搬送路の上方に配置され前記ワークの検査面の高さを検出する検知部と、
前記検知部より前記下流側に配置され前記ワークの前記検査面を撮影して第1検査画像を取得する第1検査カメラと、
前記搬送方向と直交する上下方向に前記第1検査カメラを移動させる第1駆動機構と、
前記第1検査カメラより前記下流側に配置され前記ワークの前記検査面を撮影して前記第1検査画像とは異なる第2検査画像を取得する第2検査カメラと、
前記上下方向に前記第2検査カメラを移動させる第2駆動機構と、
前記検知部が検知した、前記所定のピッチ毎の前記ワークの検査位置における前記検査面の高さ情報に基づいて、前記第1駆動機構を駆動して前記第1検査カメラの焦点を調整するとともに、前記第2駆動機構を駆動して前記第2検査カメラの焦点を調整する制御部と、
を備えることを特徴とする検査装置。
続きを表示(約 590 文字)
【請求項2】
前記搬送方向における前記検知部と前記第1検査カメラとの間の距離は、前記所定のピッチの整数倍であることを特徴と請求項1に記載の検査装置。
【請求項3】
前記搬送方向における前記検知部と前記第2検査カメラとの間の距離は、前記所定のピッチの整数倍であることを特徴とする請求項1または2に記載の検査装置。
【請求項4】
前記第1検査カメラは、前記第1検査画像として明視野画像を取得し、
前記第2検査カメラは、前記第2検査画像として暗視野画像を取得することを特徴とする請求項1に記載の検査装置。
【請求項5】
前記ワークの前記検査面は、第1検査面と、前記第1検査面と前記搬送方向および前記上下方向と直交する左右方向に配置された第2検査面と、を含み、
前記検知部は、前記ワークの前記第1検査面の高さを検出する第1検知部と、前記ワークの前記第2検査面の高さを検出する第2検知部と、を備えることを特徴とする請求項1に記載の検査装置。
【請求項6】
前記ワークの前記検査面における、前記第1検査カメラおよび前記第2検査カメラの視野範囲は、同じ大きさであり、
前記所定のピッチは、前記視野範囲の搬送方向の長さの75%以上98%以下の長さであることを特徴とする請求項1に記載の検査装置。
発明の詳細な説明
【技術分野】
【0001】
本発明は、検査装置に関する。
続きを表示(約 1,900 文字)
【背景技術】
【0002】
検査対象物の表面の欠損や傷などの外観検査に用いられる検査装置は、特許文献1に記載されている。特許文献1の検査装置は、検査対象物を搬送する搬送手段と、搬送された検査対象物の表面を撮像して検査画像を取得するカメラと、を備える。検査装置は、検査画像に基づいて、検査対象物の表面に欠損や傷などがあるか判断する。
【先行技術文献】
【特許文献】
【0003】
特開平11-264803号公報
【発明の概要】
【発明が解決しようとする課題】
【0004】
特許文献1の検査装置に用いられる検査画像としては、明視野画像や暗視野画像などがある。これらの検査画像は、検査画像から得られる情報が異なるので、検査対象物の外観検査の内容によっては、検査装置は、複数種類の検査画像を用いて検査対象物の表面に欠損や傷などがあるか判断する場合がある。例えば、検査画像として明視野画像および暗視野画像を用いる場合、それぞれの検査画像を取得する2つのカメラが、搬送方向に沿って配置される。
【0005】
検査対象物としては、細長い形状の場合がある。検査装置が細長い形状の検査対象物を検査する場合には、検査対象物の長手方向が搬送方向となるように検査対象物が搬送手段に載置されて、検査対象物を搬送しながら2つのカメラが検査対象物の表面を撮像する。検査装置は、2つのカメラで撮像された検査画像に基づいて、表面の外観検査を行う。
【0006】
ここで、細長い形状の検査対象物としては、例えば、ラインセンサのなどがある。ラインセンサには、撮像素子が長手方向に複数配置されている。この撮像素子の撮像面が検査装置によって外観検査される。ラインセンサにおいて複数の撮像面の高さには、0.1~0.3mm程度バラつきがある。一方、検査装置で使用されるカメラの被写界深度は、20~50μm程度である。したがって、使用されるカメラの被写界深度に対して検査対象物の表面の高さのバラつきが大きい場合、2つのカメラを用いた検査装置では、検査対象物を搬送しながら2つのカメラの焦点を、同時に調整することが難しいという問題がある。
【0007】
以上の問題点に鑑みて、本発明の課題は、搬送方向に長いワークの表面を、搬送方向に沿って複数配置されたカメラで撮像する場合であっても、各カメラの焦点をワークの表面の高さに応じて調整することが可能な検査装置を提供することにある。
【課題を解決するための手段】
【0008】
上記課題を解決するため、搬送路に沿った搬送方向に長いワークを前記搬送路の上流側から下流側に向かって所定のピッチで間欠搬送する搬送機構と、前記搬送路の上方に配置され前記ワークの検査面の高さを検出する検知部と、前記検知部より前記下流側に配置され前記ワークの前記検査面を撮影して第1検査画像を取得する第1検査カメラと、前記搬送方向と直交する上下方向に前記第1検査カメラを移動させる第1駆動機構と、前記第1検査カメラより前記下流側に配置され前記ワークの前記検査面を撮影して前記第1検査画
像とは異なる第2検査画像を取得する第2検査カメラと、前記上下方向に前記第2検査カメラを移動させる第2駆動機構と、前記検知部が検知した、前記所定のピッチ毎の前記ワークの検査位置における前記検査面の高さ情報に基づいて、前記第1駆動機構を駆動して前記第1検査カメラの焦点を調整するとともに、前記第2駆動機構を駆動して前記第2検査カメラの焦点を調整する制御部と、を備えることを特徴とする。
【図面の簡単な説明】
【0009】
図1は、実施形態の検査装置の外観斜視図である。
図2は、ラインセンサの外観斜視図である。
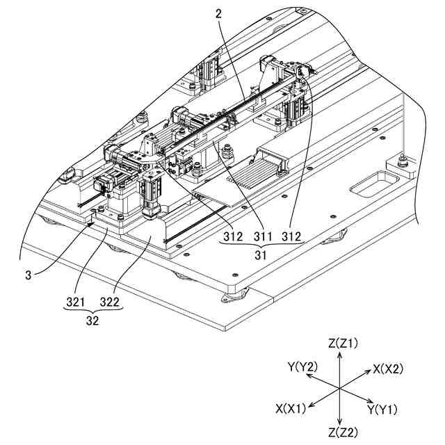
図3は、搬送機構の外観斜視図である。
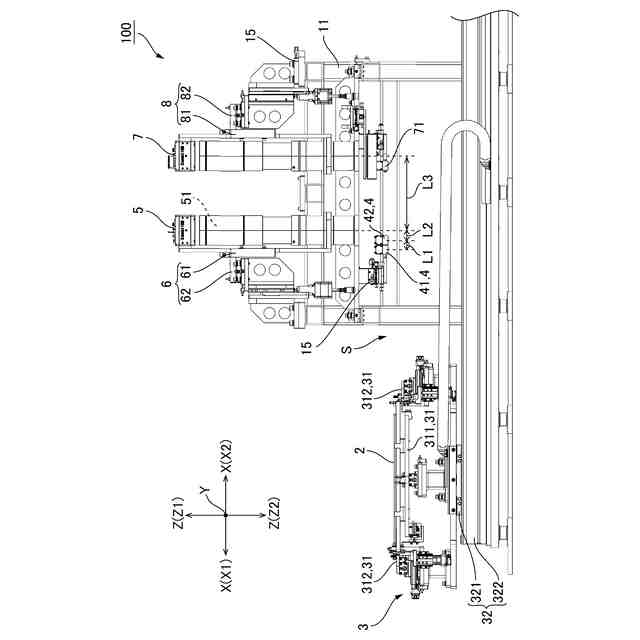
図4は、図1のA-A方向から見た検査装置の断面図である。
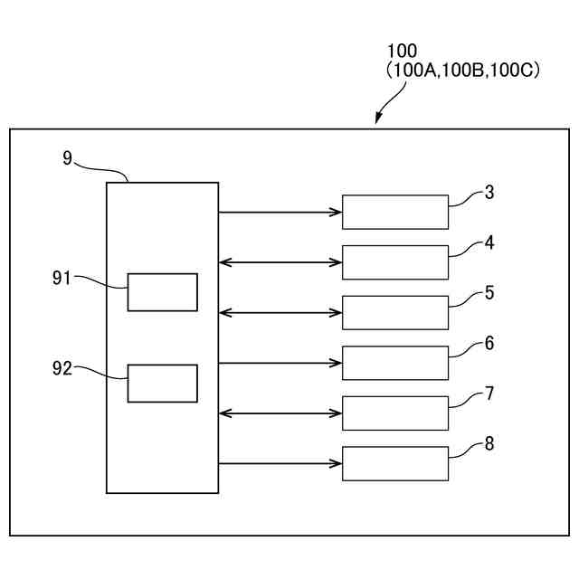
図5は、検査装置のブロック図である。
【発明を実施するための形態】
【0010】
以下、図面を参照しながら、本発明の実施形態を説明する。以下の説明では、ワークがラインセンサ2ある場合を中心に説明する。図1は、実施形態の検査装置の外観斜視図である。図2は、ラインセンサの外観斜視図である。図3は、搬送機構の外観斜視図である。図4は、図1のA-A方向から見た検査装置の断面図である。図5は、検査装置のブロック図である。
(【0011】以降は省略されています)
この特許をJ-PlatPat(特許庁公式サイト)で参照する
関連特許
個人
視触覚センサ
1日前
個人
採尿及び採便具
1か月前
日本精機株式会社
検出装置
1か月前
個人
計量機能付き容器
26日前
個人
アクセサリー型テスター
1か月前
個人
高精度同時多点測定装置
1か月前
株式会社ミツトヨ
測定器
1か月前
甲神電機株式会社
電流検出装置
1か月前
株式会社カクマル
境界杭
16日前
日本精機株式会社
発光表示装置
9日前
ユニパルス株式会社
トルク変換器
1日前
ユニパルス株式会社
トルク変換器
1日前
ユニパルス株式会社
トルク変換器
1日前
株式会社トプコン
測量装置
8日前
アズビル株式会社
電磁流量計
1か月前
大成建設株式会社
風洞実験装置
26日前
愛知電機株式会社
軸部材の外観検査装置
1か月前
日本特殊陶業株式会社
ガスセンサ
8日前
個人
非接触による電磁パルスの測定方法
29日前
日本特殊陶業株式会社
ガスセンサ
2日前
日本特殊陶業株式会社
ガスセンサ
1日前
双庸電子株式会社
誤配線検査装置
1か月前
日本特殊陶業株式会社
ガスセンサ
24日前
個人
計量具及び計量機能付き容器
26日前
愛知時計電機株式会社
ガスメータ
1か月前
個人
システム、装置及び実験方法
1か月前
日本信号株式会社
距離画像センサ
29日前
大和製衡株式会社
組合せ計量装置
1か月前
ローム株式会社
半導体装置
1か月前
大和製衡株式会社
組合せ計量装置
1か月前
ローム株式会社
半導体装置
1か月前
日本特殊陶業株式会社
センサ
10日前
株式会社タイガーカワシマ
揚穀装置
8日前
株式会社デンソー
電流センサ
1か月前
キーコム株式会社
画像作成システム
16日前
株式会社不二越
X線測定装置
29日前
続きを見る
他の特許を見る