TOP
|
特許
|
意匠
|
商標
特許ウォッチ
Twitter
他の特許を見る
公開番号
2025175137
公報種別
公開特許公報(A)
公開日
2025-11-28
出願番号
2025157763,2024219577
出願日
2025-09-24,2012-06-01
発明の名称
半導体装置
出願人
株式会社半導体エネルギー研究所
代理人
主分類
H10D
30/67 20250101AFI20251120BHJP()
要約
【課題】酸化物半導体を含み、高速動作が可能なトランジスタ及びその作製方法を提供す
る。または、該トランジスタを含む信頼性の高い半導体装置及びその作製方法を提供する
。
【解決手段】チャネル形成領域と、該チャネル形成領域を挟むように設けられ、チャネル
形成領域よりも低抵抗な領域であるソース領域及びドレイン領域と、を含み、チャネル形
成領域、ソース領域及びドレイン領域はそれぞれ結晶性領域を含む酸化物半導体層を有す
る半導体装置を提供する。
【選択図】図1
特許請求の範囲
【請求項1】
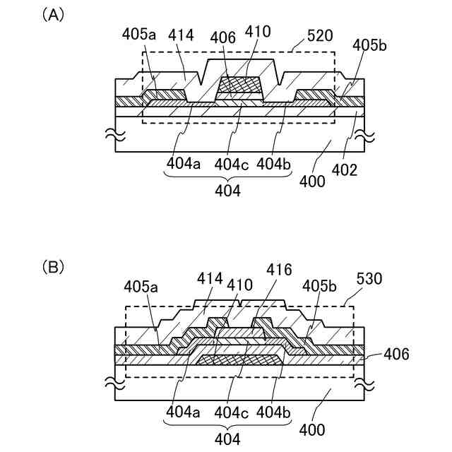
ソース領域、ドレイン領域、及びチャネル形成領域を含む結晶性酸化物半導体層と、
前記チャネル形成領域上に設けられたゲート絶縁層と、
前記ゲート絶縁層を介して前記チャネル形成領域上に設けられたゲート電極と、を有し、
前記ソース領域及び前記ドレイン領域は、窒素を含む結晶性領域である半導体装置。
発明の詳細な説明
【技術分野】
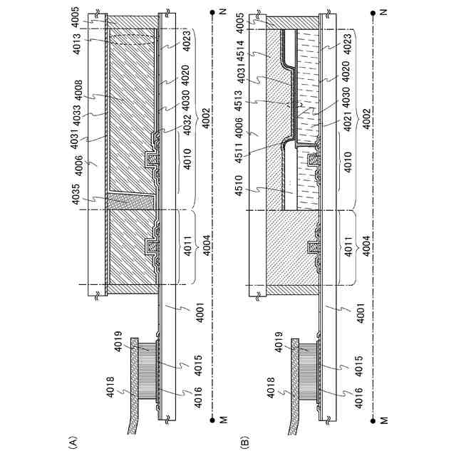
【0001】
開示する発明は、半導体装置及びその作製方法に関する。
続きを表示(約 1,400 文字)
【0002】
なお、本明細書等において半導体装置とは、半導体特性を利用することで機能しうる装置
全般を指し、電気光学装置、発光表示装置、半導体回路及び電子機器は全て半導体装置で
ある。
【背景技術】
【0003】
絶縁表面を有する基板上に形成された半導体薄膜を用いてトランジスタを構成する技術が
注目されている。該トランジスタは集積回路(IC)や画像表示装置(単に表示装置とも
表記する)のような半導体電子デバイスに広く応用されている。トランジスタに適用可能
な半導体薄膜としてシリコン系半導体材料が知られているが、その他の材料として酸化物
半導体が注目されている。
【0004】
例えば、酸化物半導体として、酸化亜鉛、In-Ga-Zn-O系酸化物を用いてトラン
ジスタを作製し、表示装置の画素のスイッチング素子などに用いる技術が特許文献1及び
特許文献2で開示されている。
【0005】
特許文献3では、酸化物半導体を用いたスタガ型のトランジスタにおいて、ソース領域お
よびドレイン領域と、ソース電極およびドレイン電極との間に、緩衝層として導電性の高
い窒素を含む酸化物半導体を設け、酸化物半導体と、ソース電極およびドレイン電極との
コンタクト抵抗を低減する技術が開示されている。
【0006】
非特許文献1では、セルフアラインでチャネル領域、ソース領域およびドレイン領域を形
成したトップゲート構造の非晶質酸化物半導体トランジスタが開示されている。
【先行技術文献】
【特許文献】
【0007】
特開2007-123861号公報
特開2007-96055号公報
特開2010-135774号公報
【非特許文献】
【0008】
Jae Chul Park et al.,”High performance amorphous oxide thin film transistors with self-aligned top-gate structure” IEDM2009, pp191-194
【発明の概要】
【発明が解決しようとする課題】
【0009】
トランジスタを含む半導体装置の高性能化に伴い、トランジスタの高速動作が求められて
いる。そこで本発明の一態様では、酸化物半導体を含み、高速動作が可能なトランジスタ
及びその作製方法を提供することを課題の一とする。または、該トランジスタを含む信頼
性の高い半導体装置及びその作製方法を提供することを課題の一とする。
【課題を解決するための手段】
【0010】
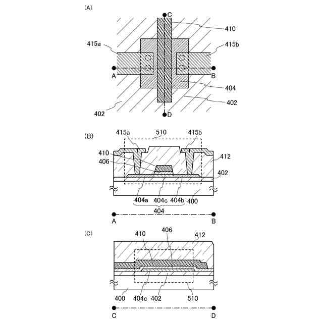
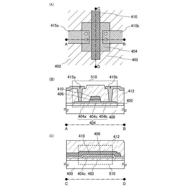
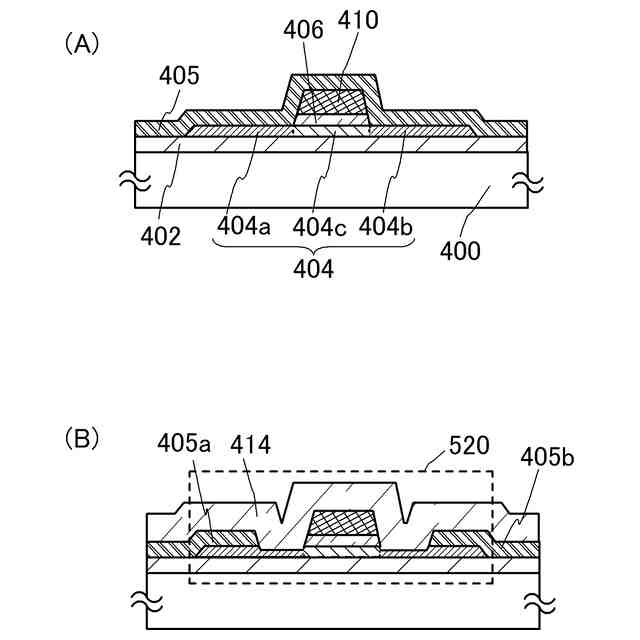
開示する発明の一態様では、チャネル形成領域と、該チャネル形成領域を挟むように設け
られ、チャネル形成領域よりも低抵抗な領域であるソース領域及びドレイン領域を含み、
チャネル形成領域、ソース領域及びドレイン領域はそれぞれ結晶性領域を含む酸化物半導
体層を有する半導体装置である。より具体的には、例えば以下の構成とすることができる
。
(【0011】以降は省略されています)
この特許をJ-PlatPat(特許庁公式サイト)で参照する
関連特許
個人
積和演算用集積回路
25日前
サンケン電気株式会社
半導体装置
24日前
エイブリック株式会社
縦型ホール素子
1か月前
エイブリック株式会社
縦型ホール素子
1か月前
旭化成株式会社
発光素子
1か月前
日機装株式会社
半導体発光装置
19日前
ローム株式会社
半導体装置
3日前
ローム株式会社
抵抗チップ
1か月前
三菱電機株式会社
半導体装置
1か月前
株式会社東芝
半導体装置
11日前
富士電機株式会社
半導体装置
1か月前
株式会社半導体エネルギー研究所
表示装置
3日前
株式会社半導体エネルギー研究所
表示装置
1か月前
三菱電機株式会社
半導体装置
11日前
ローム株式会社
半導体集積回路
1か月前
日亜化学工業株式会社
発光装置
1か月前
日亜化学工業株式会社
発光装置
1か月前
株式会社半導体エネルギー研究所
発光デバイス
19日前
ローム株式会社
半導体装置
24日前
ローム株式会社
半導体装置
1か月前
サンケン電気株式会社
半導体装置
11日前
ローム株式会社
窒化物半導体装置
1か月前
ローム株式会社
窒化物半導体装置
1か月前
富士電機株式会社
半導体装置の製造方法
1か月前
株式会社半導体エネルギー研究所
発光デバイス
1か月前
ローム株式会社
半導体装置
1か月前
日亜化学工業株式会社
発光素子
24日前
株式会社カネカ
太陽電池モジュール
1か月前
大日本印刷株式会社
太陽電池
1か月前
株式会社MARUWA
発光装置及び照明器具
1か月前
サンケン電気株式会社
発光装置
1か月前
日亜化学工業株式会社
発光装置
26日前
ローム株式会社
光センサ
1か月前
今泉工業株式会社
光発電装置及びその製造方法
1か月前
ローム株式会社
半導体装置
11日前
ローム株式会社
RAM
1か月前
続きを見る
他の特許を見る