TOP
|
特許
|
意匠
|
商標
特許ウォッチ
Twitter
他の特許を見る
公開番号
2025175106
公報種別
公開特許公報(A)
公開日
2025-11-28
出願番号
2025151996,2023174607
出願日
2025-09-12,2020-04-24
発明の名称
高度に耐久性の透過性フルオロポリマー細胞培養バッグ
出願人
ダブリュ.エル.ゴア アンド アソシエイツ,インコーポレイティド
,
W.L. GORE & ASSOCIATES, INCORPORATED
代理人
個人
,
個人
,
個人
,
個人
主分類
C12M
1/00 20060101AFI20251120BHJP(生化学;ビール;酒精;ぶどう酒;酢;微生物学;酵素学;突然変異または遺伝子工学)
要約
【課題】高度に耐久性の透過性フルオロポリマー細胞培養バッグを提供すること。
【解決手段】細胞培養バッグは、第一のフルオロポリマー及び第二のフルオロポリマーを含む複合フィルムから形成された本体を含む。第一のフルオロポリマーは第一の厚さを有し、第二のフルオロポリマーは、第一のフルオロポリマーの第一の厚さに少なくとも部分的に侵入している。複合フィルムは、0.01mm~0.059mmの第二の厚さ、及び10,000psi~92,000psiの一方向の引張強度を有する。複合フィルムはまた、O
2
フラックスが2,000cm
3
/m
2
/atm/日~20,000cm
3
/m
2
/atm/日であり、かつ、全透過率が70%~100%である。細胞培養アセンブリは、直列に接続された複数の細胞培養バッグを含む。細胞培養容器は、細胞培養コンパートメント及び該細胞培養コンパートメントに接続された複合フィルムを含む。
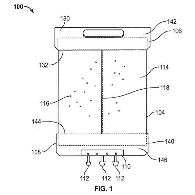
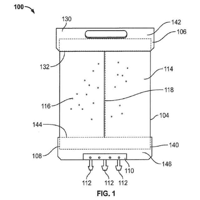
【選択図】図1
特許請求の範囲
【請求項1】
第一のフルオロポリマー及び第二のフルオロポリマーを含む複合フィルムから形成された本体を含んでなる細胞培養バッグであって、
該本体は細胞培養物を保持するように構成された細胞培養コンパートメントを画定し、
該第一のフルオロポリマーは第一の厚さを有し、
該第二のフルオロポリマーは、該第一のフルオロポリマーの第一の厚さに少なくとも部分的に侵入しており、
該複合フィルムは、0.01mm~0.059mmの第二の厚さを有し、
該複合フィルムは、10,000psi~92,000psiの一方向の引張強度を有し、
該複合フィルムは、O
2
フラックスが2,000cm
3
/m
2
/atm/日~20,000cm
3
/m
2
/atm/日であり、かつ
該複合フィルムは、全透過率が70%~100%である、細胞培養バッグ。
続きを表示(約 870 文字)
【請求項2】
前記複合フィルムはシリコーンを含まない、請求項1記載の細胞培養バッグ。
【請求項3】
前記第二のフルオロポリマーは、前記第一のフルオロポリマーの第一の厚さの0.00001mm~0.02mmまで侵入している、請求項1又は2記載の細胞培養バッグ。
【請求項4】
前記複合フィルムは、0.02mm~0.059mmの総厚を有する、請求項1~3のいずれか1項記載の細胞培養バッグ。
【請求項5】
前記複合フィルムは、水中の全有機炭素(TOC)が0.00001mg/cm
2
~1mg/cm
2
である、請求項1~4のいずれか1項記載の細胞培養バッグ。
【請求項6】
前記複合フィルムは、O
2
フラックスが8,000cm
3
/m
2
/atm/日~15,000cm
3
/m
2
/atm/日である、請求項1~5のいずれか1項記載の細胞培養バッグ。
【請求項7】
前記複合フィルムは、20,000psi~92,000psiの少なくとも一方向の引張強度を有する、請求項1~6のいずれか1項記載の細胞培養バッグ。
【請求項8】
前記複合フィルムの剥離強度は、0.25N/mm~10N/mmである、請求項1~7のいずれか1項記載の細胞培養バッグ。
【請求項9】
前記第一のフルオロポリマーは延伸ポリテトラフルオロエチレンであり、前記第二のフルオロポリマーはフッ素化エチレンプロピレンである、請求項1~8のいずれか1項記載の細胞培養バッグ。
【請求項10】
前記第一のフルオロポリマーは緻密化された延伸ポリテトラフルオロエチレンであり、前記第二のフルオロポリマーはフッ素化エチレンプロピレンである、請求項1~9のいずれか1項記載の細胞培養バッグ。
(【請求項11】以降は省略されています)
発明の詳細な説明
【技術分野】
【0001】
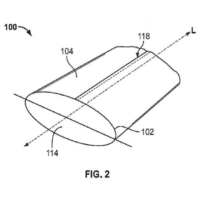
本開示は、一般に、ガス透過性材料又は構成要素、より具体的には、非極性ガス透過性を有するフルオロポリマー細胞培養バッグに関する。
続きを表示(約 2,100 文字)
【背景技術】
【0002】
細胞及び遺伝子療法は、様々な癌、神経疾患、結核及び嚢胞性線維症などの感染症、潰瘍性大腸炎、末梢動脈疾患、動脈瘤、心臓病、アルツハイマー病及びパーキンソン病、自閉症、眼科病態、糖尿病及びその他の病状を含む多くの状態を治療するための益々実行可能な方法である。一般的に細胞及び遺伝子治療に関して、様々な細胞型はインビトロで増殖されうる。インビトロ細胞培養は、細胞が、それらの自然環境の外であるが、それらの自然のインビボ条件に可能な限り近い、制御された条件下で増殖される複雑なプロセスである。
【0003】
インビトロで細胞を培養する1つの方法は、フルオロポリマー細胞培養バッグなどの細胞培養バッグを使用することによるものであり、これは、細胞培養バッグが使い捨てでありかつ閉鎖システムを提供するため、細胞培養の汚染リスクを低減する。しかしながら、幾つかの現在のフルオロポリマー細胞培養バッグは、細胞培養バッグとしてしっかりと機能するための耐久性を欠いている。具体的には、現在のフルオロポリマー細胞培養バッグは、取り扱い中に破損する可能性のある引張強度を有する。これらの細胞培養バッグの耐久性は、細胞培養バッグを形成するために使用されるフルオロポリマーフィルムの厚さを増加させることによって増加させることができる。しかしながら、フィルム厚を厚くすると、培養細胞が生き残るために必要な酸素(O
2
)及び二酸化炭素(CO
2
)の両方などのガスのガス透過が減少することになりうる。したがって、細胞の代謝及び増殖に適した環境を提供しながら、取り扱いの負荷に耐えることができる細胞培養バッグが必要である。
【0004】
インビトロで細胞を培養するための別の既存の方法は、O
2
及びCO
2
などのガスに対して透過性であるフルオロポリマーフィルムを含むフラスコなどの細胞培養容器を使用することである。現在の細胞培養容器はまた、取り扱い中に破損する可能性のある引張強度を有するフルオロポリマー複合フィルムを含む。さらに、現在の細胞培養容器は、「汚れた」フィルム、例えば、望ましくない量の抽出物及び/又は浸出物を含む複合フィルムを含むことがある。さらに、従来のフルオロポリマー複合フィルムは、細胞培養容器中を見るのに必要な透明度を備えていない。したがって、容器内の可視性を可能にし、細胞の代謝及び増殖に適した環境を提供しながら、取り扱いの負荷に耐えることができる細胞培養容器が必要とされている。
【発明の概要】
【0005】
この要旨は、本発明の様々な態様の高レベルの概要であり、以下の詳細な説明のセクションでさらに詳細に記載される幾つかの概念を紹介している。この要旨は、特許請求された主題の重要な又は本質的な特徴を特定することを意図しておらず、特許請求された主題の範囲を決定するために単独で使用されることも意図されていない。主題は、明細書全体、一部又はすべての図面、及び各請求項の適切な部分を参照することによって理解されるべきである。
【0006】
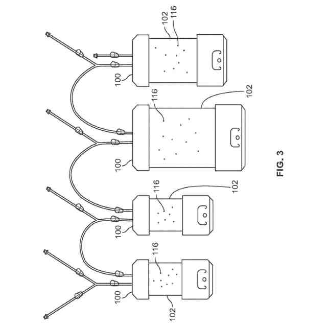
本開示の実施形態は、限定するわけではないが、第一のフルオロポリマー及び第二のフルオロポリマーを含む複合フィルムから形成された本体を含み、該本体は細胞培養物を保持するように構成された細胞培養コンパートメントを画定する、細胞培養バッグに関する。第一のフルオロポリマーは第一の厚さを有し、第二のフルオロポリマーは、第一のフルオロポリマーの第一の厚さに少なくとも部分的に侵入している。複合フィルムは、0.01mm~0.059mmの第二の総厚を有し、ここで、第二の総厚は、第一のフルオロポリマー及び第二のフルオロポリマーの合計の厚さである。複合フィルムは、10,000psi~92,000psiの一方向の引張強度を有する。複合フィルムはO
2
フラックスが2,000cm
3
/m
2
/atm/日~20,000cm
3
/m
2
/atm/日であり、全透過率が70%~100%である。
【0007】
幾つかの実施形態において、前記複合フィルムはシリコーンを含まない。
【0008】
幾つかの実施形態において、前記第二のフルオロポリマーは、前記第一のフルオロポリマーの第一の厚さの0.00001mm~0.02mmまで侵入する。
【0009】
幾つかの実施形態において、前記複合フィルムは、0.02mm~0.059mmの総厚を有する。
【0010】
幾つかの実施形態において、前記複合フィルムは、水中の全有機炭素(TOC)が0.00001mg/cm
2
~1mg/cm
2
である。
(【0011】以降は省略されています)
この特許をJ-PlatPat(特許庁公式サイト)で参照する
関連特許
個人
抗遺伝子劣化装置
3か月前
個人
細胞内探査とその利用
3か月前
三洋化成工業株式会社
細胞培養用担体
3日前
雪国アグリ株式会社
単糖類の製造方法
1か月前
日本バイリーン株式会社
細胞用支持基材
5か月前
個人
細胞培養容器
4か月前
株式会社タクマ
バイオマス処理装置
3か月前
テルモ株式会社
吐出デバイス
2か月前
株式会社東洋新薬
経口組成物
3か月前
日油株式会社
蛋白質安定化剤
4か月前
東洋紡株式会社
改変型RNAポリメラーゼ
4か月前
株式会社タクマ
バイオマス処理装置
3か月前
テルモ株式会社
容器蓋デバイス
2か月前
島根県
油吸着材とその製造方法
1か月前
宝酒造株式会社
アルコール飲料
2か月前
東ソー株式会社
pH応答性マイクロキャリア
2か月前
大陽日酸株式会社
培養装置
3か月前
大陽日酸株式会社
培養装置
3か月前
株式会社ファンケル
SEC12タンパク発現促進剤
4か月前
トヨタ自動車株式会社
バイオ燃料製造方法
2か月前
月桂冠株式会社
低プリン体清酒
1か月前
個人
有機フッ素化合物を分解する廃液処理法
1か月前
株式会社豊田中央研究所
細胞励起装置
2か月前
オンキヨー株式会社
浸漬酒の製造方法、及び、浸漬酒
5か月前
アサヒビール株式会社
柑橘風味アルコール飲料
4か月前
アサヒビール株式会社
柑橘風味アルコール飲料
4か月前
テルモ株式会社
採取組織細切補助デバイス
2か月前
株式会社シャローム
スフィンゴミエリン製造方法
3か月前
株式会社カクサスバイオ
新規免疫抑制方法
19日前
株式会社村田製作所
濾過装置および濾過方法
1か月前
新東工業株式会社
培養システム
1か月前
横河電機株式会社
藻類培養装置
2か月前
株式会社今宮
瓶詰ビールの加熱殺菌方法および装置
3か月前
東ソー株式会社
免疫学的測定法
1か月前
東ソー株式会社
免疫グロブリン結合性タンパク質の製造方法
24日前
株式会社ショウワ
キトサンオリゴマー分画方法
2か月前
続きを見る
他の特許を見る