TOP
|
特許
|
意匠
|
商標
特許ウォッチ
Twitter
他の特許を見る
10個以上の画像は省略されています。
公開番号
2025174870
公報種別
公開特許公報(A)
公開日
2025-11-28
出願番号
2025063732
出願日
2025-04-08
発明の名称
コネクタ端子、コネクタおよびコネクタ組立体
出願人
モレックス エルエルシー
,
Molex, LLC
代理人
個人
,
個人
主分類
H01R
12/77 20110101AFI20251120BHJP(基本的電気素子)
要約
【課題】プラグをコネクタに差し込む時に必要となる力の大きさを減少させ、プラグをコネクタから抜き取る時に必要となる力の大きさを減少させ、またコネクタとプラグとの結合および分離過程で、コネクタ端子およびコネクタ端子の相手方部材が損傷することを防止するコネクタ端子、コネクタおよびコネクタ組立体を提供する。
【解決手段】開示されている実施形態によるコネクタ端子20は、本体21と、該本体から前方に延びる第1アーム231と、該第1アームの一端に備えられた第1接触部233と、前記本体から前方に延び、前記第1アームより上側に配置される第2アーム251と、該第2アームの一端に形成され、前記第1接触部より後方に位置する第2接触部253とを含み、前記第1接触部は、第1傾斜面および第1傾斜面より後方に位置する第2傾斜面を含み、前記第1傾斜面が水平線となす角度は、前記第2傾斜面が水平線となす角度より大きい。
【選択図】図6
特許請求の範囲
【請求項1】
本体と、
該本体から前方に延びる第1アームと、
該第1アームの一端に備えられた第1接触部と、
前記本体から前方に延び、前記第1アームより上側に配置される第2アームと、
該第2アームの一端に形成され、前記第1接触部より後方に位置する第2接触部とを含み、
前記第1接触部は、第1傾斜面および第1傾斜面より後方に位置する第2傾斜面を含み、前記第1傾斜面が水平線となす角度は、前記第2傾斜面が水平線となす角度より大きい、
コネクタ端子。
続きを表示(約 1,300 文字)
【請求項2】
前記第1接触部は、前記第2傾斜面の後方に位置した水平面をさらに含む、
請求項1に記載のコネクタ端子。
【請求項3】
前記第1接触部は、前記第2傾斜面の後方に位置し、下向きに延びる第3傾斜面をさらに含み、
該第3傾斜面が水平線となす角度は、前記第2傾斜面が水平線となす角度と同一であるかより小さい、
請求項1に記載のコネクタ端子。
【請求項4】
前記第2接触部の最高点は、前記第1接触部の最高点より高く位置する、
請求項1に記載のコネクタ端子。
【請求項5】
前記第1アームは、前記第1接触部から後下方に延びる第1延長部、および該第1延長部から前記本体に向かって延びる第2延長部を含み、
前記第1延長部と前記第2延長部との間の曲がった地点は、前記第2接触部の前端よりも前方に位置する、
請求項1に記載のコネクタ端子。
【請求項6】
前記第2接触部の最高点は、前記第2アームの支持点の上端と同一であるか該上端より低く位置する、
請求項1に記載のコネクタ端子。
【請求項7】
前記本体は、前記第1アームの支持点または前記第2アームの支持点より前方に延び、前記第2アームの上側に位置する支持部を含む、
請求項1に記載のコネクタ端子。
【請求項8】
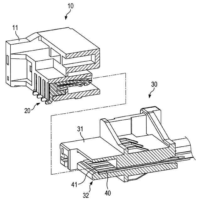
コネクタハウジングと、
該コネクタハウジングに備えられた複数の端子とを含み、
該複数の端子のうちの少なくとも一部は、請求項1に記載のコネクタ端子である、
コネクタ。
【請求項9】
コネクタおよび該コネクタに締結されるプラグを含むコネクタ組立体であって、
前記コネクタに備えられたコネクタ端子は、
本体と、
該本体から前方に延びる第1アームと、
該第1アームの一端に備えられた第1接触部と、
前記本体から前方に延び、前記第1アームより上側に配置される第2アームと、
該第2アームの一端に形成され、前記第1接触部より後方に位置する第2接触部とを含み、
前記プラグは、可撓性基板が載置されるように構成された載置面および該載置面の前記コネクタ側の端部に配置され、前記載置面より下側に突出した先端部を含むプラグハウジングを含み、
前記プラグが前記コネクタに締結されたときに、該コネクタの第1接触部および第2接触部は、前記載置面の下側に位置し、
前記先端部および前記コネクタ端子は、可撓性基板が装着されていない状態の前記プラグハウジングの前記先端部が前記第2接触部を下側に押圧するときに、該第2接触部の前端が前記第1アームを下側に押圧するように構成される、
コネクタ組立体。
【請求項10】
前記先端部は、前記載置面より下側に位置した第1底面を含み、
前記先端部は、該先端部からコネクタに向かって延びる突出部を含み、該突出部の第2底面は、前記第1底面より上側に位置する、
請求項9に記載のコネクタ組立体。
(【請求項11】以降は省略されています)
発明の詳細な説明
【技術分野】
【0001】
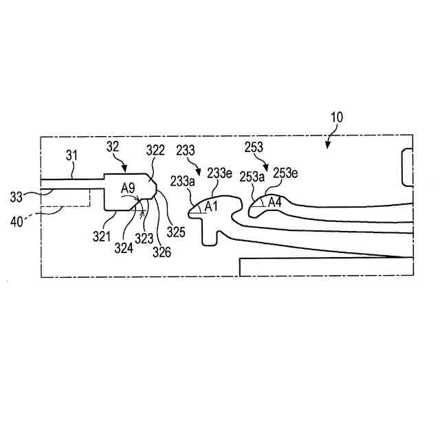
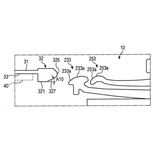
本開示は、コネクタ端子、コネクタおよびコネクタ組立体に関する。
続きを表示(約 1,500 文字)
【背景技術】
【0002】
二つの基板間の電気的信号の伝達が必要な時に、FFC(Flexible Flat Circuit)またはFPC(Flexible Printed Circuit)のような可撓性基板を用いることができる。可撓性基板の一端は、プラグハウジングに装着され、基板に備えられたコネクタに連結される。可撓性基板は、長手方向に延びる電気配線と、電気配線を包むポリイミドのような絶縁層とを含む。可撓性基板に備えられた電気配線の末端は、表面に露出し、コネクタの端子に接触する接触パッドを形成する。
【0003】
コネクタの端子は、一般的に、本体から一方向に延びるレバーと、レバーの端部に形成された接触部とを含む。端子の接触部は、その表面が、ガスによって腐食または汚染する可能性があり、可撓性基板の接触パッドとの電気的連結を確実にするために、多重接点構造を有することが有利である。例えば、中国登録実用新案第219779289号は、二つの接触部を含むコネクタ端子について開示する。
【0004】
しかし、コネクタ端子と相手方部材との間の接点が増加すると、端子と相手方部材との間の摩擦力が大きくなるため、プラグをコネクタに差し込む時に必要な差し込み力が増加する。特に、コネクタが数十個の端子を含む場合、差し込み力が端子の個数に比例して増加するため、多重接点構造を導入する場合、プラグとコネクタの締結に必要な力(以下、差し込み力)が大きくなる問題がある。また、従来のコネクタ組立体では、プラグをコネクタから分離する時にも、大きな力が必要となり、分離が難しいという問題があった。
【0005】
また、従来のコネクタ組立体では、プラグがコネクタに結合するかコネクタから分離する時に、コネクタ端子に大きな衝撃や大きな摩擦力が作用することから、コネクタ端子およびその相手方部材が損傷する問題があった。
【先行技術文献】
【特許文献】
【0006】
中国登録実用新案第219779289号
【発明の概要】
【発明が解決しようとする課題】
【0007】
本開示の実施形態は、上述の従来技術の問題を解決する。
【0008】
本開示の実施形態は、プラグをコネクタに差し込む時に必要となる力の大きさを減少させることを目的とする。また、本開示の実施形態は、プラグをコネクタから抜き取る時に必要となる力の大きさを減少させることを目的とする。また、本開示の実施形態は、コネクタとプラグとの結合および分離過程で、コネクタ端子およびコネクタ端子の相手方部材が損傷することを防止することを目的とする。
【課題を解決するための手段】
【0009】
一実施形態によるコネクタ端子は、本体と、該本体から前方に延びる第1アームと、該第1アームの一端に備えられた第1接触部と、前記本体から前方に延び、前記第1アームより上側に配置される第2アームと、該第2アームの一端に形成され、前記第1接触部より後方に位置する第2接触部とを含む。前記第1接触部は、第1傾斜面および第1傾斜面より後方に位置する第2傾斜面を含み、前記第1傾斜面が水平線となす角度は、前記第2傾斜面が水平線となす角度より大きい。
【0010】
一実施形態において、前記第1接触部は、前記第2傾斜面の後方に位置した水平面をさらに含んでもよい。
(【0011】以降は省略されています)
この特許をJ-PlatPat(特許庁公式サイト)で参照する
関連特許
モレックス エルエルシー
コネクタ端子、コネクタおよびコネクタ組立体
3日前
APB株式会社
蓄電セル
1か月前
東ソー株式会社
絶縁電線
1か月前
個人
フレキシブル電気化学素子
1か月前
ローム株式会社
半導体装置
1か月前
マクセル株式会社
電源装置
1か月前
株式会社東芝
端子台
1か月前
株式会社ユーシン
操作装置
1か月前
日新イオン機器株式会社
イオン源
1か月前
株式会社GSユアサ
蓄電設備
1か月前
株式会社GSユアサ
蓄電装置
1か月前
株式会社GSユアサ
蓄電装置
11日前
太陽誘電株式会社
コイル部品
1か月前
三菱電機株式会社
回路遮断器
19日前
株式会社GSユアサ
蓄電設備
1か月前
富士電機株式会社
電磁接触器
11日前
オムロン株式会社
電磁継電器
1か月前
株式会社ホロン
冷陰極電子源
1か月前
株式会社GSユアサ
蓄電装置
1か月前
株式会社GSユアサ
蓄電装置
25日前
トヨタ自動車株式会社
蓄電装置
3日前
日本特殊陶業株式会社
保持装置
1か月前
サクサ株式会社
電池の固定構造
1か月前
日東電工株式会社
積層体
1か月前
トヨタ自動車株式会社
冷却構造
1か月前
トヨタ自動車株式会社
蓄電装置
1か月前
トヨタ自動車株式会社
蓄電装置
1か月前
日新イオン機器株式会社
基板処理装置
1か月前
大電株式会社
電線又はケーブル
3日前
ホシデン株式会社
複合コネクタ
5日前
日本特殊陶業株式会社
保持装置
24日前
北道電設株式会社
配電具カバー
1か月前
トヨタ自動車株式会社
バッテリ
1か月前
ノリタケ株式会社
熱伝導シート
1か月前
株式会社デンソー
電子装置
1か月前
ヒロセ電機株式会社
電気コネクタ
11日前
続きを見る
他の特許を見る