TOP
|
特許
|
意匠
|
商標
特許ウォッチ
Twitter
他の特許を見る
公開番号
2025172871
公報種別
公開特許公報(A)
公開日
2025-11-26
出願番号
2025141926,2023069474
出願日
2025-08-28,2019-02-19
発明の名称
半導体装置
出願人
株式会社半導体エネルギー研究所
代理人
主分類
H10D
30/67 20250101AFI20251118BHJP()
要約
【課題】オン電流が大きい半導体装置を提供する。
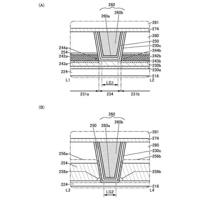
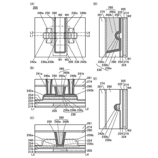
【解決手段】半導体装置において、トランジスタ200は、第1の絶縁体224、その上の第1の酸化物230a、その上の第2の酸化物230b、第3の酸化物230c、第2の酸化物上の第1、第2の導電体242a、242b、第2の絶縁体250、第3の導電体260a、第1、第2の導電体上の第4の絶縁体254及び第4の絶縁体上の第3の絶縁体280を有し、第3、第4の絶縁体には、第2の酸化物に達する開口が設けられ、第3の酸化物は、開口の内壁を覆うように配置され、第2の絶縁体は、第3の酸化物を介して、開口の内壁を覆うように配置され、第3の導電体は、第3の酸化物及び第2の絶縁体を介して、開口を埋め込むように配置され、トランジスタのチャネル長方向において、第1の絶縁体の底面と、向かい合う第1、第2の導電体の側面それぞれと、のなす角度は、90度より小さい。
【選択図】図1
特許請求の範囲
【請求項1】
トランジスタを有する半導体装置であって、
前記トランジスタは、
第1の絶縁体と、
前記第1の絶縁体上の第1の酸化物と、
前記第1の酸化物上の第1の導電体および第2の導電体と、
前記第1の酸化物上の第2の絶縁体と、
前記第2の絶縁体上の第3の導電体と、
前記第1の導電体および前記第2の導電体上の第3の絶縁体と、
前記第3の絶縁体上の第4の絶縁体と、を有し、
前記第3の絶縁体および前記第4の絶縁体には、前記第1の酸化物に達する開口が設けられ、
前記第2の絶縁体は、前記開口の内壁を覆うように配置され、
前記第3の導電体は、前記第2の絶縁体を介して、前記開口を埋め込むように配置され、
前記トランジスタのチャネル幅方向において、前記第1の絶縁体の底面を基準として、前記第1の酸化物と重ならない領域における前記第3の導電体の底面の高さは、前記第1の酸化物の底面の高さよりも低く、
前記トランジスタのチャネル長方向において、前記第1の酸化物と重ならない領域における前記第3の導電体の底面の長さは、前記第1の酸化物と重なる領域における前記第3の導電体の底面の長さよりも短く、
前記トランジスタを上面から見た場合、前記第1の導電体上の前記第3の絶縁体の側端部と、前記第2の導電体上の前記第3の絶縁体の側端部とは、曲線を有する形状である、半導体装置。
続きを表示(約 2,200 文字)
【請求項2】
トランジスタを有する半導体装置であって、
前記トランジスタは、
第1の絶縁体と、
前記第1の絶縁体上の第1の酸化物と、
前記第1の酸化物上の第1の導電体および第2の導電体と、
前記第1の酸化物上の第2の絶縁体と、
前記第2の絶縁体上の第3の導電体と、
前記第1の導電体および前記第2の導電体上の第3の絶縁体と、
前記第3の絶縁体上の第4の絶縁体と、を有し、
前記第3の絶縁体および前記第4の絶縁体には、前記第1の酸化物に達する開口が設けられ、
前記第2の絶縁体は、前記開口の内壁を覆うように配置され、
前記第3の導電体は、前記第2の絶縁体を介して、前記開口を埋め込むように配置され、
前記トランジスタのチャネル長方向において、前記第1の酸化物と重ならない領域における前記第3の導電体の底面の長さは、前記第1の酸化物と重なる領域における前記第3の導電体の底面の長さよりも短く、
前記トランジスタの前記チャネル長方向において、前記第2の絶縁体の底面に平行な面と、前記第2の導電体と向かい合う前記第1の導電体の側面とのなす角度は90度より小さく、
前記トランジスタを上面から見た場合、前記第1の導電体上の前記第3の絶縁体の側端部と、前記第2の導電体上の前記第3の絶縁体の側端部とは、曲線を有する形状である、半導体装置。
【請求項3】
トランジスタを有する半導体装置であって、
前記トランジスタは、
第1の絶縁体と、
前記第1の絶縁体上の第1の酸化物と、
前記第1の酸化物上の第1の導電体および第2の導電体と、
前記第1の酸化物上の第2の酸化物と、
前記第2の酸化物上の第2の絶縁体と、
前記第2の絶縁体上の第3の導電体と、
前記第1の導電体および前記第2の導電体上の第3の絶縁体と、
前記第3の絶縁体上の第4の絶縁体と、を有し、
前記第3の絶縁体および前記第4の絶縁体には、前記第1の酸化物に達する開口が設けられ、
前記第2の酸化物は、前記開口の内壁を覆うように配置され、
前記第2の絶縁体は、前記第2の酸化物を介して、前記開口の内壁を覆うように配置され、
前記第3の導電体は、前記第2の酸化物および前記第2の絶縁体を介して、前記開口を埋め込むように配置され、
前記トランジスタのチャネル幅方向において、前記第1の絶縁体の底面を基準として、前記第1の酸化物と重ならない領域における前記第3の導電体の底面の高さは、前記第1の酸化物の底面の高さよりも低く、
前記トランジスタのチャネル長方向において、前記第1の酸化物と重ならない領域における前記第3の導電体の底面の長さは、前記第1の酸化物と重なる領域における前記第3の導電体の底面の長さよりも短く、
前記トランジスタを上面から見た場合、前記第1の導電体上の前記第3の絶縁体の側端部と、前記第2の導電体上の前記第3の絶縁体の側端部とは、曲線を有する形状である、半導体装置。
【請求項4】
トランジスタを有する半導体装置であって、
前記トランジスタは、
第1の絶縁体と、
前記第1の絶縁体上の第1の酸化物と、
前記第1の酸化物上の第1の導電体および第2の導電体と、
前記第1の酸化物上の第2の酸化物と、
前記第2の酸化物上の第2の絶縁体と、
前記第2の絶縁体上の第3の導電体と、
前記第1の導電体および前記第2の導電体上の第3の絶縁体と、
前記第3の絶縁体上の第4の絶縁体と、を有し、
前記第3の絶縁体および前記第4の絶縁体には、前記第1の酸化物に達する開口が設けられ、
前記第2の酸化物は、前記開口の内壁を覆うように配置され、
前記第2の絶縁体は、前記第2の酸化物を介して、前記開口の内壁を覆うように配置され、
前記第3の導電体は、前記第2の酸化物および前記第2の絶縁体を介して、前記開口を埋め込むように配置され、
前記トランジスタのチャネル長方向において、前記第1の酸化物と重ならない領域における前記第3の導電体の底面の長さは、前記第1の酸化物と重なる領域における前記第3の導電体の底面の長さよりも短く、
前記トランジスタの前記チャネル長方向において、前記第2の絶縁体の底面に平行な面と、前記第2の導電体と向かい合う前記第1の導電体の側面とのなす角度は90度より小さく、
前記トランジスタを上面から見た場合、前記第1の導電体上の前記第3の絶縁体の側端部と、前記第2の導電体上の前記第3の絶縁体の側端部とは、曲線を有する形状である、半導体装置。
【請求項5】
請求項1乃至請求項4のいずれか一において、
前記第4の絶縁体は、アルミニウムの酸化物を含む、半導体装置。
【請求項6】
請求項1乃至請求項5のいずれか一において、
前記第1の酸化物は、少なくともインジウムまたは亜鉛を含む、半導体装置。
発明の詳細な説明
【技術分野】
【0001】
本発明の一態様は、半導体装置、および半導体装置の作製方法に関する。また、本発明
の一態様は、半導体ウエハ、モジュール、および電子機器に関する。
続きを表示(約 2,700 文字)
【0002】
なお、本明細書等において半導体装置とは、半導体特性を利用することで機能し得る装
置全般を指す。トランジスタなどの半導体素子をはじめ、半導体回路、演算装置、記憶装
置は、半導体装置の一態様である。表示装置(液晶表示装置、発光表示装置など)、投影
装置、照明装置、電気光学装置、蓄電装置、記憶装置、半導体回路、撮像装置、電子機器
などは、半導体装置を有すると言える場合がある。
【0003】
なお、本発明の一態様は、上記の技術分野に限定されない。本明細書等で開示する発明
の一態様は、物、方法、または、製造方法に関するものである。また、本発明の一態様は
、プロセス、マシン、マニュファクチャ、または、組成物(コンポジション・オブ・マタ
ー)に関するものである。
【背景技術】
【0004】
トランジスタに適用可能な半導体薄膜として、シリコン系半導体材料が広く知られてい
るが、その他の材料として酸化物半導体が注目されている。酸化物半導体としては、例え
ば、酸化インジウム、酸化亜鉛などの一元系金属の酸化物のみでなく、多元系金属の酸化
物も知られている。多元系金属の酸化物の中でも、特に、In-Ga-Zn酸化物(以下
、IGZOとも呼ぶ。)に関する研究が盛んに行われている。
【0005】
IGZOに関する研究により、酸化物半導体において、単結晶でも非晶質でもない、C
AAC(c-axis aligned crystalline)構造およびnc(n
anocrystalline)構造が見出された(非特許文献1乃至非特許文献3参照
。)。非特許文献1および非特許文献2では、CAAC構造を有する酸化物半導体を用い
てトランジスタを作製する技術も開示されている。さらに、CAAC構造およびnc構造
よりも結晶性の低い酸化物半導体でさえも、微小な結晶を有することが、非特許文献4お
よび非特許文献5に示されている。
【0006】
さらに、IGZOを活性層として用いたトランジスタは極めて低いオフ電流を持ち(非
特許文献6参照。)、その特性を利用したLSIおよびディスプレイが報告されている(
非特許文献7および非特許文献8参照。)。
【先行技術文献】
【非特許文献】
【0007】
S. Yamazaki et al., “SID Symposium Digest of Technical Papers”, 2012, volume 43, issue 1, p.183-186
S. Yamazaki et al., “Japanese Journal of Applied Physics”, 2014, volume 53, Number 4S, p.04ED18-1-04ED18-10
S. Ito et al., “The Proceedings of AM-FPD’13 Digest of Technical Papers”, 2013, p.151-154
S. Yamazaki et al., “ECS Journal of Solid State Science and Technology”, 2014, volume 3, issue 9, p.Q3012-Q3022
S. Yamazaki, “ECS Transactions”,2014, volume 64, issue 10, p.155-164
K. Kato et al., “Japanese Journal of Applied Physics”, 2012, volume 51, p.021201-1-021201-7
S. Matsuda et al., “2015 Symposium on VLSI Technology Digest of Technical Papers”, 2015, p.T216-T217
S. Amano et al., “SID Symposium Digest of Technical Papers”, 2010, volume 41, issue 1, p.626-629
【発明の概要】
【発明が解決しようとする課題】
【0008】
本発明の一態様は、オン電流が大きい半導体装置を提供することを課題の一つとする。
また、本発明の一態様は、高い周波数特性を有する半導体装置を提供することを課題の一
つとする。また、本発明の一態様は、信頼性が良好な半導体装置を提供することを課題の
一つとする。また、本発明の一態様は、微細化または高集積化が可能な半導体装置を提供
することを課題の一つとする。また、本発明の一態様は、良好な電気特性を有する半導体
装置を提供することを課題の一つとする。また、本発明の一態様は、生産性の高い半導体
装置を提供することを課題の一つとする。
【0009】
本発明の一態様は、長期間においてデータの保持が可能な半導体装置を提供することを
課題の一つとする。本発明の一態様は、情報の書き込み速度が速い半導体装置を提供する
ことを課題の一つとする。本発明の一態様は、設計自由度が高い半導体装置を提供するこ
とを課題の一つとする。本発明の一態様は、消費電力を抑えることができる半導体装置を
提供することを課題の一つとする。本発明の一態様は、新規な半導体装置を提供すること
を課題の一つとする。
【0010】
なお、これらの課題の記載は、他の課題の存在を妨げるものではない。なお、本発明の
一態様は、これらの課題の全てを解決する必要はないものとする。なお、これら以外の課
題は、明細書、図面、請求項などの記載から、自ずと明らかとなるものであり、明細書、
図面、請求項などの記載から、これら以外の課題を抽出することが可能である。
【課題を解決するための手段】
(【0011】以降は省略されています)
この特許をJ-PlatPat(特許庁公式サイト)で参照する
関連特許
個人
積和演算用集積回路
22日前
サンケン電気株式会社
半導体装置
21日前
旭化成株式会社
発光素子
1か月前
日機装株式会社
半導体発光装置
16日前
ローム株式会社
抵抗チップ
1か月前
株式会社東芝
半導体装置
8日前
三菱電機株式会社
半導体装置
8日前
富士電機株式会社
半導体装置
1か月前
三菱電機株式会社
半導体装置
1か月前
日亜化学工業株式会社
発光装置
1か月前
ローム株式会社
半導体集積回路
1か月前
サンケン電気株式会社
半導体装置
8日前
ローム株式会社
半導体装置
1か月前
富士電機株式会社
半導体装置の製造方法
1か月前
ローム株式会社
窒化物半導体装置
1か月前
株式会社半導体エネルギー研究所
発光デバイス
29日前
株式会社半導体エネルギー研究所
発光デバイス
16日前
ローム株式会社
半導体装置
1か月前
ローム株式会社
半導体装置
21日前
日亜化学工業株式会社
発光素子
21日前
大日本印刷株式会社
太陽電池
1か月前
日亜化学工業株式会社
発光装置
1か月前
ローム株式会社
光センサ
1か月前
日本ゼオン株式会社
構造体
23日前
日亜化学工業株式会社
発光装置
23日前
ローム株式会社
半導体装置
8日前
日亜化学工業株式会社
発光素子
21日前
今泉工業株式会社
光発電装置及びその製造方法
1か月前
株式会社東芝
半導体装置及びウエーハ
1か月前
日亜化学工業株式会社
発光装置の製造方法及び発光装置
1か月前
ローム株式会社
半導体装置
21日前
株式会社東芝
ウエーハ及び半導体装置
1日前
株式会社東芝
ウエーハ及び半導体装置
1日前
ローム株式会社
半導体装置
1か月前
住友電気工業株式会社
炭化珪素半導体装置
1か月前
住友電気工業株式会社
炭化珪素半導体装置
1か月前
続きを見る
他の特許を見る