TOP
|
特許
|
意匠
|
商標
特許ウォッチ
Twitter
他の特許を見る
10個以上の画像は省略されています。
公開番号
2025172868
公報種別
公開特許公報(A)
公開日
2025-11-26
出願番号
2025141884,2022510734
出願日
2025-08-28,2021-03-26
発明の名称
撮像装置及び電子機器
出願人
ソニーセミコンダクタソリューションズ株式会社
代理人
弁理士法人酒井国際特許事務所
主分類
H10F
39/18 20250101AFI20251118BHJP()
要約
【課題】位相差検出の精度を向上させつつ、撮像画像の劣化を避けることができる撮像装置及び電子機器を提供する。
【解決手段】複数の撮像素子を備える撮像装置であって、複数の撮像素子のそれぞれは、第1の導電型の不純物を含む複数の画素と、前記複数の画素を取り囲み、且つ、半導体基板を貫通するように設けられた素子分離壁と、前記複数の画素が共有するように前記半導体基板の受光面の上方に設けられたオンチップレンズと、前記素子分離壁により取り囲まれた領域に設けられ、前記複数の画素を分離する第1の分離部とを有し、前記第1の分離部は、前記半導体基板の厚み方向に延伸するように設けられ、前記第1の分離部は、前記受光面の上方から見た場合、前記素子分離壁に接する第1領域と、前記第1領域に接する第2領域とを含み、前記第2領域は、前記第1領域より太い幅を持つ、撮像装置を提供する。
【選択図】図45
特許請求の範囲
【請求項1】
半導体基板と、
前記半導体基板上に行方向及び列方向に沿ってマトリックス状に配列し、入射された光に対して光電変換を行う、複数の撮像素子と、
を備え、
前記複数の撮像素子のそれぞれは、
前記半導体基板内に互いに隣接するように設けられ、第1の導電型の不純物を含む複数の画素と、
前記複数の画素を取り囲み、且つ、前記半導体基板を貫通するように設けられた素子分離壁と、
前記複数の画素が共有するように前記半導体基板の受光面の上方に設けられたオンチップレンズと、
前記素子分離壁により取り囲まれた領域に設けられ、前記複数の画素を分離する第1の分離部と、
を有し、
前記第1の分離部は、前記半導体基板の厚み方向に延伸するように設けられ、
前記第1の分離部は、前記受光面の上方から見た場合、前記素子分離壁に接する第1領域と、前記第1領域に接する第2領域とを含み、前記第2領域は、前記第1領域より太い幅を持つ、
撮像装置。
続きを表示(約 790 文字)
【請求項2】
前記第2領域は、前記第1領域よりも前記撮像素子の中心側に設けられている、
請求項1に記載の撮像装置。
【請求項3】
前記第1の分離部は、延伸部および突起部を有し、
前記受光面の上方から見た場合、前記延伸部の表面が前記第1領域であり、前記突起部の表面が前記第2領域である、
請求項1に記載の撮像装置。
【請求項4】
前記受光面の上方から見た場合、前記突起部の幅は、前記延伸部の線幅より長い、
請求項3に記載の撮像装置。
【請求項5】
前記第1の分離部は、前記受光面の上方から見た場合、T字形状に形成されている、
請求項1に記載の撮像装置。
【請求項6】
半導体基板と、
前記半導体基板上に行方向及び列方向に沿ってマトリックス状に配列し、入射された光に対して光電変換を行う、複数の撮像素子と、
を有する撮像装置を備え、
前記複数の撮像素子のそれぞれは、
前記半導体基板内に互いに隣接するように設けられ、第1の導電型の不純物を含む複数の画素と、
前記複数の画素を取り囲み、且つ、前記半導体基板を貫通するように設けられた素子分離壁と、
前記複数の画素が共有するように前記半導体基板の受光面の上方に設けられたオンチップレンズと、
前記素子分離壁により取り囲まれた領域に設けられ、前記複数の画素を分離する第1の分離部と、
を有し、
前記第1の分離部は、前記半導体基板の厚み方向に延伸するように設けられ、
前記第1の分離部は、前記受光面の上方から見た場合、前記素子分離壁に接する第1領域と、前記第1領域に接する第2領域とを含み、前記第2領域は、前記第1領域より太い幅を持つ、
電子機器。
発明の詳細な説明
【技術分野】
【0001】
本開示は、撮像装置及び電子機器に関する。
続きを表示(約 6,300 文字)
【背景技術】
【0002】
近年、撮像装置においては、オートフォーカス機能として、一対の位相差検出画素を用いて位相差を検出する手法が採用されている。このような例としては、下記の特許文献1に開示されている撮像素子を挙げることができる。当該特許文献1に開示の技術においては、受光面上に、被写体の撮像を行う有効画素と、上述のような位相差を検出する位相差検出画素との両方が、別々に設けられている。
【先行技術文献】
【特許文献】
【0003】
特開2000-292685号公報
【発明の概要】
【発明が解決しようとする課題】
【0004】
しかしながら、上記特許文献1に開示の技術においては、被写体の撮像画像を取得する際、位相差検出画素で得られる情報は、撮像画素からの情報と同様の情報として利用することが難しい。そのため、位相差検出画素の周辺の有効画素からの情報を用いて、位相差検出画素に対応する画素の画像に対して補間を行い、撮像画像を生成することとなる。すなわち、上記特許文献1に開示の技術においては、位相差検出を行うために位相差検出画素を設けることから、位相差検出画素に対応する撮像画像の情報の欠損による、撮像画像の劣化を避けることが難しい。
【0005】
そこで、本開示では、位相差検出の精度を向上させつつ、撮像画像の劣化を避けることができる撮像装置及び電子機器を提案する。
【課題を解決するための手段】
【0006】
本開示によれば、半導体基板と、前記半導体基板上に行方向及び列方向に沿ってマトリックス状に配列し、入射された光に対して光電変換を行う、複数の撮像素子と、を備え、前記複数の撮像素子のそれぞれは、前記半導体基板内に互いに隣接するように設けられ、第1の導電型の不純物を含む複数の画素と、前記複数の画素を取り囲み、且つ、前記半導体基板を貫通するように設けられた素子分離壁と、前記複数の画素が共有するように前記半導体基板の受光面の上方に設けられたオンチップレンズと、前記素子分離壁により取り囲まれた領域に設けられ、前記複数の画素を分離する第1の分離部と、を有し、前記第1の分離部は、前記半導体基板の厚み方向に延伸するように設けられ、前記第1の分離部は、前記受光面の上方から見た場合、前記素子分離壁に接する第1領域と、前記第1領域に接する第2領域とを含み、前記第2領域は、前記第1領域より太い幅を持つ、撮像装置が提供される。
【0007】
また、本開示によれば、半導体基板と、前記半導体基板上に行方向及び列方向に沿ってマトリックス状に配列し、入射された光に対して光電変換を行う、複数の撮像素子と、を備え、前記複数の撮像素子のそれぞれは、前記半導体基板内に互いに隣接するように設けられ、第1の導電型の不純物を含む複数の画素と、前記複数の画素を分離する画素分離壁と、前記複数の画素が共有するように前記半導体基板の受光面の上方に設けられたオンチップレンズと、を有し、前記画素分離壁は、前記半導体基板の厚み方向に沿って、前記受光面から、前記半導体基板の途中まで延伸するように設けられ、前記半導体基板の厚み方向において、前記画素分離壁に対して、前記受光面と反対側に位置する領域は、前記第1の導電型とは反対の導電型を持つ第2の導電型の不純物を含む、撮像装置が提供される。
【0008】
さらに、本開示によれば、半導体基板と、前記半導体基板上に行方向及び列方向に沿ってマトリックス状に配列し、入射された光に対して光電変換を行う、複数の撮像素子と、を有する撮像装置を備え、前記複数の撮像素子のそれぞれは、前記半導体基板内に互いに隣接するように設けられ、第1の導電型の不純物を含む複数の画素と、前記複数の画素を取り囲み、且つ、前記半導体基板を貫通するように設けられた素子分離壁と、前記複数の画素が共有するように前記半導体基板の受光面の上方に設けられたオンチップレンズと、前記素子分離壁により取り囲まれた領域に設けられ、前記複数の画素を分離する第1の分離部と、を有し、前記第1の分離部は、前記半導体基板の厚み方向に延伸するように設けられ、前記第1の分離部は、前記受光面の上方から見た場合、前記素子分離壁に接する第1領域と、前記第1領域に接する第2領域とを含み、前記第2領域は、前記第1領域より太い幅を持つ、電子機器が提供される。
【図面の簡単な説明】
【0009】
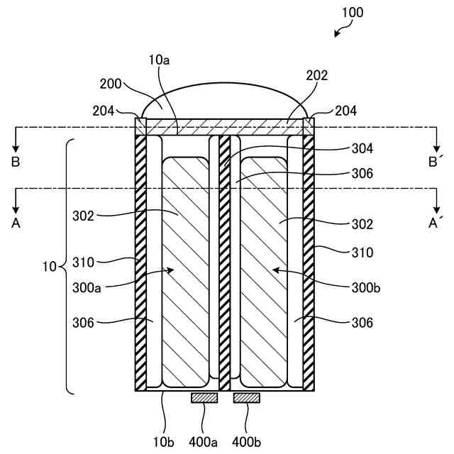
本開示の実施形態に係る撮像装置1の平面構成例を示す説明図である。
本開示の第1の実施形態に係る撮像素子100の断面の一部を示す説明図(その1)である。
本開示の第1の実施形態に係る撮像素子100の断面の一部を示す説明図(その2)である。
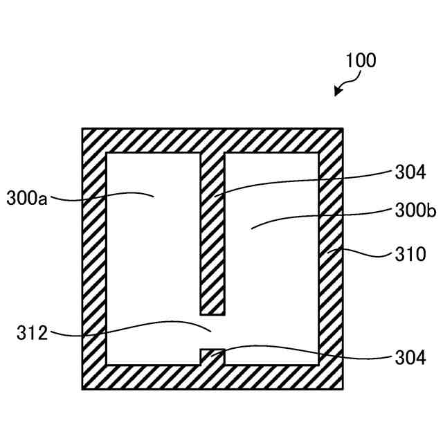
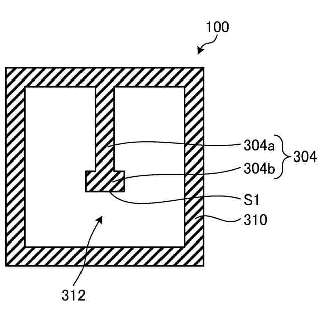
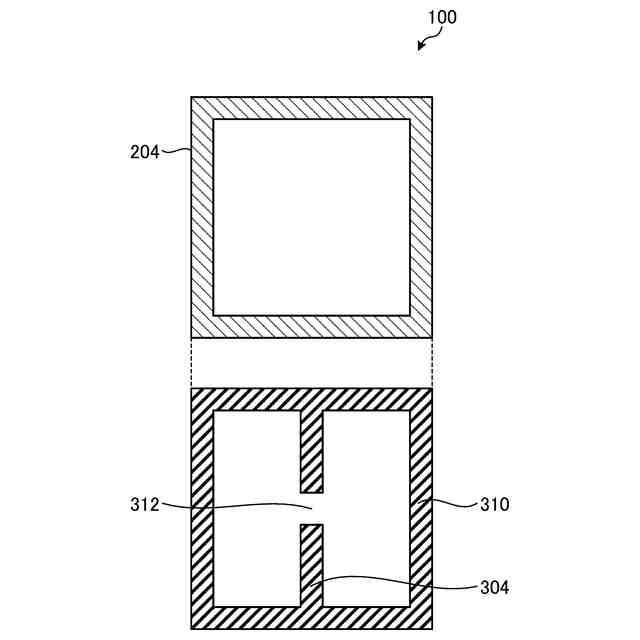
本開示の第1の実施形態に係る撮像素子100の平面を示す説明図である。
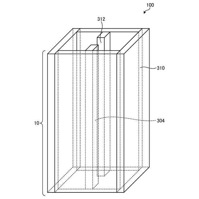
本開示の第1の実施形態に係る撮像素子100の透過斜視図である。
本開示の第1の実施形態に係る遮光部204の構成例を示す説明図である。
本開示の第1の実施形態の変形例に係る遮光部204の構成例を示す説明図である。
本開示の第2の実施形態に係る撮像素子100の平面を示す説明図である。
本開示の第3の実施形態に係る撮像素子100の平面を示す説明図である。
本開示の第4の実施形態に係る撮像素子100の平面を示す説明図(その1)である。
本開示の第4の実施形態に係る撮像素子100の平面を示す説明図(その2)である。
本開示の第4の実施形態に係る撮像素子100の平面を示す説明図(その3)である。
本開示の第5の実施形態に係る撮像素子100の平面を示す説明図である。
本開示の第6の実施形態に係る撮像素子100の平面を示す説明図である。
本開示の第7の実施形態に係る撮像素子100の平面を示す説明図である。
本開示の第7の実施形態に係る遮光部204の構成例を示す説明図である。
本開示の第8の実施形態に係る撮像素子100の断面の一部を示す説明図(その1)である。
本開示の第8の実施形態に係る撮像素子100の平面を示す説明図(その1)である。
本開示の第8の実施形態に係る撮像素子100の平面を示す説明図(その2)である。
本開示の第8の実施形態に係る撮像素子100の断面の一部を示す説明図(その2)である。
本開示の第8の実施形態に係る色毎の撮像素子100の断面の一部を示す説明図(その3)である。
本開示の第8の実施形態に係る撮像素子100の平面を示す説明図(その3)である。
本開示の第8の実施形態に係る撮像素子100の断面の一部を示す説明図(その4)である。
本開示の第8の実施形態に係る撮像素子100の平面を示す説明図(その4)である。
本開示の第8の実施形態に係る撮像素子100の断面の一部を示す説明図(その5)である。
本開示の第8の実施形態に係る撮像素子100の製造工程の一部を説明するためのプロセス断面図である。
本開示の第9の実施形態に係る撮像素子100の平面を示す説明図である。
本開示の第9の実施形態に係る撮像素子100の断面の一部を示す説明図(その1)である。
本開示の第9の実施形態の比較例に係る撮像素子100の断面の一部を示す説明図である。
本開示の第9の実施形態に係る撮像素子100の断面の一部を示す説明図(その2)である。
本開示の第9の実施形態に係る撮像素子100の断面の一部を示す説明図(その3)である。
本開示の第9の実施形態に係る撮像素子100の断面の一部を示す説明図(その4)である。
本開示の第9の実施形態に係る撮像素子100の断面の一部を示す説明図(その5)である。
本開示の第9の実施形態に係る撮像素子100の断面の一部を示す説明図(その6)である。
本開示の第9の実施形態に係る撮像素子100の断面の一部を示す説明図(その7)である。
本開示の第9の実施形態に係る撮像素子100の平面を示す説明図(その2)である。
本開示の第9の実施形態に係る撮像装置1の製造工程の一部を説明するためのプロセス断面図(その1)である。
本開示の第9の実施形態に係る撮像装置1の製造工程の一部を説明するためのプロセス断面図(その2)である。
本開示の第10の実施形態に係る撮像素子100の平面を示す説明図(その1)である。
本開示の第10の実施形態に係る撮像素子100の断面の一部を示す説明図である。
本開示の第10の実施形態の比較例に係る撮像素子100の断面の一部を示す説明図である。
本開示の第10の実施形態に係るスリット幅と突出部幅との関係を示すグラフである。
本開示の第9の実施形態に係る撮像素子100の製造工程の一部を説明するためのプロセス断面図(その1)である。
本開示の第9の実施形態に係る撮像素子100の製造工程の一部を説明するためのプロセス断面図(その2)である。
本開示の第10の実施形態に係る撮像素子100の平面を示す説明図(その2)である。
本開示の第10の実施形態に係る撮像素子100の平面を示す説明図(その3)である。
本開示の第10の実施形態に係る撮像素子100の平面を示す説明図(その4)である。
本開示の第10の実施形態に係る撮像素子100の平面を示す説明図(その5)である。
本開示の第10の実施形態に係る撮像素子100の平面を示す説明図(その6)である。
本開示の第10の実施形態に係る撮像素子100の平面を示す説明図(その7)である。
本開示の第11の実施形態に係る撮像素子100の平面を示す説明図(その1)である。
本開示の第11の実施形態の比較例に係る撮像素子100の平面を示す説明図である。
本開示の第11の実施形態に係る撮像素子100の製造工程の一部を説明するためのプロセス断面図である。
本開示の第11の実施形態に係る撮像素子100の平面を示す説明図(その2)である。
本開示の第11の実施形態に係る撮像素子100の平面を示す説明図(その3)である。
本開示の第11の実施形態に係る撮像素子100の平面を示す説明図(その4)である。
本開示の第11の実施形態に係る撮像素子100の平面を示す説明図(その5)である。
本開示の第12の実施形態に係る撮像素子100の平面を示す説明図(その1)である。
本開示の第12の実施形態に係る撮像素子100の両面及び断面を示す説明図(その1)である。
本開示の第12の実施形態に係る撮像素子100のスリット幅と集光特性及び画素特性との関係を示す説明図である。
本開示の第12の実施形態に係る撮像素子100の両面及び断面を示す説明図(その2)である。
本開示の第12の実施形態に係る撮像素子100の断面を示す説明図(その3)である。
本開示の第12の実施形態に係る撮像素子100の断面を示す説明図(その4)である。
本開示の第12の実施形態に係る撮像素子100の断面を示す説明図(その5)である。
本開示の第12の実施形態に係る撮像素子100の両面及び断面を示す説明図(その6)である。
本開示の第12の実施形態に係る撮像素子100の断面を示す説明図(その7)である。
本開示の第12の実施形態に係る撮像素子100の両面を示す説明図(その8)である。
本開示の第12の実施形態に係る撮像素子100の両面及び断面を示す説明図(その9)である。
本開示の第12の実施形態に係る撮像素子100の両面及び断面を示す説明図(その10)である。
本開示の第12の実施形態に係る撮像素子100の両面を示す説明図(その11)である。
本開示の第12の実施形態に係る撮像素子100の両面を示す説明図(その12)である。
本開示の第12の実施形態に係る撮像素子100の製造工程の一部を説明するためのプロセス断面図である。
本開示の第13の実施形態に係る撮像素子100の平面を示す説明図(その1)である。
本開示の第13の実施形態の比較例に係る撮像素子100の平面を示す説明図である。
本開示の第13の実施形態に係る撮像素子100の平面を示す説明図(その2)である。
本開示の第13の実施形態に係る撮像素子100の平面を示す説明図(その3)である。
本開示の第13の実施形態に係る撮像素子100の平面を示す説明図(その4)である。
本開示の第13の実施形態に係る撮像素子100の平面を示す説明図(その5)である。
本開示の他の実施形態に係る撮像素子100の平面を示す説明図(その1)である。
本開示の他の実施形態に係る構造毎の撮像素子100の断面の一部を示す説明図(その1)である。
本開示の他の実施形態に係る撮像素子100の平面を示す説明図である(その2)。
本開示の他の実施形態に係る構造毎の撮像素子100の断面の一部を示す説明図である(その2)。
本開示の他の実施形態に係る撮像素子100の平面を示す説明図である(その3)。
本開示の他の実施形態に係る撮像素子100の平面を示す説明図である(その4)。
本開示の実施形態に係る撮像装置1が適用可能な2層積層型構造の断面を示す説明図である。
本開示の実施形態に係る撮像装置1が適用可能な3層積層型構造の断面を示す説明図である。
本開示の実施形態に係る撮像装置1が適用可能な2段画素構造の断面を示す説明図である。
本開示の実施形態に係る撮像素子100の平面を示す説明図である。
本開示の実施形態に係る複数の撮像素子100の平面を示す説明図である。
カメラの概略的な機能構成の一例を示す説明図である。
スマートフォンの概略的な機能構成の一例を示すブロック図である。
内視鏡手術システムの概略的な構成の一例を示す図である。
カメラヘッド及びCCUの機能構成の一例を示すブロック図である。
車両制御システムの概略的な構成の一例を示すブロック図である。
車外情報検出部及び撮像部の設置位置の一例を示す説明図である。
【発明を実施するための形態】
【0010】
以下に、本開示の実施形態について図面に基づいて詳細に説明する。なお、以下の各実施形態において、同一の部位には同一の符号を付することにより重複する説明を省略する。
(【0011】以降は省略されています)
この特許をJ-PlatPat(特許庁公式サイト)で参照する
関連特許
個人
積和演算用集積回路
22日前
サンケン電気株式会社
半導体装置
21日前
日機装株式会社
半導体発光装置
16日前
旭化成株式会社
発光素子
1か月前
エイブリック株式会社
縦型ホール素子
1か月前
エイブリック株式会社
縦型ホール素子
1か月前
ローム株式会社
抵抗チップ
1か月前
ローム株式会社
半導体装置
今日
株式会社東芝
半導体装置
8日前
株式会社半導体エネルギー研究所
表示装置
今日
株式会社半導体エネルギー研究所
表示装置
1か月前
三菱電機株式会社
半導体装置
8日前
三菱電機株式会社
半導体装置
1か月前
富士電機株式会社
半導体装置
1か月前
ローム株式会社
半導体集積回路
1か月前
日亜化学工業株式会社
発光装置
1か月前
株式会社半導体エネルギー研究所
発光デバイス
29日前
株式会社半導体エネルギー研究所
発光デバイス
16日前
ローム株式会社
窒化物半導体装置
1か月前
サンケン電気株式会社
半導体装置
8日前
富士電機株式会社
半導体装置の製造方法
1か月前
ローム株式会社
半導体装置
1か月前
ローム株式会社
半導体装置
21日前
ローム株式会社
半導体装置
1か月前
ローム株式会社
窒化物半導体装置
1か月前
大日本印刷株式会社
太陽電池
1か月前
日亜化学工業株式会社
発光素子
21日前
ローム株式会社
光センサ
1か月前
日亜化学工業株式会社
発光素子
21日前
日本ゼオン株式会社
構造体
23日前
日亜化学工業株式会社
発光装置
23日前
今泉工業株式会社
光発電装置及びその製造方法
1か月前
ローム株式会社
半導体装置
8日前
日亜化学工業株式会社
発光装置
1か月前
ローム株式会社
半導体装置
21日前
ローム株式会社
半導体装置
1か月前
続きを見る
他の特許を見る