TOP
|
特許
|
意匠
|
商標
特許ウォッチ
Twitter
他の特許を見る
10個以上の画像は省略されています。
公開番号
2025172865
公報種別
公開特許公報(A)
公開日
2025-11-26
出願番号
2025141837,2024503470
出願日
2025-08-28,2022-07-11
発明の名称
ターンオン/ターンオフ挙動のバランスのための非対称な集積集中ゲート抵抗器及び/又はパワー処理の向上のための複数の離間した集中ゲート抵抗器を有する半導体デバイス
出願人
ウルフスピード インコーポレイテッド
,
WOLFSPEED,INC.
代理人
弁理士法人浅村特許事務所
主分類
H10D
84/80 20250101AFI20251118BHJP()
要約
【課題】ゲート・パッドと、ゲート・バスと、ゲート・パッドとゲート・バスとの間に電気的に挿入されるゲート抵抗器構造とを含む半導体デバイスを提供する。
【解決手段】半導体デバイスにおいて、ゲート抵抗器構造は、ゲート・パッドからゲート・バスへ流れる電流に関して第1の抵抗値と、ゲート・バスからゲート・パッドへ流れる電流に関して第2の抵抗値とを有し、第1の抵抗値は、第2の抵抗値とは異なり、第1及び第2の抵抗値は、半導体デバイスのターンオン及びターンオフ・スイッチング挙動のバランスを改善するように設定されている。
【選択図】図2B
特許請求の範囲
【請求項1】
ゲート・パッドと、
ゲート・バスと、
前記ゲート・パッドと前記ゲート・バスとの間に電気的に挿入されるゲート抵抗器構造と
を含む半導体デバイスであって、
前記ゲート抵抗器構造は、前記ゲート・パッドから前記ゲート・バスへ流れる電流に関して第1の抵抗値と、前記ゲート・バスから前記ゲート・パッドへ流れる電流に関して第2の抵抗値とを有し、前記第1の抵抗値は、前記第2の抵抗値とは異なり、
前記第1及び第2の抵抗値は、前記半導体デバイスのターンオン及びターンオフ・スイッチング挙動のバランスを改善するように設定されている、半導体デバイス。
続きを表示(約 1,300 文字)
【請求項2】
複数のユニット・セル・トランジスタを有する活性エリアを含むワイド・バンドギャップ半導体層構造をさらに含み、
前記ゲート・パッド、前記ゲート・バス及び前記ゲート抵抗器構造は、前記ワイド・バンドギャップ半導体層構造の上側面にある、請求項1に記載の半導体デバイス。
【請求項3】
前記ゲート抵抗器構造の前記上側面に直接ある内部誘電体パターンをさらに含む、請求項2に記載の半導体デバイス。
【請求項4】
前記ゲート抵抗器構造は、
複数の第1のゲート抵抗器と、
複数の第1のスイッチと、
複数の第2のゲート抵抗器と、
複数の第2のスイッチと
を含む、請求項1から3までのいずれか一項に記載の半導体デバイス。
【請求項5】
前記複数の第1のゲート抵抗器のそれぞれ及び前記複数の第1のスイッチのうちのそれぞれの第1のスイッチは、前記ゲート・パッドと前記ゲート・フィンガとの間に結合され、前記複数の第2のゲート抵抗器のそれぞれ及び前記複数の第2のスイッチのうちのそれぞれの第2のスイッチは、前記ゲート・パッドと前記ゲート・フィンガとの間に結合されている、請求項4に記載の半導体デバイス。
【請求項6】
前記複数の第1のスイッチのそれぞれは、第1のダイオードを含み、前記複数の第2のスイッチのそれぞれは、第2のダイオードを含む、請求項5に記載の半導体デバイス。
【請求項7】
前記第1のダイオードのそれぞれは、前記複数の第1のゲート抵抗器のうちのそれぞれの第1のゲート抵抗器内に実装され、前記第2のダイオードのそれぞれは、前記複数の第2のゲート抵抗器のうちのそれぞれの第2のゲート抵抗器内に実装されている、請求項6に記載の半導体デバイス。
【請求項8】
前記第1のダイオードは、順バイアスされると電流が前記ゲート・パッドから前記ゲート・バスへ流れることを可能にするように構成され、前記第2のダイオードは、順バイアスされると電流が前記ゲート・バスから前記ゲート・パッドへ流れることを可能にするように構成されている、請求項7に記載の半導体デバイス。
【請求項9】
前記複数の第1のゲート抵抗器のそれぞれ及び前記複数の第2のゲート抵抗器のそれぞれは、p-n-p接合を形成している、n型半導体材料の第1のセクション、p型半導体材料の第2のセクション、及びp型半導体材料の第3のセクションを含む、請求項4に記載の半導体デバイス。
【請求項10】
前記複数の第1のゲート抵抗器のうちのそれぞれの第1のゲート抵抗器の前記第1のセクションを前記複数の第1のゲート抵抗器のうちのそれぞれの第1のゲート抵抗器の前記第3のセクションにそれぞれ短絡させる複数の第1の金属コネクタと、
前記複数の第2のゲート抵抗器のうちのそれぞれの第2のゲート抵抗器の前記第1のセクションを前記複数の第2のゲート抵抗器のうちのそれぞれの第2のゲート抵抗器の前記第2のセクションにそれぞれ短絡させる複数の第2の金属コネクタと
をさらに含む、請求項9に記載の半導体デバイス。
発明の詳細な説明
【技術分野】
【0001】
本出願は、2021年7月22日に出願された米国特許出願シリアル番号17/382,407号及び2022年6月17日に出願された米国特許出願シリアル番号17/843,010号に対する優先権を主張し、それら米国特許出願のそれぞれの内容全体はその全体が記載されたかのように参照により本明細書に組み込まれる。
続きを表示(約 2,500 文字)
【0002】
本発明は、半導体デバイスに関し、より詳細には、集中ゲート抵抗器を有する半導体デバイスに関する。
【背景技術】
【0003】
例えば、パワー金属酸化物半導体電界効果トランジスタ(「MOSFET:Metal Oxide Semiconductor Field Effect Transistor」)、絶縁ゲート・バイポーラ・トランジスタ(「IGBT:Insulated Gate Bipolar Transistor」)及び他の様々なデバイスを含め、当該技術分野において多種多様なパワー半導体デバイスが知られている。これらのパワー半導体デバイスは多くの場合、炭化ケイ素又は窒化ガリウム系材料などのワイド・バンドギャップ半導体材料から作製される。本明細書において、「ワイド・バンドギャップ半導体」という用語は、少なくとも1.4eVのバンドギャップを有するいかなる半導体も含む。パワー半導体デバイスは、高電圧及び/又は大電流を選択的に阻止する又は通すように設計される。例えば、阻止状態において、パワー半導体デバイスは、数百又は数千ボルトの電位に耐えるように設計され得る。
【0004】
パワーMOSFETなどのパワー半導体デバイスは、横型構造又は縦型構造を有することができる。横型構造を有するパワーMOSFETは、デバイスの半導体層構造の同じ主面(すなわち、上側又は下側)上にMOSFETのソース領域及びドレイン領域の両方を有する。これに対し、縦型構造を有するパワーMOSFETは、そのソース領域を半導体層構造の一方の主面上に有し、そのドレイン領域をその他方の(反対側の)主面上に有する。縦型デバイス構造は典型的に、高い電流密度に耐えるとともに高電圧を阻止することができる厚い半導体ドリフト層を縦型構造が可能にするため、非常に高い電力の用途に使用される。本明細書において、「半導体層構造」という用語は、p-n接合が形成される1つ又は複数の半導体層を含む構造を指す。半導体層構造は典型的に、複数の半導体エピタキシャル層が形成されている半導体基板を含む。ワイド・バンドギャップ半導体層構造とは、1つ又は複数のワイド・バンドギャップ半導体材料にp-n接合が形成される半導体層構造を指す。
【0005】
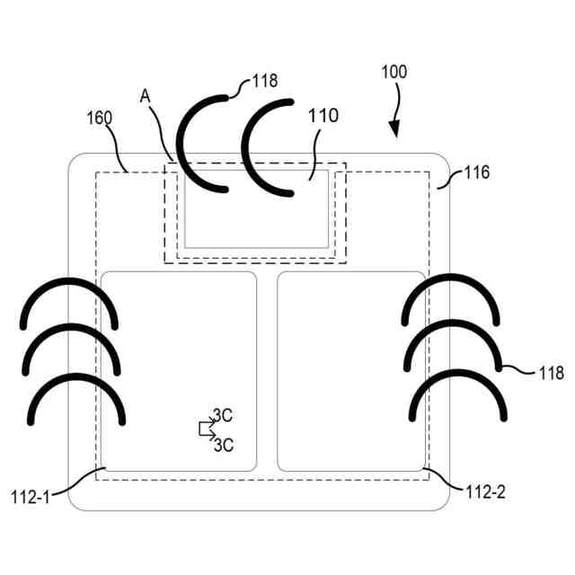
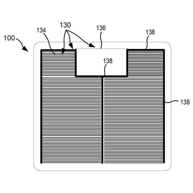
従来の炭化ケイ素縦型パワーMOSFETは、炭化ケイ素ウェハなどの炭化ケイ素基板上に形成される炭化ケイ素ドリフト領域を含む。ドリフト領域とは逆の導電型を有するいわゆる「ウェル」領域がドリフト領域の上側部分に形成され、ドリフト領域と同じ導電型を有する炭化ケイ素ソース領域がウェル領域内に形成される。炭化ケイ素基板、炭化ケイ素ドリフト領域、炭化ケイ素ウェル領域及び炭化ケイ素ソース領域が、パワーMOSFETの半導体層構造を形成する。半導体層構造内又は上にゲート・フィンガが形成されて個々のユニット・セル・トランジスタを形成する。
【0006】
ユニット・セル・トランジスタは、MOSFETのいわゆる「活性領域」内に形成される。MOSFETは、活性領域及び/又はゲート・ボンド・パッド領域を囲み得る終端領域などの1つ又は複数の不活性領域をさらに含む。活性領域は、逆バイアス動作時に電圧を阻止するとともに順バイアス動作時に電流の流れを提供する主接合として働く。パワーMOSFETは典型的に、ユニット・セル構造を有しており、ユニット・セル構造とは、活性領域が、単一のパワーMOSFETとして機能するように電気的に並列に接続されている多数の個々の「ユニット・セル」MOSFETを含むことを意味する。高電力用途において、そのようなデバイスは、数千又は数万のユニット・セルを含み得る。
【0007】
パワーMOSFET及びIGBTなどの多くのパワー半導体デバイスは、ゲート構造を有する。これらのデバイスは、そのゲート構造に種々のバイアス電圧を印加することによって、オン及びオフにすることができる。ゲート構造は、ゲート・ボンド・パッド(又は他のゲート端子)から各個々のユニット・セルのゲート・フィンガにかけての電気経路の長さとゲート構造を形成する材料のシート抵抗とに応じて決まる分布ゲート抵抗を有する。ゲート構造は例えば、ゲート・ボンド・パッドと、デバイスの活性領域内に複数のゲート・フィンガと、ゲート・パッドと、ゲート・パッドとゲート・フィンガとの間に延びている1つ又は複数のゲート・バスと、を含み得る。多くの用途において、例えば、1つ又は複数の個別又は「集中」ゲート抵抗器をゲート構造内に付加することによって、ゲート抵抗の量を増加させることが望ましい場合がある。ゲート抵抗の増加は例えば、デバイスのスイッチング速度を制限するのに用いられ得るか、又は、結果としてデバイス故障を生じさせる可能性がある発振を生じさせかねない電気リンギング及び/又はノイズを低減させるのに用いられ得る。
【発明の概要】
【課題を解決するための手段】
【0008】
本発明の実施例によれば、ゲート・パッドと、複数のゲート・フィンガと、ゲート・パッドとゲート・フィンガとの間に結合される第1のゲート抵抗器及び第1のスイッチと、を含む、半導体デバイスが提供される。
【0009】
いくつかの実施例では、第1のスイッチは、ダイオードとすることができる。いくつかの実施例では、ダイオードは、第1のゲート抵抗器内に実装され得る。
【0010】
いくつかの実施例では、半導体デバイスは、ゲート・パッドとゲート・フィンガとの間に結合される、第2のゲート抵抗器とダイオードなどの第2のスイッチとをさらに含む。第1のダイオードが、順バイアスされると電流がゲート・パッドからゲート・フィンガへ流れることを可能にし、第2のダイオードが、順バイアスされると電流がゲート・フィンガからゲート・パッドへ流れることを可能にする。
(【0011】以降は省略されています)
この特許をJ-PlatPat(特許庁公式サイト)で参照する
関連特許
個人
積和演算用集積回路
21日前
サンケン電気株式会社
半導体装置
20日前
日機装株式会社
半導体発光装置
15日前
エイブリック株式会社
縦型ホール素子
1か月前
旭化成株式会社
発光素子
1か月前
エイブリック株式会社
縦型ホール素子
1か月前
ローム株式会社
抵抗チップ
1か月前
三菱電機株式会社
半導体装置
7日前
富士電機株式会社
半導体装置
1か月前
株式会社東芝
半導体装置
7日前
三菱電機株式会社
半導体装置
29日前
株式会社半導体エネルギー研究所
表示装置
1か月前
日亜化学工業株式会社
発光装置
1か月前
ローム株式会社
半導体集積回路
29日前
ローム株式会社
半導体装置
1か月前
ローム株式会社
窒化物半導体装置
1か月前
株式会社半導体エネルギー研究所
発光デバイス
15日前
ローム株式会社
窒化物半導体装置
1か月前
富士電機株式会社
半導体装置の製造方法
1か月前
株式会社半導体エネルギー研究所
発光デバイス
28日前
サンケン電気株式会社
半導体装置
7日前
ローム株式会社
半導体装置
20日前
ローム株式会社
半導体装置
1か月前
大日本印刷株式会社
太陽電池
1か月前
日亜化学工業株式会社
発光素子
20日前
株式会社カネカ
太陽電池モジュール
1か月前
サンケン電気株式会社
発光装置
1か月前
日亜化学工業株式会社
発光装置
22日前
日亜化学工業株式会社
発光装置
29日前
日亜化学工業株式会社
発光素子
20日前
今泉工業株式会社
光発電装置及びその製造方法
1か月前
ローム株式会社
RAM
1か月前
ローム株式会社
光センサ
1か月前
ローム株式会社
半導体装置
7日前
日本ゼオン株式会社
構造体
22日前
住友電気工業株式会社
炭化珪素半導体装置
1か月前
続きを見る
他の特許を見る