TOP
|
特許
|
意匠
|
商標
特許ウォッチ
Twitter
他の特許を見る
公開番号
2025172587
公報種別
公開特許公報(A)
公開日
2025-11-26
出願番号
2024078178
出願日
2024-05-13
発明の名称
塊状耐火物の品質評価方法
出願人
日本製鉄株式会社
代理人
個人
,
個人
,
個人
主分類
B22D
41/02 20060101AFI20251118BHJP(鋳造;粉末冶金)
要約
【課題】亀裂や剥離の発生を効果的に抑制できる長寿命な塊状耐火物の選定を可能にする塊状耐火物の品質評価方法を提供すること。
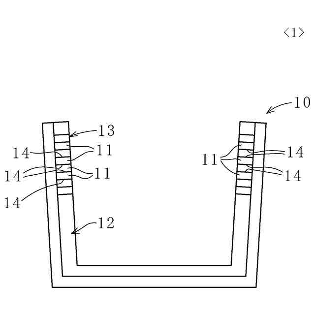
【解決手段】溶鉄貯蔵容器の内張りに用いられる、成形した塊状耐火物11の品質評価方法であり、塊状耐火物11は、溶鉄貯蔵容器への適用に際して、溶鉄に接触する稼働面13、及び、隣接する他の塊状耐火物11に相対する側面14を備え、塊状耐火物11を切断して稼働面13を含む複数の耐火物片に分割し、稼働面13及び側面14を含む端部耐火物片15と、稼働面13を含み側面14を含まない芯部耐火物片16とを採取し、端部耐火物片15及び芯部耐火物片16について、見掛気孔率、吸水率、見掛比重、嵩比重、真比重、及び、圧縮強度、のいずれかの物性値を測定し、端部耐火物片15及び芯部耐火物片16の物性値を比較する。
【選択図】図2
特許請求の範囲
【請求項1】
溶鉄貯蔵容器の内張りに用いられる、成形した塊状耐火物の品質評価方法であって、
前記塊状耐火物は、前記溶鉄貯蔵容器への適用に際して、溶鉄に接触する稼働面、及び、隣接する他の前記塊状耐火物に相対する側面を備え、
前記塊状耐火物を切断して前記稼働面を含む複数の耐火物片に分割し、前記稼働面及び前記側面を含む端部耐火物片と、前記稼働面を含み前記側面を含まない芯部耐火物片とを採取し、
前記端部耐火物片及び前記芯部耐火物片について、見掛気孔率、吸水率、見掛比重、嵩比重、真比重、及び、圧縮強度、のいずれかの物性値を測定し、
前記端部耐火物片及び前記芯部耐火物片の物性値を比較することを特徴とする塊状耐火物の品質評価方法。
発明の詳細な説明
【技術分野】
【0001】
本発明は、溶鉄貯蔵容器に適用する塊状耐火物の品質評価方法に関し、特に耐スポーリング性に関する塊状耐火物の品質評価方法に関する。
続きを表示(約 3,100 文字)
【背景技術】
【0002】
鉄鋼業においては、溶鉄貯蔵容器の内張り材として定形耐火物(焼成煉瓦及び不焼成煉瓦を含む)が広く用いられている。また、溶鉄貯蔵容器の一例である溶鋼鍋の底部には、ブロック状に成形した不定形耐火物の構造物を用いる場合がある。
これらの耐火物(即ち、塊状耐火物)には、常温から操業時の高温への温度変化や、高温からの冷却による温度変化、また、スラグによる浸食及びスラグ浸透による内部組織の劣化等により、亀裂や剥離が発生する。
耐火物に発生した亀裂や亀裂進展で生じる剥離により、耐火物の残厚が薄くなった場合は、耐火物補修のために溶鉄貯蔵容器の使用を停止する必要があり、炉寿命の低下につながる問題が生じていた。
そこで、耐火物の耐スポーリング性を評価する技術が提案されていた。
【0003】
例えば、特許文献1では、耐火物の昇温により、加熱面側からその背面側に向かって温度勾配が生じ、その温度勾配に応じた熱応力が発生し、この熱応力が煉瓦の強度(主に引張強さ)より大きくなると、亀裂が発生することを前提として、耐スポーリング性(耐熱衝撃性)を評価する試験技術が提案されている。
特許文献2では、上記特許文献1と同様に、温度勾配を問題視し、耐火物の重大な損傷原因に、煉瓦へのスラグ浸透によるスラグ浸透層と原煉瓦層間の物性差、特に膨張収縮差による構造的なスポーリングがあることを前提として、耐火煉瓦を熱間試験する技術が提案されている。
特許文献3では、不定形耐火物のスラグ浸透に伴う構造スポーリングにおいて、浸透したスラグ量と亀裂発生の間に密接な関係があり、更に焼結の進行とスラグ浸透による物性の変化、特に弾性率の増加が応力割れの主因であることを前提に、成形し乾燥させた耐火物試験片に熱履歴を与えるスラグ浸透スポーリング試験技術が提案されている。
【先行技術文献】
【特許文献】
【0004】
実開昭54-156590号公報
特開昭60-82948号公報
特開平8-189886号公報
【発明の概要】
【発明が解決しようとする課題】
【0005】
上記特許文献1は、定形耐火物の熱スポーリングとして、定形耐火物の加熱面側から背面側にかけての温度分布の偏りに応じて、一様ではない熱応力が発生して亀裂が発生することを記載しているが、温度分布が一様であっても亀裂や剥離が発生することがあり、この技術で良好な耐スポーリング性があると評価される場合でも、実際に使用すると耐スポーリング性が劣り、寿命延長効果が発揮できない場合があった。
また、特許文献2は、スラグ浸透層と原煉瓦層間の膨張収縮差により構造的なスポーリングが発生することを記載しているが、スラグ浸透の有無に関わらず、この技術で良好な耐スポーリング性があると評価される場合でも、実際に使用すると耐スポーリング性が劣り、寿命延長効果が発揮できない場合があった。
特許文献3は、構造スポーリングにおいて、焼結の進行とスラグ浸透による弾性率の増加が主因であることを記載しているが、この技術で良好な耐スポーリング性があると評価される場合でも、実際に使用すると耐スポーリング性が劣り、寿命延長効果が発揮できない場合があった。
【0006】
本発明の課題は、亀裂や剥離の発生を効果的に抑制できる長寿命な塊状耐火物の選定を可能にする塊状耐火物の品質評価方法を提供することにある。
【課題を解決するための手段】
【0007】
まず、塊状耐火物が内張りされた溶鋼鍋等の実機使用における、従来認識されているスポーリング発生のメカニズムについて説明する。
スポーリングには、熱スポーリングと構造スポーリングがあると考えられている。
熱スポーリングは、塊状耐火物が加熱と冷却により、溶鉄に接触する稼働面側から背面側にかけて塊状耐火物の温度分布の偏りに応じた熱応力が発生することで、亀裂が発生するものである。
一方、構造スポーリングは、稼働面側からの加熱に伴う物性変化やスラグ浸透に伴う物性変化による応力発生と、温度分布の偏りで発生する熱応力が、物性変化により助長されることで亀裂が発生するものである。
以上の通り、従来では、塊状耐火物の稼働面側と背面側の温度差に基づいて亀裂が発生すると認識されていた。
【0008】
本発明者らは、上記従来の認識の発想を転換し、前記課題に対して種々検討をした結果、以下の知見を新たに見出した。
たとえ塊状耐火物の稼働面側から背面側までの温度分布が一様であったとしても、亀裂や剥離が発生する場合があり、その原因としては、成形した塊状耐火物の部位によって物性値が異なること、即ち、物性値のバラツキが大きいことが考えられた。
特に注目したのは、稼働面側の部位における物性値のバラツキである。即ち、稼働面側の部位と稼働面よりも背面側の部位との物性値の差異よりも、稼働面側の部位であって、隣接する他の塊状耐火物に相対する側面を含む端部部位と、側面を含まない芯部部位との物性値の差異の方が、スポーリングに及ぼす影響が大きい点である。
更に、この稼働面側における端部部位と芯部部位との物性値の差異の方が、塊状耐火物の稼働面側と背面側の温度差よりも、スポーリングに及ぼす影響が大きい点である。
【0009】
塊状耐火物の端部と芯部での物性値のバラツキが大きい場合、最も熱影響を受ける稼働面側において、塊状耐火物の端部と芯部の熱膨張量差によって歪が生じ、亀裂や剥離が発生すると考えられる。
なお、本発明者らは、塊状耐火物の端部と芯部ではなく、塊状耐火物をその中央を挟んで上下又は左右に2分割した耐火物片を作製し、その両者の物性値を比較したが、物性値に顕著な差が見られない場合であっても、この塊状耐火物と同じロット(同一原料で同一品種を所定の生産量でまとめて生産した単位、以下同じ)にて製造された塊状耐火物を実機で使用したところ、スポーリングが発生する場合があった。一方で、この同じロットの塊状耐火物について、端部と芯部に分けて耐火物片を作製し、その物性値を比較したところ、顕著な差が見られた。
以上のように、本発明者らは、稼働面側における塊状耐火物の物性値のバラツキがスポーリング発生に大きく影響することを知見した。
【0010】
本発明者らが想到した本発明は、以下の通りである。
溶鉄貯蔵容器の内張りに用いられる、成形した塊状耐火物の品質評価方法であって、
前記塊状耐火物は、前記溶鉄貯蔵容器への適用に際して、溶鉄に接触する稼働面、及び、隣接する他の前記塊状耐火物に相対する側面を備え、
前記塊状耐火物を切断して前記稼働面を含む複数の耐火物片に分割し、前記稼働面及び前記側面を含む端部耐火物片と、前記稼働面を含み前記側面を含まない芯部耐火物片とを採取し、
前記端部耐火物片及び前記芯部耐火物片について、見掛気孔率、吸水率、見掛比重、嵩比重、真比重、及び、圧縮強度、のいずれかの物性値を測定し、
前記端部耐火物片及び前記芯部耐火物片の物性値を比較することを特徴とする塊状耐火物の品質評価方法。
【発明の効果】
(【0011】以降は省略されています)
この特許をJ-PlatPat(特許庁公式サイト)で参照する
関連特許
日本製鉄株式会社
棒鋼
6日前
日本製鉄株式会社
線材
1か月前
日本製鉄株式会社
棒鋼
6日前
日本製鉄株式会社
床構造
1か月前
日本製鉄株式会社
鋼部品
1か月前
日本製鉄株式会社
鋼部品
6日前
日本製鉄株式会社
剪断機
1か月前
日本製鉄株式会社
ボルト
1か月前
日本製鉄株式会社
床構造
1か月前
日本製鉄株式会社
鋼部品
1か月前
日本製鉄株式会社
溶接継手
1か月前
日本製鉄株式会社
橋脚構造
1か月前
日本製鉄株式会社
構造部材
2か月前
日本製鉄株式会社
溶接継手
12日前
日本製鉄株式会社
腐食センサ
1か月前
日本製鉄株式会社
鍛鋼ロール
1か月前
日本製鉄株式会社
鍛鋼ロール
1か月前
日本製鉄株式会社
耐火構造物
2か月前
日本製鉄株式会社
耐火構造物
2か月前
日本製鉄株式会社
耐火構造物
2か月前
日本製鉄株式会社
学習システム
1か月前
日本製鉄株式会社
転炉精錬方法
2か月前
日本製鉄株式会社
管理システム
1か月前
日本製鉄株式会社
高Ni合金鋼
1か月前
日本製鉄株式会社
高Ni合金鋼
1か月前
日本製鉄株式会社
高炉の操業方法
1か月前
日本製鉄株式会社
溶鉄の製造方法
1か月前
日本製鉄株式会社
溶鉄の製造方法
28日前
日本製鉄株式会社
原油油槽用鋼材
1か月前
日本製鉄株式会社
高炉の操業方法
2か月前
日本製鉄株式会社
溶鉄の製造方法
28日前
日本製鉄株式会社
高炉の操業方法
2か月前
日本製鉄株式会社
機械構造用部品
7日前
日本製鉄株式会社
モールドパウダー
1か月前
日本製鉄株式会社
鉄鉱石の選別方法
1か月前
日本製鉄株式会社
合成梁及び床構造
2か月前
続きを見る
他の特許を見る