TOP
|
特許
|
意匠
|
商標
特許ウォッチ
Twitter
他の特許を見る
10個以上の画像は省略されています。
公開番号
2025172491
公報種別
公開特許公報(A)
公開日
2025-11-26
出願番号
2024078025
出願日
2024-05-13
発明の名称
制御装置、曲げ加工システム、制御プログラム作成方法及び制御プログラム作成プログラム
出願人
株式会社アマダ
代理人
弁理士法人きさらぎ国際特許事務所
主分類
B21D
5/02 20060101AFI20251118BHJP(本質的には材料の除去が行なわれない機械的金属加工;金属の打抜き)
要約
【課題】ユーザの負担を軽減できる制御装置、曲げ加工システム、制御プログラム作成方法及び制御プログラム作成プログラム。
【解決手段】曲げ加工機と、前記曲げ加工機にワークを供給するワーク供給ロボットとを制御する暫定プログラムを作成可能に構成されており、前記暫定プログラムは、前記曲げ加工機及び前記ワーク供給ロボットの各動作に対応する複数のジョブを含み、前記複数のジョブは、固定ジョブと選択ジョブを含み、前記固定ジョブは、複数の前記暫定プログラムに共通して設定され、前記選択ジョブは、候補となる複数の前記選択ジョブを含む選択ジョブ群から、質問に対するユーザの回答及び前記ワークを加工して製作する製品の形状を示す形状データの少なくともいずれか一方に基づいて、前記暫定プログラム毎に自動的に選択される。
【選択図】図1
特許請求の範囲
【請求項1】
曲げ加工機と、前記曲げ加工機にワークを供給するワーク供給ロボットとを制御する暫定プログラムを作成可能に構成されており、
前記暫定プログラムは、前記曲げ加工機及び前記ワーク供給ロボットの各動作に対応する複数のジョブを含み、
前記複数のジョブは、固定ジョブと選択ジョブを含み、
前記固定ジョブは、複数の前記暫定プログラムに共通して設定され、
前記選択ジョブは、候補となる複数の前記選択ジョブを含む選択ジョブ群から、質問に対するユーザの回答及び前記ワークを加工して製作する製品の形状を示す形状データの少なくともいずれか一方に基づいて、前記暫定プログラム毎に自動的に選択される
制御装置。
続きを表示(約 1,400 文字)
【請求項2】
前記複数のジョブは、前記曲げ加工機への前記ワークの挿入に関する前記選択ジョブを含む
請求項1に記載の制御装置。
【請求項3】
前記複数のジョブは、前記曲げ加工機による曲げ加工後の前記ワークの保持に関する前記選択ジョブを含む
請求項2に記載の制御装置。
【請求項4】
前記ユーザに前記質問をする質問処理と、
前記ユーザの前記回答を受け付ける回答受付処理と、
前記回答に基づいて前記選択ジョブ群から前記選択ジョブを選択する選択処理と、
前記固定ジョブと、選択した前記選択ジョブとを含む前記暫定プログラムを作成する暫定プログラム作成処理と
を実行可能に構成されている
請求項3に記載の制御装置。
【請求項5】
前記質問は、前記ワークの曲げ数に関する質問と、前記ワークを曲げる曲げ方向に関する質問とを含み、
前記質問処理は、前記曲げ数に関する質問の前記回答に応じて、前記曲げ方向に関する質問を行う
請求項4に記載の制御装置。
【請求項6】
前記質問は、前記曲げ加工機に前記ワークを挿入する挿入向きに関する質問を含み、
前記質問処理は、前記曲げ数に関する質問の前記回答に応じて前記挿入向きに関する質問を行う
請求項5に記載の制御装置。
【請求項7】
前記形状データから前記ワークの曲げ工程に関する曲げ情報を特定する曲げ工程特定処理と、
特定した前記曲げ情報に基づいて前記選択ジョブ群から前記選択ジョブを選択する選択処理と、
前記固定ジョブと、選択した前記選択ジョブとを含む前記暫定プログラムを作成する暫定プログラム作成処理と
を実行可能に構成されている
請求項3に記載の制御装置。
【請求項8】
前記曲げ情報は、前記ワークの曲げ数に関する情報と、前記ワークを曲げる曲げ方向に関する情報とを含む
請求項7に記載の制御装置。
【請求項9】
前記ユーザによる前記動作のティーチングを受け付けるティーチング受付処理と、
受け付けた前記ティーチングの情報を前記固定ジョブ及び前記選択ジョブの少なくともいずれか一方に反映するティーチング反映処理と
を実行可能に構成されている
請求項1~8のいずれか1項に記載の制御装置。
【請求項10】
曲げ加工機と、
前記曲げ加工機にワークを供給するワーク供給ロボットと、
前記曲げ加工機及び前記ワーク供給ロボットを制御する制御装置と
を備え、
前記制御装置は、前記曲げ加工機及び前記ワーク供給ロボットを制御する暫定プログラムを作成可能に構成されており、
前記暫定プログラムは、前記曲げ加工機及び前記ワーク供給ロボットの各動作に対応する複数のジョブを含み、
前記複数のジョブは、固定ジョブと選択ジョブを含み、
前記固定ジョブは、複数の前記暫定プログラムに共通して設定され、
前記選択ジョブは、候補となる複数の前記選択ジョブを含む選択ジョブ群から質問に対するユーザの回答及び前記ワークを加工して製作する製品の形状を示す形状データの少なくともいずれか一方に基づいて、前記暫定プログラム毎に自動的に選択される
曲げ加工システム。
(【請求項11】以降は省略されています)
発明の詳細な説明
【技術分野】
【0001】
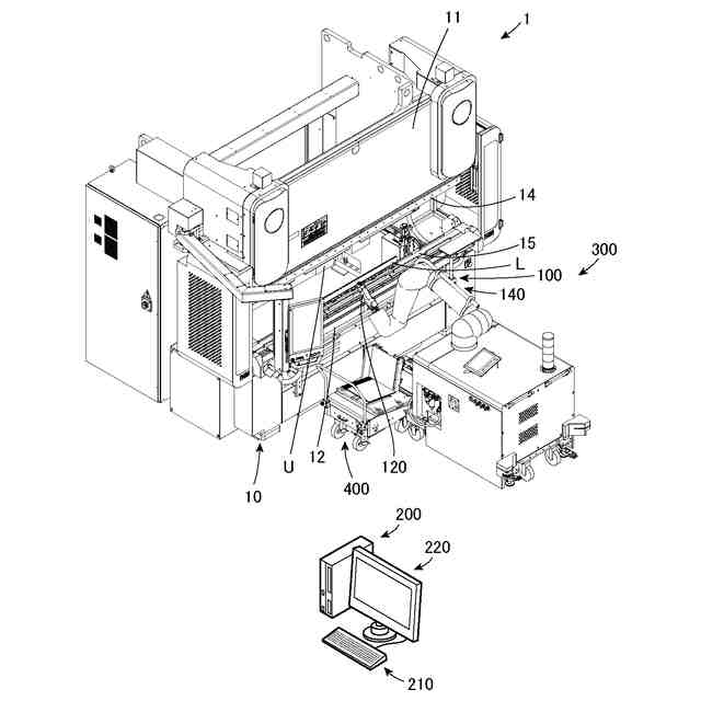
本発明は、制御装置、曲げ加工システム、制御プログラム作成方法及び制御プログラム作成プログラムに関する。
続きを表示(約 2,200 文字)
【背景技術】
【0002】
近年の曲げ加工では、汎用の産業用ロボット(汎用ロボット)の登場により、一台の曲げ加工機でオペレータが手動で曲げる運用と、汎用ロボットが自動で曲げる運用とを切り替えることができるようになった。しかし、手動運用の曲げプログラム(汎用曲げプログラム)には、汎用ロボットのロボットプログラムが含まれていないため、ユーザが1から自動運用のための自動曲げプログラムを作成するか、汎用ロボットを1からティーチングする必要があり、どちらの方法も非常に手間がかかり、作業効率が下がる。
【0003】
そこで、例えば、特許文献1に記載のプログラム作成装置では、登録された加工辺形状をワ-クの各辺に割り当てて製品形状を入力する形状入力手段と、ワ-クの各辺を加工するための曲げ加工機の加工条件、ワ-ク各辺の加工工程及び工程前後のハンドリングデ-タと、製品寸法デ-タとを入力する条件入力手段とを備え、形状入力手段及び条件入力手段からの入力デ-タと、ロボット及び曲げ加工機の動作特性デ-タからロボットと曲げ加工機の動作プログラムを作成する構成が開示されている。
【先行技術文献】
【特許文献】
【0004】
特開平8-187515号公報
【発明の概要】
【発明が解決しようとする課題】
【0005】
しかしながら、従来のプログラム作成装置では、上述したように、ロボットと曲げ加工機の動作プログラムを作成するために、製品形状や、加工条件等の様々な情報をユーザが入力する必要があり、入力作業が煩雑なため、動作プログラムの作成に時間と手間を要するという問題がある。また、様々な情報を入力するためには、ユーザの知識や経験が必要とされるため、経験の浅いユーザでは、入力作業が難しいという問題がある。
【0006】
本発明の一態様は、ユーザの負担を軽減できる制御装置、曲げ加工システム、制御プログラム作成方法及び制御プログラム作成プログラムである。
【課題を解決するための手段】
【0007】
本発明の一態様に係る制御装置は、曲げ加工機と、前記曲げ加工機にワークを供給するワーク供給ロボットとを制御する暫定プログラムを作成可能に構成されており、前記暫定プログラムは、前記曲げ加工機及び前記ワーク供給ロボットの各動作に対応する複数のジョブを含み、前記複数のジョブは、固定ジョブと選択ジョブを含み、前記固定ジョブは、複数の前記暫定プログラムに共通して設定され、前記選択ジョブは、候補となる複数の前記選択ジョブを含む選択ジョブ群から、質問に対するユーザの回答及び前記ワークを加工して製作する製品の形状を示す形状データの少なくともいずれか一方に基づいて、前記暫定プログラム毎に自動的に選択される。
【0008】
本発明の一態様に係る曲げ加工システムは、曲げ加工機と、前記曲げ加工機にワークを供給するワーク供給ロボットと、前記曲げ加工機及び前記ワーク供給ロボットを制御する制御装置とを備え、前記制御装置は、前記曲げ加工機及び前記ワーク供給ロボットを制御する暫定プログラムを作成可能に構成されており、前記暫定プログラムは、前記曲げ加工機及び前記ワーク供給ロボットの各動作に対応する複数のジョブを含み、前記複数のジョブは、固定ジョブと選択ジョブを含み、前記固定ジョブは、複数の前記暫定プログラムに共通して設定され、前記選択ジョブは、候補となる複数の前記選択ジョブを含む選択ジョブ群から、質問に対するユーザの回答及び前記ワークを加工して製作する製品の形状を示す形状データの少なくともいずれか一方に基づいて、前記暫定プログラム毎に自動的に選択される。
【0009】
本発明の一態様に係る制御プログラム作成方法は、曲げ加工機と、前記曲げ加工機にワークを供給するワーク供給ロボットとを制御する暫定プログラムを作成する暫定プログラム作成工程を含み、前記暫定プログラムは、前記曲げ加工機及び前記ワーク供給ロボットの各動作に対応する複数のジョブを含み、前記複数のジョブは、固定ジョブと選択ジョブを含み、前記固定ジョブは、複数の前記暫定プログラムに共通して設定され、前記選択ジョブは、候補となる複数の前記選択ジョブを含む選択ジョブ群から、質問に対するユーザの回答及び前記ワークを加工して製作する製品の形状を示す形状データの少なくともいずれか一方に基づいて、前記暫定プログラム毎に自動的に選択される。
【0010】
本発明の一態様に係る制御プログラム作成プログラムは、曲げ加工機と、前記曲げ加工機にワークを供給するワーク供給ロボットとを制御する暫定プログラムを作成する暫定プログラム作成処理を制御装置に実行させるように構成されており、前記暫定プログラムは、前記曲げ加工機及び前記ワーク供給ロボットの各動作に対応する複数のジョブを含み、前記複数のジョブは、固定ジョブと選択ジョブを含み、前記固定ジョブは、複数の前記暫定プログラムに共通して設定され、前記選択ジョブは、候補となる複数の前記選択ジョブを含む選択ジョブ群から、質問に対するユーザの回答及び前記ワークを加工して製作する製品の形状を示す形状データの少なくともいずれか一方に基づいて、前記暫定プログラム毎に自動的に選択される。
【発明の効果】
(【0011】以降は省略されています)
この特許をJ-PlatPat(特許庁公式サイト)で参照する
関連特許
株式会社アマダ
曲げ加工システム及びロボット搬送体
今日
株式会社アマダ
制御装置、曲げ加工システム、ロボット制御方法及びロボット制御プログラム
今日
株式会社アマダ
制御装置、曲げ加工システム、制御プログラム作成方法及び制御プログラム作成プログラム
今日
個人
鋼線の連続伸線方法
12日前
日東精工株式会社
中空軸部品の製造方法
5か月前
株式会社不二越
NC転造盤
4か月前
日伸工業株式会社
プレス加工装置
5か月前
オムロン株式会社
導線折り曲げ治具
3か月前
東栄工業株式会社
ダブルデッキヘミング金型
4か月前
株式会社アマダ
曲げ金型
2か月前
トヨタ紡織株式会社
プレス金型
2か月前
トヨタ自動車株式会社
打ち抜き加工装置
1か月前
株式会社アマダ
曲げ加工機
5か月前
日鉄建材株式会社
成形装置
1か月前
トヨタ自動車株式会社
電磁鋼板の成形方法
4か月前
ユニオンツール株式会社
転造ダイスセット
4か月前
ユニプレス株式会社
プレス加工装置
3か月前
株式会社三明製作所
転造装置
2か月前
株式会社吉野機械製作所
プレス機械
5か月前
フジテック株式会社
金属棒曲げ工具
1か月前
トヨタ自動車株式会社
鋼板部材の製造方法
1か月前
トヨタ自動車株式会社
鋼板部材の製造方法
1か月前
浙江飛剣工貿有限公司
二重片口の製造方法
5か月前
株式会社TMEIC
誘導加熱装置
5か月前
東京精密発條株式会社
金属板の曲げ加工装置
2か月前
株式会社TMEIC
制御システム
5か月前
株式会社アマダ
プレスブレーキ
4か月前
株式会社アマダ
ビード形成方法
28日前
JFEスチール株式会社
熱延鋼板の製造方法
4か月前
株式会社今井金箔
金属箔製造方法、及び、金属箔
2か月前
トヨタ自動車株式会社
金属部材の製造方法
2か月前
トヨタ自動車株式会社
鋼板部材及びその製造方法
2か月前
共英製鋼株式会社
異形棒鋼の捻れ抑制方法
1か月前
東陽建設工機株式会社
鉄筋曲機
1か月前
株式会社中田製作所
管外周長測定方法とその装置
1か月前
三協オイルレス工業株式会社
リフタユニット
4か月前
続きを見る
他の特許を見る