TOP
|
特許
|
意匠
|
商標
特許ウォッチ
Twitter
他の特許を見る
公開番号
2025172394
公報種別
公開特許公報(A)
公開日
2025-11-26
出願番号
2024077881
出願日
2024-05-13
発明の名称
バスバー
出願人
タキロンシーアイシビル株式会社
,
タキロンシーアイ株式会社
代理人
個人
主分類
H01B
7/00 20060101AFI20251118BHJP(基本的電気素子)
要約
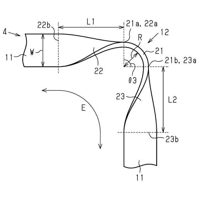
【課題】曲げ部において、フラットワイズ加工部とツイスト加工部とを組み合わせることで、導体に対する樹脂被覆部の剥がれを抑えるバスバーを提供する。
【解決手段】平角線で構成された導体と、導体を覆う絶縁性の樹脂被覆部と、を備えるバスバー4であって、バスバー4は、曲げ部12を備え、バスバー4が延びる方向が延設方向であって、曲げ部12は、フラットワイズ加工部21と、フラットワイズ加工部21の延設方向における一方の側に第1ツイスト加工部22を備えると共に、他方の側に第2ツイスト加工部23を備える。
【選択図】図4
特許請求の範囲
【請求項1】
平角線で構成された導体と、前記導体を覆う絶縁性の樹脂被覆部と、を備えるバスバーであって、
前記バスバーは、曲げ部を備え、
前記バスバーが延びる方向が延設方向であって、
前記曲げ部は、フラットワイズ加工部と、前記フラットワイズ加工部の前記延設方向における一方の側に第1ツイスト加工部を備えると共に、他方の側に第2ツイスト加工部を備える
バスバー。
続きを表示(約 540 文字)
【請求項2】
前記延設方向において、
前記第1ツイスト加工部の第1内側端部は、前記フラットワイズ加工部の第1端部から前記バスバーの幅に対して3.0倍の位置までの間に位置し、
前記第2ツイスト加工部の第2内側端部は、前記フラットワイズ加工部の第2端部から前記バスバーの幅に対して3.0倍の位置までの間に位置する
請求項1に記載のバスバー。
【請求項3】
前記延設方向において、
前記第1ツイスト加工部における第1内側端部と第1外側端部との第1捻じり距離、及び、前記第2ツイスト加工部における第2内側端部と第2外側端部との第2捻じり距離は、
前記バスバーの幅に対して1倍以上、3.0倍以下である
請求項1に記載のバスバー。
【請求項4】
前記第1内側端部に対する前記第1外側端部の第1捻じり角度、及び、前記第2内側端部に対する前記第2外側端部の第2捻じり角度は、90°以下である
請求項3に記載のバスバー。
【請求項5】
前記第1ツイスト加工部及び前記第2ツイスト加工部は、同じ方向に捻じられている、又は、互いに反対となる方向に捻じられている
請求項1に記載のバスバー。
発明の詳細な説明
【技術分野】
【0001】
本発明は、バスバーに関する。
続きを表示(約 1,400 文字)
【背景技術】
【0002】
電源を各部分に接続する配線部材として、バスバーがある。バスバーは、直線形状のものだけではなく、設置場所のレイアウトによって直線部と曲げ部を備えたものもある。例えば、特許文献1のバスバーは、配索の際に省スペース化を図るため、導体に、平角線を使用し、かつ導体の周囲に絶縁性の樹脂被覆部を設けている。そして、このようなバスバーにおける曲げ部は、バスバーを平角線の平面方向に曲げるエッジワイズ加工によって構成されている。
【先行技術文献】
【特許文献】
【0003】
特開2022-190933号公報
【発明の概要】
【発明が解決しようとする課題】
【0004】
導体を樹脂被覆部で被覆したバスバーでは、エッジワイズ加工を施すと、曲げ部内周側の樹脂被覆部が圧縮される。このため、曲げ部における内周部分では、導体に対して樹脂被覆部が浮き上がることで、皺等が形成されてしまう。
【0005】
このような問題点を解決するため、特許文献1では、樹脂被覆部の一側に開口を形成している。そして、開口を形成した一側が内側となるように曲げることにより、内側の圧縮によって開口を埋めることが記載されている。
【0006】
しかしながら、特許文献1の構成は、一側に、空隙を構成する櫛状形状の開口を設ける必要がある。このため、バスバーの製造工程における工数が増加してしまい、生産効率の向上を望みにくい。また、導体に対して事前に樹脂被覆することもできない。更に、エッジワイズ加工は、バスバーの端部が所定の取付位置に対してずれている場合に、端部の位置を微調整するが困難である。
【課題を解決するための手段】
【0007】
上記課題を解決するためのバスバーは、平角線で構成された導体と、前記導体を覆う絶縁性の樹脂被覆部と、を備えるバスバーであって、前記バスバーは、曲げ部を備え、前記バスバーが延びる方向が延設方向であって、前記曲げ部は、フラットワイズ加工部と、前記フラットワイズ加工部の前記延設方向における一方の側に第1ツイスト加工部を備えると共に、他方の側に第2ツイスト加工部を備える。
【0008】
上記構成によれば、曲げ部において、フラットワイズ加工部の両側にツイスト加工部を設けることで、導体に対して樹脂被覆部が剥がれ、浮き上がることによる、皺等が発生を抑えることができる。
【0009】
上記バスバーにおいて、前記延設方向において、前記第1ツイスト加工部の第1内側端部は、前記フラットワイズ加工部の第1端部から前記バスバーの幅に対して3.0倍の位置までの間に位置し、前記第2ツイスト加工部の第2内側端部は、前記フラットワイズ加工部の第2端部から前記バスバーの幅に対して3.0倍の位置までの間に位置することが好ましい。
【0010】
上記構成によれば、フラットワイズ加工部の近くに第1及び第2ツイスト加工部を設けて曲げ部を構成することができる。そして、ツイスト加工部の第1及び第2内側端部の位置をバスバーの幅に対して3.0倍の位置までの位置とすることで、バスバーの全長に対する曲げ部の割合が大きくなり過ぎることを抑制できる。
(【0011】以降は省略されています)
この特許をJ-PlatPat(特許庁公式サイト)で参照する
関連特許
東ソー株式会社
絶縁電線
1か月前
APB株式会社
蓄電セル
1か月前
株式会社東芝
端子台
28日前
ローム株式会社
半導体装置
1か月前
マクセル株式会社
電源装置
28日前
株式会社ホロン
冷陰極電子源
1か月前
株式会社GSユアサ
蓄電装置
7日前
株式会社GSユアサ
蓄電装置
29日前
株式会社GSユアサ
蓄電装置
29日前
株式会社GSユアサ
蓄電装置
21日前
富士電機株式会社
電磁接触器
7日前
三菱電機株式会社
回路遮断器
15日前
トヨタ自動車株式会社
蓄電装置
29日前
日本特殊陶業株式会社
保持装置
1か月前
日新イオン機器株式会社
基板処理装置
1か月前
トヨタ自動車株式会社
冷却構造
1か月前
トヨタ自動車株式会社
バッテリ
1か月前
ホシデン株式会社
複合コネクタ
1日前
北道電設株式会社
配電具カバー
1か月前
日本特殊陶業株式会社
保持装置
20日前
トヨタ自動車株式会社
電池パック
1か月前
トヨタ自動車株式会社
電池パック
1か月前
ローム株式会社
半導体モジュール
8日前
住友電装株式会社
コネクタ
1か月前
住友電装株式会社
コネクタ
7日前
株式会社トクヤマ
シリコンエッチング液
1か月前
株式会社レゾナック
冷却器
15日前
甲神電機株式会社
変流器及び零相変流器
22日前
矢崎総業株式会社
コネクタ
7日前
株式会社デンソー
電子装置
1か月前
日亜化学工業株式会社
半導体レーザ素子
1か月前
トヨタ自動車株式会社
密閉型電池
1か月前
ヒロセ電機株式会社
電気コネクタ
7日前
日本無線株式会社
レーダアンテナ
22日前
ローム株式会社
半導体装置
1か月前
株式会社トクヤマ
シリコンエッチング液
1か月前
続きを見る
他の特許を見る