TOP
|
特許
|
意匠
|
商標
特許ウォッチ
Twitter
他の特許を見る
公開番号
2025172289
公報種別
公開特許公報(A)
公開日
2025-11-26
出願番号
2024077663
出願日
2024-05-13
発明の名称
二次電池正極用金属化フィルム
出願人
東レKPフィルム株式会社
代理人
個人
主分類
H01M
4/66 20060101AFI20251118BHJP(基本的電気素子)
要約
【課題】樹脂表面に導電性薄膜層形成しても、接触抵抗が上昇せず、破断やシワ発生することなく搬送でき、後工程での平面性の良い金属化フィルムを提供する。
【解決手段】樹脂フィルムの少なくとも一方の表面にアルミニウム金属膜が形成された二次電池正極用金属化フィルムであって、150℃30分の熱処理後のMD方向の寸法変化率が-0.10%を超え、0.10%以下であり、TD方向の寸法変化率が-0.02%以上であることを特徴とする二次電池正極用金属化フィルムである。
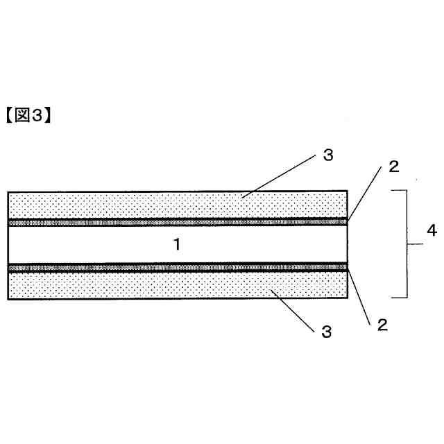
【選択図】図3
特許請求の範囲
【請求項1】
樹脂フィルムの少なくとも一方の表面にアルミニウム金属膜が形成された二次電池正極用金属化フィルムであって、150℃30分の熱処理後のMD方向の寸法変化率が-0.10%を超え、0.10%以下であり、TD方向の寸法変化率が-0.02%以上であることを特徴とする二次電池正極用金属化フィルム。
続きを表示(約 950 文字)
【請求項2】
該金属膜のアルミニウムの、111面のX線回折のピーク強度I[111]と200面のX線回折のピーク強度I[200]との比 I[200]/I[111]が1.0以上であり、該樹脂フィルムと接していない金属膜表面の波長555nmの鏡面反射率が30%以下である、請求項1記載の二次電池正極用金属化フィルム。
【請求項3】
前記金属膜の表面抵抗が0.15Ω/□以下である、請求項1記載の二次電池正極用金属化フィルム。
【請求項4】
前記樹脂フィルムの表面粗さRaが0.6nm以上2.0nm以下である、請求項1記載の二次電池正極用金属化フィルム。
【請求項5】
前記金属膜の表面粗さRaが2.3nm以上10.0nm以下である、請求項1記載の二次電池正極用金属化フィルム。
【請求項6】
前記金属膜の表面抵抗が0.15Ω/□以下であり、該金属膜のアルミニウムの、111面のX線回折のピーク強度I[111]と200面のX線回折のピーク強度I[200]との比 I[200]/I[111]が1.0以上であり、該樹脂フィルムと接していない金属膜表面の波長555nmの鏡面反射率が30%以下である、請求項1記載の二次電池正極用金属化フィルム。
【請求項7】
前記樹脂フィルムの表面粗さRaが0.6nm以上2.0nm以下であり、該金属膜のアルミニウムの、111面のX線回折のピーク強度I[111]と200面のX線回折のピーク強度I[200]との比 I[200]/I[111]が1.0以上であり、該樹脂フィルムと接していない金属膜表面の波長555nmの鏡面反射率が30%以下である、請求項1記載の二次電池正極用金属化フィルム。
【請求項8】
前記金属膜の表面粗さRaが2.3nm以上10.0nm以下であり、該金属膜のアルミニウムの、111面のX線回折のピーク強度I[111]と200面のX線回折のピーク強度I[200]との比 I[200]/I[111]が1.0以上であり、該樹脂フィルムと接していない金属膜表面の波長555nmの鏡面反射率が30%以下である、請求項1記載の二次電池正極用金属化フィルム。
発明の詳細な説明
【技術分野】
【0001】
本発明は二次電池正極用金属化フィルムに関する。
続きを表示(約 1,900 文字)
【背景技術】
【0002】
近年、電気電子機器の小型化や、環境問題から、脱ガソリン車(ハイブリット自動車、電気自動車)の二次電池やキャパシタなどの蓄電池が、小型化、軽量化するのと同時に、瞬時に大電流を充放電できる高出力密度であることが求められている。
【0003】
一般に、車両に搭載される蓄電池は、重量エネルギー密度を向上させるために、正極および負極がシート状に形成され、同じくシート状に形成されたセパレータを介して、シート状の正極および負極が巻回あるいは積層された状態で、ケース内に納められた構成を有している。シート状の電極板は、集電体となる金属箔の表面に、活物質を含む合剤層を形成した構造をしている。
【0004】
また、高出力密度を得る方法のひとつに、蓄電池を構成する各種の材質の抵抗(蓄電池の内部抵抗)を低減する方法がある。蓄電池において、集電体にはアルミニウム箔が用いられていることが多いが、通常のアルミニウム箔による集電体は酸化皮膜を有しており、アルミニウムの表面に形成される酸化皮膜により、内部抵抗が増加するといわれている。内部抵抗が増加すると、大電流で充放電を行ったときに電圧降下を招き、この結果として、蓄電池の出力の低下を招いていた。一般的にアルミニウムには通常厚み5~10nmの強固な絶縁体の自然酸化膜が形成されるが、アルミニウム表面としては良好な導電性を保持する特徴がある。その理由として酸化膜の欠陥部分から電流が流れる説と、量子力学の分野で、エネルギー的に通常は超えることのできない領域を粒子が一定の確率で通り抜けてしまうトンネル現象から、電気的絶縁体を挟んで電子伝導体が、10nm程度以下に接近すると良好な電子伝導が生じるトンネル効果の説などがあり、あまり明確にはなっていないが、アルミニウム酸化膜自体が内部抵抗に強く影響していると考えられている。
【0005】
酸化皮膜による内部抵抗向上を抑制する電極と活性物質との接触抵抗を下げる方法として、電極に使用される金属箔の表面に凹凸させる方法がある(例えば、特許文献1)。アルミニウム表面を粗化することで、欠陥数を増大させるのか、突起部を多く形成することで、トンネル効果が発現しやすくなっているかは明らかではないが、接触抵抗を低下させる手法として有効である。
【0006】
小型化および軽量化しながら高出力密度を向上させる方法としては、体積エネルギー密度の向上や、重量エネルギー密度の向上を目的として、電極基材の薄膜化が進められている。しかしながら対応すべく電極に使用されている金属箔を単純に薄膜化すると、強度の不足という問題が発生する。また、接触抵抗を低下させる目的で薄膜化した金属箔の表面凹凸を大きくすると、更に金属箔の強度低下の原因となり好ましくない。そこで金属に代わる新たな素材として、機械特性や耐熱寸法安定性に優れる二軸延伸ポリエステル薄膜フィルムの表面に、金属などの導電性薄膜層を設けた構成を有する素材の、集電体機能を持たせて電極基材として用いることが提案されている(例えば、特許文献2)。
【先行技術文献】
【特許文献】
【0007】
特開2008-160053号公報
特開平10-40919号公報
【発明の概要】
【発明が解決しようとする課題】
【0008】
しかしながら、ポリエステル薄膜フィルム等の樹脂フィルムの表面に金属などの導電性薄膜層を設けた構成の場合、従来のアルミニウム箔と比較して剛性が弱くなり、加熱処理により寸法収縮が発生することで、ロール搬送時にシワや折れが発生してしまい、活物質をロール搬送で均一に塗布することが大変難しい。
【0009】
また、従来使用していた金属箔よりも金属厚は薄くなる分、トータルの電気抵抗値は上昇してしまう。そして、アルミニウム金属表面の接触抵抗を低くする目的で金属表面を粗化するにしても、通常、樹脂フィルムの表面に金属などの導電性薄膜層は真空蒸着法等により形成する蒸着金属膜であり、薄膜金属であるため、エッチング等で粗化することは大変難しい。ポリエステル薄膜フィルムの表面自体を粗化すると、破断しやすくなり、製造工程の搬送が困難になる。
【0010】
本発明は上述の事実に鑑み、樹脂表面に導電性薄膜層形成しても、接触抵抗が上昇しないで、破断やシワ発生することなく搬送でき、後工程での平面性の良い金属化フィルムを提供することをその課題とする。
【課題を解決するための手段】
(【0011】以降は省略されています)
この特許をJ-PlatPat(特許庁公式サイト)で参照する
関連特許
東ソー株式会社
絶縁電線
1か月前
APB株式会社
蓄電セル
1か月前
ローム株式会社
半導体装置
1か月前
株式会社東芝
端子台
29日前
日新イオン機器株式会社
イオン源
1か月前
マクセル株式会社
電源装置
29日前
太陽誘電株式会社
コイル部品
1か月前
富士電機株式会社
電磁接触器
8日前
株式会社GSユアサ
蓄電装置
1か月前
株式会社GSユアサ
蓄電装置
1か月前
三菱電機株式会社
回路遮断器
16日前
株式会社GSユアサ
蓄電装置
22日前
株式会社GSユアサ
蓄電設備
1か月前
株式会社GSユアサ
蓄電設備
1か月前
株式会社GSユアサ
蓄電装置
8日前
株式会社ホロン
冷陰極電子源
1か月前
日新イオン機器株式会社
基板処理装置
1か月前
ホシデン株式会社
複合コネクタ
2日前
日本特殊陶業株式会社
保持装置
1か月前
トヨタ自動車株式会社
冷却構造
1か月前
トヨタ自動車株式会社
バッテリ
1か月前
トヨタ自動車株式会社
蓄電装置
1か月前
北道電設株式会社
配電具カバー
1か月前
日本特殊陶業株式会社
保持装置
21日前
矢崎総業株式会社
コネクタ
8日前
ヒロセ電機株式会社
電気コネクタ
8日前
株式会社トクヤマ
シリコンエッチング液
1か月前
住友電装株式会社
コネクタ
1か月前
株式会社レゾナック
冷却器
16日前
ローム株式会社
半導体モジュール
9日前
トヨタ自動車株式会社
電池パック
1か月前
株式会社トクヤマ
シリコンエッチング液
1か月前
ローム株式会社
半導体装置
1か月前
日亜化学工業株式会社
半導体レーザ素子
1か月前
トヨタ自動車株式会社
電池パック
1か月前
株式会社デンソー
電子装置
1か月前
続きを見る
他の特許を見る