TOP
|
特許
|
意匠
|
商標
特許ウォッチ
Twitter
他の特許を見る
10個以上の画像は省略されています。
公開番号
2025172158
公報種別
公開特許公報(A)
公開日
2025-11-20
出願番号
2025149955,2023520626
出願日
2025-09-10,2021-05-11
発明の名称
ホスト装置及び入出力システム
出願人
株式会社ワコム
代理人
個人
,
個人
主分類
G06F
3/0481 20220101AFI20251113BHJP(計算;計数)
要約
【課題】複数のゲスト装置との連動を通じてより利便性が高い入出力処理を実行可能なホスト装置及び入出力システムを提供する。
【解決手段】ホスト装置の制御部(30)は、第1表示領域内におけるGUI操作の実行権に関する実行権情報を取得する取得ステップと、第1表示領域に関する表示領域情報と、第1表示領域内の指示位置を示す第1個別座標値と、ゲスト装置からの相対座標値と、取得された実行権情報とを用いて、GUI操作に用いられる操作座標値を算出する算出ステップと、第2表示信号又は該第2表示信号を合成して得られた第1表示信号に対して、算出された操作座標値に対応する位置にマークを重畳する付加ステップと、を実行する。
【選択図】図3
特許請求の範囲
【請求項1】
第1表示信号が示す画像を第1表示領域内に表示する表示部と、
第2表示領域内に画像を表示する表示機能をそれぞれ有する複数のゲスト装置と通信可能に構成され、かつ、前記2表示領域内の表示に用いられる第2表示信号と、前記第2表示領域内の指示位置を示す第2個別座標値を正規化して得られる相対座標値とを前記ゲスト装置からそれぞれ受信する通信部と、
前記通信部での受信を通じて得られる前記第2表示信号及び前記相対座標値に基づいて前記表示部に対する表示制御を行う制御部と、
を備え、
前記制御部は、
前記第1表示領域内におけるGUI操作の実行権に関する実行権情報を取得する取得ステップと、
前記第1表示領域に関する表示領域情報と、前記第1表示領域内の指示位置を示す第1個別座標値と、前記ゲスト装置からの前記相対座標値と、取得された前記実行権情報とを用いて、前記GUI操作に用いられる操作座標値を算出する算出ステップと、
前記第2表示信号又は該第2表示信号を合成して得られた前記第1表示信号に対して、算出された前記操作座標値に対応する位置にマークを重畳する付加ステップと、
を実行する、ホスト装置。
続きを表示(約 540 文字)
【請求項2】
第1表示領域内の指示位置を示す第1個別座標値を取得し、前記第1個別座標値を正規化して得られる相対座標値を算出するホスト装置と、
第2表示領域内に画像を表示する表示機能を有するとともに、前記ホスト装置と通信可能に構成される複数のゲスト装置と、
を備え、
各々の前記ゲスト装置は、
表示信号が示す画像を第2表示領域内に表示する表示部と、
前記ホスト装置から送信された前記相対座標値を受信する通信部と、
前記通信部での受信を通じて得られる前記相対座標値に基づいて前記表示部に対する表示制御を行う制御部と、
を備え、
前記第2表示領域内における前記指示位置の使用権に関する使用権情報を取得する取得ステップと、
前記第2表示領域に関する表示領域情報と、前記第2表示領域内の指示位置を示す第2個別座標値と、前記ホスト装置からの前記相対座標値と、取得された前記使用権情報とを用いて、情報処理に用いられる処理座標値を算出する算出ステップと、
前記表示部に供給する前記表示信号に対して、算出された前記処理座標値に対応する位置にマークを重畳する付加ステップと、
を実行する、入出力システム。
発明の詳細な説明
【技術分野】
【0001】
本発明は、ホスト装置及び入出力システムに関する。
続きを表示(約 1,100 文字)
【背景技術】
【0002】
従来から、複数のコンピュータを連動させることで、情報の入力又は出力に対する利便性を高めるための様々な技術が提案されている。例えば、特許文献1には、マルチデバイスやマルチOS(オペレーティングシステム)の環境に対応する情報入力装置が開示されている。
【先行技術文献】
【特許文献】
【0003】
特開2021-022309号公報
【発明の概要】
【発明が解決しようとする課題】
【0004】
しかしながら、特許文献1では、1つのホスト装置に対して1つのゲスト装置を択一的に接続させることを想定しており、利便性の観点で改良の余地が残されている。
【0005】
本発明はこのような問題に鑑みてなされたものであり、その目的は、複数のゲスト装置との連動を通じてより利便性が高い入出力処理を実行可能なホスト装置及び入出力システムを提供することにある。
【課題を解決するための手段】
【0006】
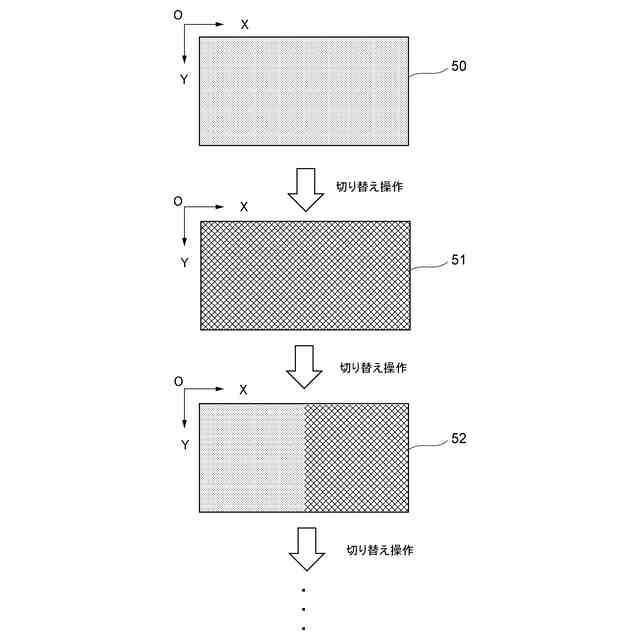
第1の本発明におけるホスト装置は、ホスト側の表示領域内に画像を表示する表示部と、それぞれ表示機能を有する複数のゲスト装置と通信可能に構成される通信部と、前記ホスト側の表示領域を2つ以上のサブ領域に分割し、同時に接続されている2つ以上のゲスト装置が表示中の画像を、それぞれ対応する前記サブ領域内にマルチ表示する表示制御を行う制御部と、を備える。
【0007】
また、前記制御部は、ユーザによる切り替え操作に応じて、前記サブ領域の位置、サイズ及び分割数、並びに前記ゲスト装置の組み合わせのうちの少なくとも1つを切り替える表示制御を行ってもよい。
【0008】
また、前記制御部は、第1ゲスト装置に対応する第1サブ領域及び第2ゲスト装置に対応する第2サブ領域を跨ぐGUI操作を受け付けた場合、前記第1ゲスト装置及び前記第2ゲスト装置の仲介処理を行ってもよい。
【0009】
また、前記GUI操作は、前記第1サブ領域内のアイコンを前記第2サブ領域内に移動させるためのドラッグ・アンド・ドロップであり、前記制御部は、前記ドラッグ・アンド・ドロップを受け付けた場合、前記アイコンに対応するデータファイルを、前記通信部を経由して、前記第1ホスト装置から前記第2ホスト装置に転送する処理を行ってもよい。
【0010】
また、前記制御部は、前記複数のゲスト装置に対して、前記ホスト側の表示領域内におけるGUI操作の実行権を選択的に付与してもよい。
(【0011】以降は省略されています)
この特許をJ-PlatPat(特許庁公式サイト)で参照する
関連特許
株式会社ワコム
電子ペン
16日前
株式会社ワコム
電子ペン
16日前
株式会社ワコム
パッド付属物、仮想入力デバイス、及び入力システム
14日前
株式会社ワコム
スタイラス
9日前
株式会社ワコム
手書き入力装置
7日前
株式会社ワコム
計算機及びプログラム
1か月前
株式会社ワコム
電子ペン及び情報処理装置
16日前
株式会社ワコム
ホスト装置及び入出力システム
1日前
株式会社ワコム
座標算出システム及び座標算出方法
1か月前
株式会社ワコム
電子ペン、手書き入力装置及び電子ペン用芯体
1か月前
株式会社ワコム
ペン状態検出回路、ペン状態検出方法、及び電子機器
1か月前
株式会社ワコム
タッチパッド、タッチパッドによって実行される方法、集積回路
1か月前
株式会社ワコム
コンピュータによって実行される方法、コンピュータ、及びプログラム
3日前
個人
詐欺保険
1か月前
個人
縁伊達ポイン
1か月前
個人
職業自動販売機
7日前
個人
RFタグシート
25日前
個人
5掛けポイント
14日前
個人
ペルソナ認証方式
22日前
個人
QRコードの彩色
1か月前
個人
情報処理装置
17日前
個人
自動調理装置
24日前
個人
残土処理システム
1か月前
個人
農作物用途分配システム
1か月前
個人
サービス情報提供システム
9日前
個人
知的財産出願支援システム
1か月前
個人
タッチパネル操作指代替具
1か月前
個人
インターネットの利用構造
21日前
個人
携帯端末障害問合せシステム
1か月前
個人
スケジュール調整プログラム
1か月前
個人
エリアガイドナビAIシステム
22日前
キヤノン株式会社
情報処理装置
1日前
個人
帳票自動生成型SaaSシステム
1か月前
キヤノン株式会社
画像認識装置
1日前
個人
音声・通知・再配達UX制御構造
1か月前
キヤノン株式会社
情報処理装置
15日前
続きを見る
他の特許を見る