TOP
|
特許
|
意匠
|
商標
特許ウォッチ
Twitter
他の特許を見る
公開番号
2025170322
公報種別
公開特許公報(A)
公開日
2025-11-18
出願番号
2025136736,2022539469
出願日
2025-08-20,2021-07-27
発明の名称
コンピュータによって実行される方法、コンピュータ、及びプログラム
出願人
株式会社ワコム
代理人
弁理士法人そらおと
主分類
G06F
3/0488 20220101AFI20251111BHJP(計算;計数)
要約
【課題】より分かりやすい形で線オブジェクトを扱えるようにする。
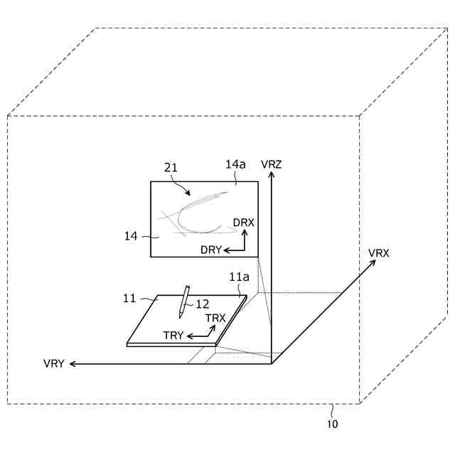
【解決手段】描画面を有するデジタイザであり前記描画面における電子ペンの位置を検出する前記デジタイザと通信可能に構成されるコンピュータによって実行される方法であって、3Dオブジェクトである表示面オブジェクトを仮想現実空間内にレンダリングし、前記デジタイザにより検出された前記描画面における前記電子ペンの位置に基づいて生成される3Dオブジェクトである線オブジェクトを、前記表示面オブジェクトに沿って、前記表示面オブジェクトとは独立した3Dオブジェクトとして前記仮想現実空間内にレンダリングし、前記線オブジェクトは、前記表示面オブジェクトの表示面上から移動可能に構成される。
【選択図】図4
特許請求の範囲
【請求項1】
描画面を有するデジタイザであり前記描画面における電子ペンの位置を検出する前記デジタイザと通信可能に構成されるコンピュータによって実行される方法であって、
3Dオブジェクトである表示面オブジェクトを仮想現実空間内にレンダリングし、
前記デジタイザにより検出された前記描画面における前記電子ペンの位置に基づいて生成される3Dオブジェクトである線オブジェクトを、前記表示面オブジェクトに沿って、前記表示面オブジェクトとは独立した3Dオブジェクトとして前記仮想現実空間内にレンダリングし、
前記線オブジェクトは、前記表示面オブジェクトの表示面上から移動可能に構成される、
コンピュータによって実行される方法。
続きを表示(約 1,300 文字)
【請求項2】
3Dコントローラの有するトラッカーをトラッキングするトラッキングシステムによって検出される3Dコントローラの位置に基づいて前記線オブジェクトを移動させる、
請求項1に記載のコンピュータによって実行される方法。
【請求項3】
3Dコントローラの有する操作部の操作状態を検出し、
前記検出した前記操作部の操作状態に基づいて前記線オブジェクトを移動させる、
請求項1に記載のコンピュータによって実行される方法。
【請求項4】
3Dコントローラの有する操作部の操作状態を検出し、
前記線オブジェクトの移動に際して、前記検出した操作部の操作状態に応じて、前記線オブジェクトの色、太さ、または透明度を変更する、
請求項1に記載のコンピュータによって実行される方法。
【請求項5】
前記3Dコントローラの向きに基づいて前記線オブジェクトを移動させる、
請求項1に記載のコンピュータによって実行される方法。
【請求項6】
前記表示面オブジェクトの表示面上から前記線オブジェクトを移動させ、前記仮想現実空間内の他の3Dオブジェクトに重ねて配置する、
請求項1に記載のコンピュータによって実行される方法。
【請求項7】
前記仮想現実空間は、VR(Virtual Reality)空間、AR(Augmented Reality)空間またはMR(Mixed Reality)空間である、
請求項1に記載のコンピュータによって実行される方法。
【請求項8】
描画面を有するデジタイザであり前記描画面における電子ペンの位置を検出する前記デジタイザと通信可能に構成されるコンピュータであって、
制御部を有し、
前記制御部は、
3Dオブジェクトである表示面オブジェクトを仮想現実空間内にレンダリングし、
前記デジタイザにより検出された前記描画面における前記電子ペンの位置に基づいて生成される3Dオブジェクトである線オブジェクトを、前記表示面オブジェクトに沿って、前記表示面オブジェクトとは独立した3Dオブジェクトとして前記仮想現実空間内にレンダリングし、
前記線オブジェクトを、前記表示面オブジェクトの表示面上から移動可能に構成する、
コンピュータ。
【請求項9】
描画面を有するデジタイザであり前記描画面における電子ペンの位置を検出する前記デジタイザと通信可能に構成されるコンピュータに、
3Dオブジェクトである表示面オブジェクトを仮想現実空間内にレンダリングし、
前記デジタイザにより検出された前記描画面における前記電子ペンの位置に基づいて生成される3Dオブジェクトである線オブジェクトを、前記表示面オブジェクトに沿って、前記表示面オブジェクトとは独立した3Dオブジェクトとして前記仮想現実空間内にレンダリングし、
前記線オブジェクトを、前記表示面オブジェクトの表示面上から移動可能に構成する、
処理を実行させるためのプログラム。
発明の詳細な説明
【技術分野】
【0001】
本発明は、仮想現実(VR:Virtual Reality、AR:Augmented Reality、MR:Mixed Realityを含む)空間内において3Dオブジェクトをレンダリングするレンダリング方法、レンダリング装置、及びプログラムに関する。
続きを表示(約 2,200 文字)
【背景技術】
【0002】
近年、仮想現実空間の3Dオブジェクトを見ながら各種製品をデザインしたい、というニーズがますます高まっている。特許文献1には、3Dオブジェクトの仮想現実空間内における表示方法(3D表示又は2D表示)をユーザの選択に応じて切り替え可能とする技術が開示されている。
【先行技術文献】
【特許文献】
【0003】
国際公開第2019/102825号明細書
【発明の概要】
【発明が解決しようとする課題】
【0004】
ところで、近年では、仮想現実空間内に表示されている3Dオブジェクトの修正を仮想現実空間内で行いたい、という新たなニーズが登場している。しかしながら、特許文献1に記載の技術では、3Dオブジェクトを3Dで表示できる一方で、2D入力を有効にするためには2D表示にする必要があり、仮想現実空間内に表示されている3Dオブジェクトを簡単に修正することが困難であった。
【0005】
したがって、本発明の目的の一つは、仮想現実空間内に表示されている3Dオブジェクトを簡単に修正できる、コンピュータによって実行される方法、レンダリング方法、コンピュータ、レンダリング装置、及びプログラムを提供することにある。
【課題を解決するための手段】
【0006】
本発明の第1の側面による方法は、描画面を有する位置検出装置であり前記描画面における電子ペンの位置を検出する位置検出装置と通信可能に構成されるコンピュータによって実行される方法であって、3Dオブジェクトである第1のオブジェクトを仮想現実空間内にレンダリングし、3Dオブジェクトである表示面を前記第1のオブジェクトの近傍にレンダリングし、前記位置検出装置により検出された前記描画面における前記電子ペンの位置に基づいて生成される3Dオブジェクトである3Dの線を前記表示面の上にレンダリングし、前記3Dオブジェクトである第1のオブジェクト、表示面および3Dの線をディスプレイに出力する、方法である。
【0007】
本発明の第2の側面によるレンダリング方法は、描画面上における電子ペンの位置を検出する位置検出装置と通信可能に構成され、メモリ内に記憶している3Dオブジェクトを仮想現実空間内にレンダリングするコンピュータによって実行されるレンダリング方法であって、表示面を構成する3Dオブジェクトを前記メモリ内に追加するステップと、前記メモリ内に記憶している1以上の3Dオブジェクトを前記仮想現実空間内にレンダリングするステップと、前記位置検出装置により検出された前記電子ペンの指示位置を前記仮想現実空間座標系における位置に変換するステップと、前記変換するステップによる変換後の前記電子ペンの指示位置に基づいて、前記描画面上に描かれた文字又は図形を前記表示面上に配置するステップと、を含むレンダリング方法である。
【0008】
本発明の第1の側面によるコンピュータは、描画面を有する位置検出装置であり前記描画面における電子ペンの位置を検出する位置検出装置と通信可能に構成されるコンピュータであって、制御部を有し、前記制御部は、3Dオブジェクトである第1のオブジェクトを仮想現実空間内にレンダリングし、3Dオブジェクトである表示面を前記第1のオブジェクトの近傍にレンダリングし、前記位置検出装置により検出された前記描画面における前記電子ペンの位置に基づいて生成される3Dオブジェクトである3Dの線を前記表示面の上にレンダリングし、前記3Dオブジェクトである第1のオブジェクト、表示面および3Dの線をディスプレイに出力する、コンピュータである。
【0009】
本発明の第2の側面によるレンダリング装置は、描画面上における電子ペンの位置を検出する位置検出装置と通信可能に構成され、メモリ内に記憶している3Dオブジェクトを仮想現実空間内にレンダリングするレンダリング装置であって、表示面を構成する3Dオブジェクトを前記メモリ内に追加し、前記メモリ内に記憶している1以上の3Dオブジェクトを前記仮想現実空間内にレンダリングし、前記位置検出装置により検出された前記電子ペンの指示位置を前記仮想現実空間座標系における位置に変換し、変換後の前記電子ペンの指示位置に基づいて、前記描画面上に描かれた文字又は図形を前記表示面上に配置する、レンダリング装置である。
である。
【0010】
本発明の第1の側面によるプログラムは、描画面を有する位置検出装置であり前記描画面における電子ペンの位置を検出する位置検出装置と通信可能に構成されるコンピュータに、3Dオブジェクトである第1のオブジェクトを仮想現実空間内にレンダリングし、3Dオブジェクトである表示面を前記第1のオブジェクトの近傍にレンダリングし、前記位置検出装置により検出された前記描画面における前記電子ペンの位置に基づいて生成される3Dオブジェクトである3Dの線を前記表示面の上にレンダリングし、前記3Dオブジェクトである第1のオブジェクト、表示面および3Dの線をディスプレイに出力する、処理を実行させるためのプログラムである。
(【0011】以降は省略されています)
この特許をJ-PlatPat(特許庁公式サイト)で参照する
関連特許
株式会社ワコム
電子ペン
15日前
株式会社ワコム
電子ペン
15日前
株式会社ワコム
自動採点装置、プログラム、及びシステム
2か月前
株式会社ワコム
パッド付属物、仮想入力デバイス、及び入力システム
13日前
株式会社ワコム
電子ペン
3か月前
株式会社ワコム
電子ペン
2か月前
株式会社ワコム
電子ペン
2か月前
株式会社ワコム
電子ペン
2か月前
株式会社ワコム
集積回路
2か月前
株式会社ワコム
スタイラス
8日前
株式会社ワコム
位置検出装置
2か月前
株式会社ワコム
描画システム
2か月前
株式会社ワコム
手書き入力装置
6日前
株式会社ワコム
方法及び処理デバイス
2か月前
株式会社ワコム
計算機及びプログラム
1か月前
株式会社ワコム
電子ペン及び情報処理装置
15日前
株式会社ワコム
位置検出方法及び位置検出装置
2か月前
株式会社ワコム
ホスト装置及び入出力システム
今日
株式会社ワコム
座標算出システム及び座標算出方法
1か月前
株式会社ワコム
コントローラ及びトラッキングシステム
2か月前
株式会社ワコム
ウェアラブルデバイス及び入力システム
3か月前
株式会社ワコム
電子ペン、手書き入力装置及び電子ペン用芯体
1か月前
株式会社ワコム
ペン、ペン及びタッチコントローラを含むシステム
1か月前
株式会社ワコム
パームリジェクションの方法及びセンサコントローラ
1か月前
株式会社ワコム
ペン状態検出回路、ペン状態検出方法、及び電子機器
1か月前
株式会社ワコム
タッチパッド、タッチパッドによって実行される方法、集積回路
1か月前
株式会社ワコム
コンピュータによって実行される方法、コンピュータ、及びプログラム
2日前
個人
詐欺保険
1か月前
個人
縁伊達ポイン
1か月前
個人
5掛けポイント
13日前
個人
職業自動販売機
6日前
個人
RFタグシート
24日前
個人
QRコードの彩色
1か月前
個人
地球保全システム
1か月前
個人
ペルソナ認証方式
21日前
個人
情報処理装置
16日前
続きを見る
他の特許を見る