TOP
|
特許
|
意匠
|
商標
特許ウォッチ
Twitter
他の特許を見る
10個以上の画像は省略されています。
公開番号
2025137716
公報種別
公開特許公報(A)
公開日
2025-09-19
出願番号
2025122954,2024173208
出願日
2025-07-23,2019-11-06
発明の名称
描画システム
出願人
株式会社ワコム
代理人
個人
,
個人
主分類
G06F
3/14 20060101AFI20250911BHJP(計算;計数)
要約
【課題】 大きな描画エリアを確保できると共に、指示入力エリアに対する指示入力も適切なタイミングで受け付けて、これに応じた描画を行える描画システムを提供する。
【解決手段】 第1の端末装置1と第2の端末装置2とが通信可能に接続されて構成され、第1の端末装置1の表示デバイスの表示画面115Dが描画エリア専用とされ、第2の端末装置2の表示デバイスの表示画面215Dが指示入力エリア専用とされる。そして、第1の端末装置1では、第2の端末装置2からの指示情報に応じると共に、第1の位置検出センサを通じて受け付ける描画操作入力に応じて第1の表示デバイスの表示画面115Dに設けられる描画エリアに描画が行われる。
【選択図】図1
特許請求の範囲
【請求項1】
第1の表示デバイスを備えた第1の端末装置と、第2の表示デバイスと前記第2の表示デバイスの表示画面に対応する第2の位置検出センサとを備えた第2の端末装置とが通信可能に接続されて構成される描画システムであって、
前記第1の端末装置は、
前記第2の端末装置から送信されて来る指示情報を取得する情報取得部と、
前記第1の表示デバイスの前記表示画面を描画エリアとし、前記指示情報に応じて前記描画エリアに描画を行うようにする描画処理部と、
を備え、
前記第2の端末装置は、
前記第2の表示デバイスの前記表示画面を指示入力エリアとし、電子ペンによって、前記第2の位置検出センサを通じて指示入力を受け付ける指示入力受付処理部と、
前記指示入力受付処理部を通じて入力された情報を、前記第1の端末装置に送信するようにする情報提供部と
を備えることを特徴とする描画システム。
続きを表示(約 1,200 文字)
【請求項2】
前記第2の端末装置は、
前記電子ペンの識別情報を第2の識別情報として受信する第2の受信手段と、
前記第2の識別情報を、前記第1の端末装置に送信する第2の識別情報提供手段と
を備え、
前記第1の端末装置は、
前記電子ペンの識別情報を第1の識別情報として受信する第1の受信手段と、
前記第2の識別情報提供手段からの前記第2の識別情報を受信する第2の識別情報受信手段と、
前記第1の識別情報と、前記第2の識別情報とが同じ場合に、前記第2の端末装置との間に通信路を接続させるようにする第1の認証制御手段と
をさらに備えることを特徴とする請求項1に記載の描画システム。
【請求項3】
前記第1の端末装置はさらに前記第1の表示デバイスの表示画面に対応する第1の位置検出センサを備え、
前記第1の位置検出センサと、前記第2の位置検出センサとは、同一の電子ペンにより操作が可能なものであり、
前記描画処理部はさらに、前記第1の表示デバイスの前記表示画面を描画エリアとし、電子ペンによって、前記第1の位置検出センサを通じて受け付ける描画操作入力に応じて前記描画エリアに描画を行うようにする
ことを特徴とする請求項1に記載の描画システム。
【請求項4】
前記第2の端末装置の前記第2の位置検出センサは、使用者の指等によるタッチ操作が可能なものであることを特徴とする請求項1に記載の描画システム。
【請求項5】
前記第1の端末装置は、
無線あるいは有線により信号の送受信を行う第1の通信部と、
前記第1の通信部を通じた通信の結果に基づいて、接続判定を行う接続判定部と
を備え、
前記第2の端末装置は、
無線あるいは有線により信号の送受信を行う第2の通信部と、
前記第2の通信部を通じた通信の結果に基づいて、接続判定を行う接続判定部と
を備えることを特徴とする請求項1に記載の描画システム。
【請求項6】
前記第1の端末装置は、
前記第1の通信部を通じて通信を開始させるための第1の操作部を備え、
前記第1の操作部が操作された場合に、前記第1の通信部は前記第2の端末装置の前記第2の通信部との間で通信路を接続するための通信処理を開始させることを特徴とする請求項5に記載の描画システム。
【請求項7】
前記第2の端末装置は、
前記第2の通信部を通じて通信を開始させるための第2の操作部を備え、
前記第2の操作部が操作された場合に、前記第2の通信部は前記第1の端末装置の前記第1の通信部との間で通信路を接続するための通信処理を開始させることを特徴とする請求項5に記載の描画システム。
【請求項8】
前記第2の端末装置は、使用者の身体に対して取り付けるための取り付け具を備えることを特徴とする請求項1に記載の描画システム。
発明の詳細な説明
【技術分野】
【0001】
この発明は、例えば、表示デバイスと位置検出センサとを有し、電子ペンによる描画入力が可能な端末装置を備えて構成される描画システムに関する。
続きを表示(約 2,500 文字)
【背景技術】
【0002】
例えば、LCD(Liquid Crystal Display)などの表示デバイスと位置検出センサとを備え、電子ペンによる描画入力が可能なタブレットPC(Personal Computer)などが広く用いられている。タブレットPCに対して描画入力を行う場合には、いわゆる描画ソフトウェアが実行される。描画ソフトウェアにおいては、表示画面に描画エリアと指示入力エリアとを設けて、使用者からの指示入力を受け付ける。
【0003】
描画エリアは、電子ペンによる描画入力を受け付けて、これに応じた描画像を表示するエリアである。指示入力エリアは、指示入力受付画面を表示して、例えば、描画に用いる線種、色、色合い、鮮やかさ、明るさ、グラデーションの度合などといった、描画に関する種々の指示入力(パラメータの入力)を受け付けるエリアである。指示入力エリアは、色の選択なども行うことから、パレット部などと呼ばれる場合もある。
【0004】
そして、描画エリアと指示入力エリアが1つの表示画面内に設けられるため、描画エリアでの描画中に、電子ペンが誤って指示入力エリアに入ってしまった場合には、意図しない指示入力が行われてしまう場合がある。このような問題に対応するため、後に記す特許文献1には、電子ペンが描画エリアから連続して指示入力エリアに至った場合には、指示入力エリアに対する指示入力を無効とする座標入力制御方法に関する発明が開示されている。
【先行技術文献】
【特許文献】
【0005】
特開2005-11233号公報
【発明の概要】
【発明が解決しようとする課題】
【0006】
比較的に大きな表示画面の表示デバイスを有するタブレットPCであっても、当該装置の表示画面に描画エリアと指示入力エリアとの両方を設けると、描画エリアは小さくならざるを得ない。近年においては、コンピュータの性能向上に伴い、表示画面のサイズが8インチ~11インチ程度の小型の表示デバイスを備えた小型のタブレットPCで描画ソフトウェアを実行し、細かな描画を行う場合も多い。
【0007】
この場合、描画エリアはとても小さくなる。描画エリアが小さいと、細かな画像を描画する場合などにおいて、描画した画像の拡大縮小の繰り返しが生じ、作業効率が極度に悪くなることが考えられる。このため、できるだけ描画エリアを大きくしたいとする要求がある。その一方で、指示入力エリアに対する指示入力も適切なタイミングで適切に行えなければならない。線種や色の変更などは適宜のタイミングで行えなければ、使用者の意図に応じて柔軟に描画を行うことができない。
【0008】
以上のことに鑑み、大きな描画エリアを確保できると共に、指示入力エリアに対する指示入力も適切なタイミングで受け付けて、これに応じた描画を行えるようにする描画システムを提供することを目的とする。
【課題を解決するための手段】
【0009】
上記課題を解決するため、
第1の表示デバイスを備えた第1の端末装置と、第2の表示デバイスと前記第2の表示デバイスの表示画面に対応する第2の位置検出センサとを備えた第2の端末装置とが通信可能に接続されて構成される描画システムであって、
前記第1の端末装置は、
前記第2の端末装置から送信されて来る指示情報を取得する情報取得部と、
前記第1の表示デバイスの前記表示画面を描画エリアとし、前記指示情報に応じて前記描画エリアに描画を行うようにする描画処理部と、
を備え、
前記第2の端末装置は、
前記第2の表示デバイスの前記表示画面を指示入力エリアとし、電子ペンによって、前記第2の位置検出センサを通じて指示入力を受け付ける指示入力受付処理部と、
前記指示入力受付処理部を通じて入力された情報を、前記第1の端末装置に送信するようにする情報提供部と
を備えることを特徴とする描画システムを提供する。
【図面の簡単な説明】
【0010】
実施の形態の描画システムの外観の例を説明するための図である。
実施の形態の第1、第2の端末装置の基本構造を説明するための分解構成図である。
第1の実施の形態の第1の端末装置の構成例を説明するためのブロック図である。
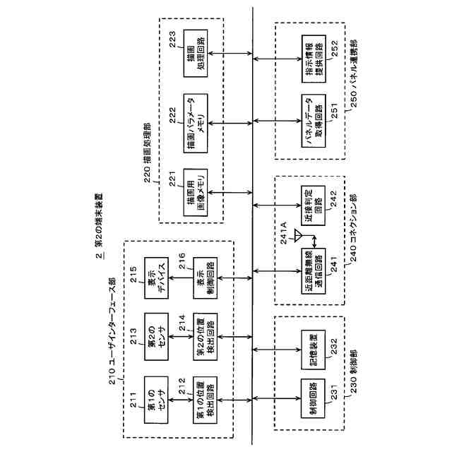
第1の実施の形態の第2の端末装置の構成例を説明するためのブロック図である。
第1の実施の形態の第1の端末装置と第2の端末装置の動作の概要について説明するための図である。
第1の実施の形態の第1の端末装置で行われる処理と第2の端末装置で行われる処理につい説明するためのフローチャートである。
第2の実施の形態の第1の端末装置の構成例と第2の端末装置の構成例を説明するためのブロック図である。
第2の実施の形態の第1の端末装置と第2の端末装置の動作の概要について説明するための図である。
第2の実施の形態の第1の端末装置で行われる処理と第2の端末装置で行われる処理につい説明するためのフローチャートである。
第3の実施の形態の第1の端末装置の構成例と第2の端末装置の構成例を説明するためのブロック図である。
第3の実施の形態の第1の端末装置と第2の端末装置の動作の概要について説明するための図である。
第3の実施の形態の第1の端末装置で行われる処理と第2の端末装置で行われる処理の動作につい説明するためのフローチャートである。
第2の端末装置の使用者の身体への装着の例について説明するための図である。
電子ペン識別情報を用いた認証処理を行う描画システムの構成例を説明するためのブロック図である。
【発明を実施するための形態】
(【0011】以降は省略されています)
この特許をJ-PlatPat(特許庁公式サイト)で参照する
関連特許
株式会社ワコム
電子ペン
24日前
株式会社ワコム
電子ペン
24日前
株式会社ワコム
電子ペン用のグリップ及び電子ペン
1日前
株式会社ワコム
パッド付属物、仮想入力デバイス、及び入力システム
22日前
株式会社ワコム
スタイラス
17日前
株式会社ワコム
手書き入力装置
15日前
株式会社ワコム
計算機及びプログラム
1か月前
株式会社ワコム
電子ペン及び情報処理装置
24日前
株式会社ワコム
ホスト装置及び入出力システム
9日前
株式会社ワコム
座標算出システム及び座標算出方法
2か月前
株式会社ワコム
電子ペン、手書き入力装置及び電子ペン用芯体
1か月前
株式会社ワコム
ペン、ペン及びタッチコントローラを含むシステム
2か月前
株式会社ワコム
ペン状態検出回路、ペン状態検出方法、及び電子機器
1か月前
株式会社ワコム
パームリジェクションの方法及びセンサコントローラ
2か月前
株式会社ワコム
タッチパッド、タッチパッドによって実行される方法、集積回路
1か月前
株式会社ワコム
コンピュータによって実行される方法、コンピュータ、及びプログラム
11日前
個人
詐欺保険
1か月前
個人
縁伊達ポイン
1か月前
個人
5掛けポイント
22日前
個人
職業自動販売機
15日前
個人
RFタグシート
1か月前
個人
地球保全システム
1か月前
個人
ペルソナ認証方式
1か月前
個人
QRコードの彩色
1か月前
個人
情報処理装置
25日前
個人
自動調理装置
1か月前
個人
農作物用途分配システム
1か月前
個人
残土処理システム
1か月前
個人
インターネットの利用構造
29日前
個人
サービス情報提供システム
17日前
個人
知的財産出願支援システム
1か月前
個人
タッチパネル操作指代替具
1か月前
個人
携帯端末障害問合せシステム
1か月前
個人
スケジュール調整プログラム
1か月前
株式会社キーエンス
受発注システム
1か月前
株式会社キーエンス
受発注システム
1か月前
続きを見る
他の特許を見る