TOP
|
特許
|
意匠
|
商標
特許ウォッチ
Twitter
他の特許を見る
10個以上の画像は省略されています。
公開番号
2025166205
公報種別
公開特許公報(A)
公開日
2025-11-05
出願番号
2025135644,2024168216
出願日
2025-08-18,2020-12-09
発明の名称
電子ペン及び情報処理装置
出願人
株式会社ワコム
代理人
弁理士法人そらおと
主分類
G06F
3/01 20060101AFI20251028BHJP(計算;計数)
要約
【課題】触覚フィードバックの生成に対応する電子ペンに、触覚フィードバックの生成に関するハプティクスデータを供給できるようにする。
【解決手段】情報処理装置と通信可能な電子ペンであって、ユーザに提供する触覚フィードバックを生成する振動部と、前記触覚フィードバックを生成することが可能であることを示す情報を前記情報処理装置に送信する送信部と、前記送信部から送信された前記情報の受信に応じて前記情報処理装置から送信されるハプティクスデータであり前記触覚フィードバックの生成に関するハプティクスデータを受信する受信部と、前記受信部によって受信されたハプティクスデータに基づいて前記触覚フィードバックを生成するように前記振動部を制御する制御部と、を有する。
【選択図】図15
特許請求の範囲
【請求項1】
情報処理装置と通信可能な電子ペンであって、
ユーザに提供する触覚フィードバックを生成する振動部と、
前記触覚フィードバックを生成することが可能であることを示す情報を前記情報処理装置に送信する送信部と、
前記送信部から送信された前記情報の受信に応じて前記情報処理装置から送信されるハプティクスデータであり前記触覚フィードバックの生成に関するハプティクスデータを受信する受信部と、
前記受信部によって受信されたハプティクスデータに基づいて前記触覚フィードバックを生成するように前記振動部を制御する制御部と、
を有する電子ペン。
続きを表示(約 1,000 文字)
【請求項2】
請求項1に記載の電子ペンであって、
前記受信部は、近距離無線通信により前記情報処理装置から前記ハプティクスデータを受信する、
ことを特徴とする電子ペン。
【請求項3】
請求項1に記載の電子ペンであって、
前記ハプティクスデータは、触覚フィードバックの強度に関するデータである、
ことを特徴とする電子ペン。
【請求項4】
請求項1に記載の電子ペンであって、
前記制御部は、前記ハプティクスデータに関する波形データに基づいて前記振動部を駆動する、
ことを特徴とする電子ペン。
【請求項5】
請求項1に記載の電子ペンであって、
前記情報は、前記電子ペンが前記振動部を内蔵していることを示す情報である、
ことを特徴とする電子ペン。
【請求項6】
請求項1に記載の電子ペンであって、
前記制御部は、前記ハプティクスデータが変更されるまで、直前に受信したハプティクスデータに基づいて前記振動部を制御し続ける、
ことを特徴とする電子ペン。
【請求項7】
請求項1に記載の電子ペンであって、
前記制御部は、前記ハプティクスデータに関する波形データに基づいて、前記振動部の振動パターンを変更する、
ことを特徴とする電子ペン。
【請求項8】
請求項2に記載の電子ペンであって、
前記近距離無線通信は、ブルートゥース(登録商標)による通信である、
ことを特徴とする電子ペン。
【請求項9】
情報処理装置であって、
電子ペンから送信される情報を受信する受信部と、
前記受信部によって受信した前記情報に基づいて、前記電子ペンが触覚フィードバックを生成可能か否かを判定するプロセッサと、
前記プロセッサが前記触覚フィードバックを生成可能であると判定した場合、前記触覚フィードバックの生成に関するハプティクスデータを前記電子ペンに送信する送信部と、
を有する情報処理装置。
【請求項10】
請求項9に記載の情報処理装置であって、
前記送信部は、近距離無線通信により前記ハプティクスデータを前記電子ペンに送信する、
ことを特徴とする情報処理装置。
(【請求項11】以降は省略されています)
発明の詳細な説明
【技術分野】
【0001】
本発明は手書きデータ生成装置、手書きデータ再生装置、及びデジタルインクのデータ構造に関し、特に、触覚フィードバックを用いる手書きデータ生成装置、手書きデータ再生装置、及びデジタルインクのデータ構造に関する。
続きを表示(約 2,000 文字)
【背景技術】
【0002】
タッチスクリーン上に表示されているテキストの選択、テキスト内のカーソルの挿入若しくは位置決めといった操作を行うと、触覚に作用するフィードバックを与えるように構成されたタブレット端末が知られている。特許文献1には、そのようなタブレット端末の一例が開示されている。
【先行技術文献】
【特許文献】
【0003】
特開2012-118993号公報
【発明の概要】
【発明が解決しようとする課題】
【0004】
本発明の目的の一つは、ストロークデータに応じた触覚フィードバックを生成する手書きデータ生成装置、手書きデータ再生装置、及びデジタルインクのデータ構造を提供することにある。
【課題を解決するための手段】
【0005】
本発明による手書きデータ生成装置は、プロセッサを備える手書きデータ生成装置であって、前記プロセッサは、手書き入力に応じて生成されるストロークデータの少なくとも一部に対して触覚フィードバックを関連付け、前記ストロークデータ及び前記触覚フィードバックを示すハプティクスデータを含むデジタルインクを生成する、手書きデータ生成装置である。
【0006】
本発明による手書きデータ再生装置は、ディスプレイ及びプロセッサを備える手書きデータ再生装置であって、前記プロセッサは、ストロークデータ、及び、触覚フィードバックを示すハプティクスデータを含むデジタルインクを取得し、前記ストロークデータを前記ディスプレイに表示するために、前記ストロークデータを再生し、前記ストロークデータの再生時に、前記ハプティクスデータによって示される前記触覚フィードバックを再生するように力覚発生装置を制御する、手書きデータ再生装置である。
【0007】
本発明によるデジタルインクのデータ構造は、ディスプレイ、記憶部、及びプロセッサを含むコンピュータに用いられ、前記記憶部に記憶されるデジタルインクのデータ構造であって、ストロークデータと、前記ストロークデータのうちの対象ストロークデータに触覚フィードバックを対応付けるハプティクスデータと、を含み、前記ストロークデータを前記ディスプレイに表示するために前記ストロークデータを再生するとともに、前記ストロークデータの再生時に、前記ハプティクスデータによって示される前記触覚フィードバックを再生するように力覚発生装置を制御する際に、前記触覚フィードバックの内容を前記プロセッサが前記記憶部から取得する処理に用いられる、デジタルインクのデータ構造である。
【発明の効果】
【0008】
本発明によれば、ストロークデータに応じた触覚フィードバックを生成することが可能となる。
【図面の簡単な説明】
【0009】
本発明の第1の実施の形態によるタブレット端末1a,1bの外観を示す図である。
図1に示したタブレット端末1a,1bの内部構成を示す図である。
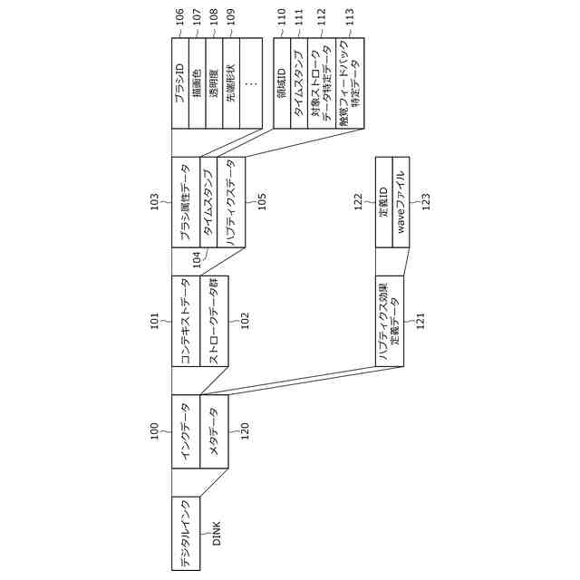
図1に示したタブレット端末1aによって生成されるデジタルインクDINKのデータ構造を示す図である。
図4に示したストロークデータ群102の例を示す図である。
図4に示したハプティクス効果定義データ121の例を示す図である。
図4に示したハプティクスデータ105の例を示す図である。
図1に示したタブレット端末1aが行う触覚フィードバック付与処理を示すフロー図である。
図1に示したタブレット端末1bが行う触覚フィードバック再生処理を示すフロー図である。
図8に示したストロークデータ再生処理の詳細を示すフロー図である。
本発明の第2の実施の形態による部分ハプティクスデータPHDの構造を示す図である。
本発明の第2の実施の形態によるストロークデータ再生処理の詳細を示す図である。
本発明の第3の実施の形態によるストロークデータ群102の例を示す図である。
本発明の第3の実施の形態によるタブレット端末1aが行うストロークデータ生成処理を示すフロー図である。
筆圧値とハプティクスデータとを対応付ける対応テーブルを示す図である。
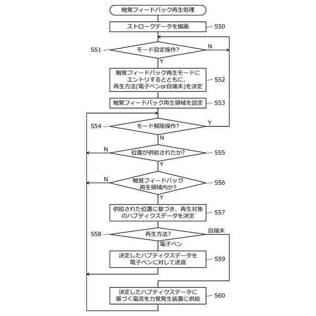
本発明の第3の実施の形態によるタブレット端末1bが行う触覚フィードバック再生処理を示すフロー図である。
図15のステップS53において設定される触覚フィードバック再生領域を説明する図である。
【発明を実施するための形態】
【0010】
以下、添付図面を参照しながら、本発明の実施の形態について詳細に説明する。
(【0011】以降は省略されています)
この特許をJ-PlatPat(特許庁公式サイト)で参照する
関連特許
株式会社ワコム
電子ペン
25日前
株式会社ワコム
電子ペン
25日前
株式会社ワコム
電子ペン用のグリップ及び電子ペン
2日前
株式会社ワコム
パッド付属物、仮想入力デバイス、及び入力システム
23日前
株式会社ワコム
スタイラス
18日前
株式会社ワコム
手書き入力装置
16日前
株式会社ワコム
計算機及びプログラム
1か月前
株式会社ワコム
電子ペン及び情報処理装置
25日前
株式会社ワコム
ホスト装置及び入出力システム
10日前
株式会社ワコム
座標算出システム及び座標算出方法
2か月前
株式会社ワコム
電子ペン、手書き入力装置及び電子ペン用芯体
1か月前
株式会社ワコム
ペン、ペン及びタッチコントローラを含むシステム
2か月前
株式会社ワコム
ペン状態検出回路、ペン状態検出方法、及び電子機器
1か月前
株式会社ワコム
タッチパッド、タッチパッドによって実行される方法、集積回路
1か月前
株式会社ワコム
コンピュータによって実行される方法、コンピュータ、及びプログラム
12日前
個人
詐欺保険
1か月前
個人
縁伊達ポイン
1か月前
個人
5掛けポイント
23日前
個人
職業自動販売機
16日前
個人
RFタグシート
1か月前
個人
QRコードの彩色
1か月前
個人
ペルソナ認証方式
1か月前
個人
地球保全システム
2か月前
個人
情報処理装置
26日前
個人
自動調理装置
1か月前
個人
残土処理システム
1か月前
個人
農作物用途分配システム
1か月前
個人
インターネットの利用構造
1か月前
個人
知的財産出願支援システム
1か月前
個人
サービス情報提供システム
18日前
個人
タッチパネル操作指代替具
1か月前
個人
携帯端末障害問合せシステム
1か月前
個人
スケジュール調整プログラム
1か月前
株式会社キーエンス
受発注システム
1か月前
株式会社キーエンス
受発注システム
1か月前
個人
エリアガイドナビAIシステム
1か月前
続きを見る
他の特許を見る