TOP
|
特許
|
意匠
|
商標
特許ウォッチ
Twitter
他の特許を見る
公開番号
2025171919
公報種別
公開特許公報(A)
公開日
2025-11-20
出願番号
2024189419
出願日
2024-10-29
発明の名称
液冷構造及び電池パック
出願人
恵州億緯リ能股フン有限公司
,
EVE ENERGY CO., LTD.
代理人
TRY国際弁理士法人
主分類
H01M
10/6557 20140101AFI20251113BHJP(基本的電気素子)
要約
【課題】セルが熱により膨張した場合に膨張防止効果を果たし、電池パックの組み立て効率を向上する。
【解決手段】液冷構造100は、セルを支持するための支持板10と、支持板に垂直に設けられ、本体と本体内に設けられた複数の伸縮リブ22を含み、本体内には液冷剤が流れる液冷流路23が形成され、複数の伸縮リブが液冷流路内に間隔を空けて設けられ、各伸縮リブが液冷流路の対向する両側壁の間に接続され、液冷流路を複数のサブ流路に仕切る垂直板20と、を含む。
【選択図】図1
特許請求の範囲
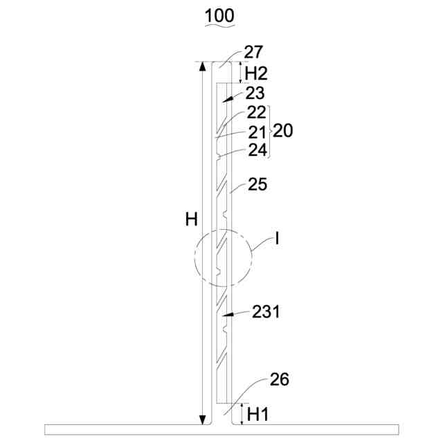
【請求項1】
液冷構造(100)であって、
セル(200)を支持するための支持板(10)と、
前記支持板(10)に垂直に設けられ、本体(21)と前記本体(21)内に設けられた複数の伸縮リブ(22)を含み、前記本体(21)内には液冷剤が流れる液冷流路(23)が形成され、複数の前記伸縮リブ(22)は前記液冷流路(23)内に間隔を空けて設けられ、各前記伸縮リブ(22)は、前記液冷流路(23)の対向する両側壁の間に接続され、前記液冷流路(23)を複数のサブ流路(231)に仕切る垂直板(20)と、を含む、液冷構造(100)。
続きを表示(約 1,000 文字)
【請求項2】
前記垂直板(20)は、複数の制限リブ(24)をさらに含み、前記制限リブ(24)は、前記液冷流路(23)の少なくとも1つの側壁に設けられ、複数の前記伸縮リブ(22)及び複数の前記制限リブ(24)は1つずつ交互に設けられる、請求項1に記載の液冷構造(100)。
【請求項3】
前記液冷流路(23)の対向する両側壁に前記制限リブ(24)が設けられ、前記制限リブ(24)は、前記液冷流路(23)の対向する両側壁に順に交互に設けられる、請求項2に記載の液冷構造(100)。
【請求項4】
前記液冷剤の流動方向に垂直な方向において、前記制限リブ(24)の幅は前記液冷流路(23)の幅の0.1~0.9倍である、請求項2又は3に記載の液冷構造(100)。
【請求項5】
前記伸縮リブ(22)は、前記液冷流路(23)の側壁に対して傾斜して設けられる、請求項1~3のいずれか一項に記載の液冷構造(100)。
【請求項6】
前記伸縮リブ(22)の傾斜角度は30°~60°の間である、請求項5に記載の液冷構造(100)。
【請求項7】
前記伸縮リブ(22)の厚さの範囲は1.0~2.5mmである、請求項1~3のいずれか1項に記載の液冷構造(100)。
【請求項8】
前記本体(21)は、上から下に向かって少なくとも流通セクション(25)と支持セクション(26)を含み、前記流通セクション(25)は前記液冷流路(23)となり、前記支持セクション(26)は、中実構造であり、前記流通セクション(25)と前記支持板(10)との間に接続される、請求項1~3のいずれか1項に記載の液冷構造(100)。
【請求項9】
前記本体(21)は、遮断セクション(27)をさらに含み、前記遮断セクション(27)は、前記流通セクション(25)の前記支持セクション(26)から離れた端部に設けられ、前記遮断セクション(27)は、中実構造である、請求項8に記載の液冷構造(100)。
【請求項10】
前記支持セクション(26)の高さ及び前記遮断セクション(27)の高さはそれぞれ前記本体(21)の高さの0.05~0.1倍である、請求項9に記載の液冷構造(100)。
(【請求項11】以降は省略されています)
発明の詳細な説明
【技術分野】
【0001】
本願は、2024年05月10日に中国特許庁に提出された、出願番号が2024210161691の中国特許出願の優先権を主張しており、当該出願の全ての内容は、引用により本願に組み込まれている。
本願は、電池の技術分野に関し、特に、液冷構造及び電池パックに関する。
続きを表示(約 1,200 文字)
【背景技術】
【0002】
電池技術の進歩に伴い、エネルギー貯蔵産業で現在使用されているエネルギー電池は、高エネルギー密度、大容量、高速充放電の方向に発展している。高エネルギー密度アプリケーションの要件と電池をパックとして配置することによる影響により、電池パックの高速充放電中に短時間に大量の熱が発生し、電池パックの温度の上昇と不均一な分布を引き起している。
【発明の概要】
【発明が解決しようとする課題】
【0003】
充放電プロセス中に電池パックを冷却するために、通常、電池パックの底部に液冷板が設けられ、液冷板と電池パックとの間の熱交換によって電池パックを冷却する。
【0004】
現在の液冷形態は、現在のセル・トゥ・パック(CTP:Cell to Pack)の組み立て方法には適用できない。
【課題を解決するための手段】
【0005】
第1の態様では、本願は、
セルを支持するための支持板と、
前記支持板に垂直に設けられ、本体と前記本体内に設けられた複数の伸縮リブを含み、前記本体内には液冷剤が流れる液冷流路が形成され、複数の前記伸縮リブは前記液冷流路内に間隔を空けて設けられ、各前記伸縮リブは、前記液冷流路の対向する両側壁の間に接続され、前記液冷流路を複数のサブ流路に仕切る垂直板と、を含む、液冷構造を提供する。
【0006】
第2の態様では、本願は、
上記の液冷構造と、前記液冷構造の前記支持板に順に並設される複数のセルと、を含む、電池パックを提供する。
【発明の効果】
【0007】
液冷剤が流れる垂直板が設けられ、液冷剤とセルとの熱交換を可能することによって、充放電プロセス中にセルを冷却し、また、垂直板内に伸縮リブが設けられ、セルが熱により膨張したときに、伸縮リブが圧縮され、伸縮リブは一定の構造強度を有するので、セルが伸縮リブを無限に圧縮することができず、それによって、垂直板はセルが熱により膨張した場合に膨張防止効果を果たす。さらに、セルを支持するための支持板を設けることによって、液冷構造とセルは1つのモジュールとして組み立てられ、CTPの組み立てに直接用いることができ、それにより、電池パックの組み立て効率が向上する。
【図面の簡単な説明】
【0008】
本願の実施例の液冷構造の模式的な斜視図である。
図1における液冷構造の左側面図である。
図2のI部の拡大模式図である。
図1の液冷構造の使用状態の参考図である。
【発明を実施するための形態】
【0009】
以下、図面を参照して本願についてさらに詳細に説明する。
【0010】
図1~図3に示すように、本願の実施例による液冷構造100は、支持板10と、垂直板20と、を含む。
(【0011】以降は省略されています)
この特許をJ-PlatPat(特許庁公式サイト)で参照する
関連特許
東ソー株式会社
絶縁電線
1か月前
APB株式会社
蓄電セル
29日前
ローム株式会社
半導体装置
1か月前
マクセル株式会社
電源装置
23日前
株式会社東芝
端子台
23日前
株式会社GSユアサ
蓄電装置
2日前
株式会社GSユアサ
蓄電装置
24日前
株式会社GSユアサ
蓄電装置
24日前
富士電機株式会社
電磁接触器
2日前
三菱電機株式会社
回路遮断器
10日前
株式会社GSユアサ
蓄電装置
16日前
株式会社ホロン
冷陰極電子源
1か月前
日新イオン機器株式会社
基板処理装置
26日前
日本特殊陶業株式会社
保持装置
15日前
トヨタ自動車株式会社
バッテリ
29日前
トヨタ自動車株式会社
蓄電装置
24日前
日本特殊陶業株式会社
保持装置
1か月前
トヨタ自動車株式会社
冷却構造
1か月前
北道電設株式会社
配電具カバー
29日前
トヨタ自動車株式会社
電池パック
1か月前
株式会社トクヤマ
シリコンエッチング液
1か月前
ヒロセ電機株式会社
電気コネクタ
2日前
住友電装株式会社
コネクタ
2日前
株式会社デンソー
電子装置
26日前
トヨタ自動車株式会社
密閉型電池
25日前
矢崎総業株式会社
コネクタ
2日前
株式会社レゾナック
冷却器
10日前
日亜化学工業株式会社
半導体レーザ素子
26日前
ローム株式会社
半導体モジュール
3日前
トヨタ自動車株式会社
電池パック
1か月前
住友電装株式会社
コネクタ
1か月前
ローム株式会社
半導体装置
1か月前
甲神電機株式会社
変流器及び零相変流器
17日前
日本無線株式会社
レーダアンテナ
17日前
株式会社トクヤマ
シリコンエッチング液
1か月前
株式会社デンソー
熱交換部材
17日前
続きを見る
他の特許を見る