TOP
|
特許
|
意匠
|
商標
特許ウォッチ
Twitter
他の特許を見る
公開番号
2025171895
公報種別
公開特許公報(A)
公開日
2025-11-20
出願番号
2024107974,2024076625
出願日
2024-07-04,2024-05-09
発明の名称
売買管理方法、情報処理装置及びプログラム
出願人
東京海上ディーアール株式会社
代理人
弁理士法人創光国際特許事務所
主分類
G06Q
50/06 20240101AFI20251113BHJP(計算;計数)
要約
【課題】蓄電池に蓄えられた電力の売買に関する決定を適切に行えるようにする。
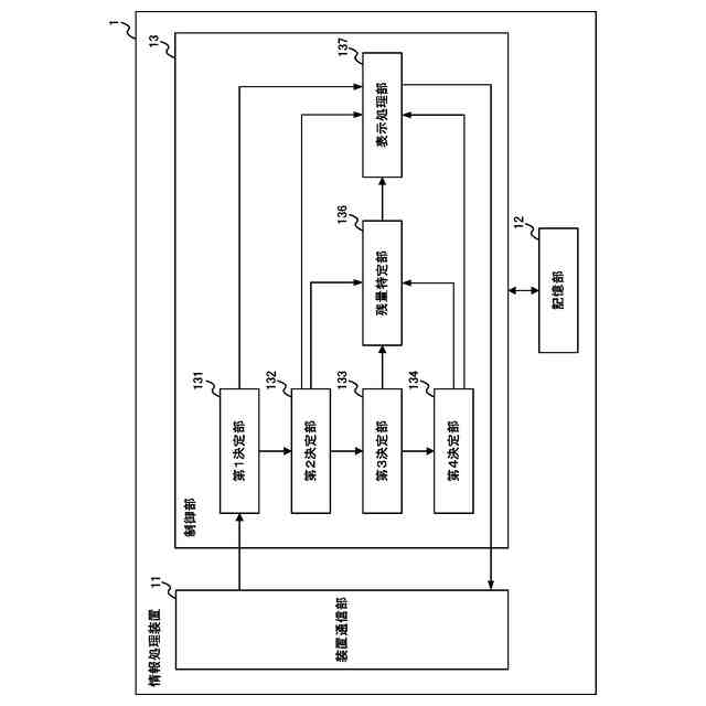
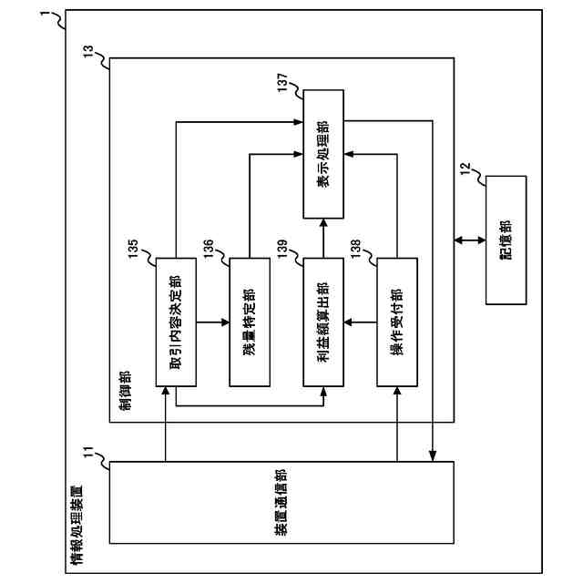
【解決手段】情報処理装置1は、電力需給の調整のために電力が売買される需給調整市場と、卸電力が売買される卸電力取引市場と、を含む電力売買市場において、蓄電池に蓄える電力の売買を管理するための情報処理装置であって、第1時間帯において、蓄電池の蓄電量が需給調整市場に約定するために必要な所定値に達するまで卸電力取引市場における購入電力量を決定する第1決定部131と、購入電力量に対応する購入予測額と、購入電力量を第1時間帯よりも後の第2時間帯において需給調整市場又は卸電力取引市場で売却することで得られる収益の期待額と、を比較した結果に基づいて、第2時間帯において需給調整市場又は卸電力取引市場で電力を売却するか否かを決定する第2決定部132と、を有する。
【選択図】図3
特許請求の範囲
【請求項1】
コンピュータが実行する、電力需給の調整のために電力が売買される需給調整市場と、卸電力が売買される卸電力取引市場と、を含む電力売買市場において、蓄電池に蓄える電力の売買を管理するための売買管理方法であって、
第1時間帯において、前記蓄電池の蓄電量が前記需給調整市場に約定するために必要な所定値に達するまで前記卸電力取引市場における購入電力量を決定する第1決定ステップと、
前記購入電力量に対応する購入予測額と、前記購入電力量を前記第1時間帯よりも後の第2時間帯において前記需給調整市場又は前記卸電力取引市場で売却することで得られる収益の期待額と、を比較した結果に基づいて、前記第2時間帯において前記需給調整市場又は前記卸電力取引市場で電力を売却するか否かを決定する第2決定ステップと、
を有する売買管理方法。
続きを表示(約 1,300 文字)
【請求項2】
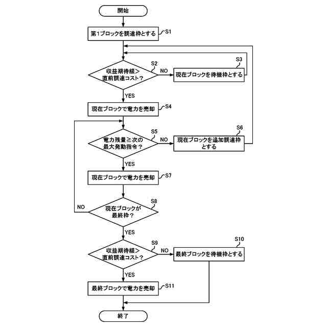
前記第2決定ステップにおいて、前記第1時間帯が属する日の前日に、前記購入電力量を前記第2時間帯において前記需給調整市場で売却することで得られる収益の期待額が前記購入予測額よりも大きいと判定した場合に、前記需給調整市場で電力を売却すると決定する、
請求項1に記載の売買管理方法。
【請求項3】
前記第2決定ステップにおいて、前記第1時間帯が属する日の前日に、前記購入電力量を前記第2時間帯において前記需給調整市場で売却することで得られる収益の期待額が前記購入予測額以下であり、かつ、前記購入電力量を前記第2時間帯において前記卸電力取引市場で売却することで得られる収益の期待額が前記購入予測額よりも大きいと判定した場合に、前記卸電力取引市場で電力を売却すると決定する、
請求項1に記載の売買管理方法。
【請求項4】
前記第2決定ステップにおいて、前記購入電力量を前記第2時間帯において前記需給調整市場又は前記卸電力取引市場で売却することで得られる収益の期待額が前記購入予測額よりも大きいと判定した場合に、電力を売却すると決定する、
請求項1に記載の売買管理方法。
【請求項5】
前記第2決定ステップにおいて、前記卸電力取引市場で電力を売却する場合の利益額と、前記需給調整市場で電力を売却する場合の利益額と、を比較し、前記利益額がプラスであり、かつ前記利益額が大きい方の市場で電力を売却すると決定する、
請求項4に記載の売買管理方法。
【請求項6】
前記第2時間帯において電力を売却すると決定した場合、前記第2時間帯より後の第3時間帯を、電力を追加調達する追加調達枠とすることを決定する第3決定ステップを更に含む、
請求項4に記載の売買管理方法。
【請求項7】
前記第2時間帯において電力を売却すると決定し、かつ前記第2時間帯終了時点での前記蓄電池の電力の残量が、前記第2時間帯より後の第3時間帯における最大の発動指令対応量以上である場合、前記第3決定ステップにおいて電力を売却すると決定する、
請求項6に記載の売買管理方法。
【請求項8】
前記第2決定ステップにおいて、前記購入電力量を前記第2時間帯において前記需給調整市場又は前記卸電力取引市場で売却することで得られる収益の期待額が前記購入予測額以下であると判定した場合に、前記第2時間帯において電力を売らずに待機すると決定する、
請求項1に記載の売買管理方法。
【請求項9】
前記第2決定ステップにおいて、前記第2時間帯で電力を売却する場合の前記蓄電池の電力の残量と、前記第2時間帯より後の第3時間帯における最大の発動指令対応量とを比較した結果に基づいて、前記第2時間帯において電力を売却するか否かを決定する、
請求項1に記載の売買管理方法。
【請求項10】
前記第2決定ステップにおいて、前記最大の発動指令対応量が前記残量より小さいと判定した場合、前記第2時間帯において電力を売却すると決定する、
請求項9に記載の売買管理方法。
(【請求項11】以降は省略されています)
発明の詳細な説明
【技術分野】
【0001】
本発明は、蓄電池に蓄える電力の売買を管理するための売買管理方法、情報処理装置及びプログラムに関する。
続きを表示(約 1,400 文字)
【背景技術】
【0002】
蓄電池に蓄電した電力を供給する技術が知られている(例えば、特許文献1を参照)。
【先行技術文献】
【特許文献】
【0003】
特許第7447207号公報
【発明の概要】
【発明が解決しようとする課題】
【0004】
近年、蓄電池による電力の供給が注目されている。電力価格は常に変動しているため、蓄電池に蓄えられた電力を一般送配電事業者等に供給する電力事業者が収益性を高めるためには、ある時間帯において、電力を売却するべきか又は電力を売らずに待機するべきかを適切に判断することが重要である。
【0005】
そこで、本発明はこれらの点に鑑みてなされたものであり、蓄電池に蓄えられた電力の売買に関する決定を適切に行えるようにすることを目的とする。
【課題を解決するための手段】
【0006】
本発明の第1の態様に係る売買管理方法は、コンピュータが実行する、電力需給の調整のために電力が売買される需給調整市場と、卸電力が売買される卸電力取引市場と、を含む電力売買市場において、蓄電池に蓄える電力の売買を管理するための売買管理方法であって、第1時間帯において、前記蓄電池の蓄電量が前記需給調整市場に約定するために必要な所定値に達するまで前記卸電力取引市場における購入電力量を決定する第1決定ステップと、前記購入電力量に対応する購入予測額と、前記購入電力量を前記第1時間帯よりも後の第2時間帯において前記需給調整市場又は前記卸電力取引市場で売却することで得られる収益の期待額と、を比較した結果に基づいて、前記第2時間帯において前記需給調整市場又は前記卸電力取引市場で電力を売却するか否かを決定する第2決定ステップと、を有する。
【0007】
前記第2決定ステップにおいて、前記第1時間帯が属する日の前日に、前記購入電力量を前記第2時間帯において前記需給調整市場で売却することで得られる収益の期待額が前記購入予測額よりも大きいと判定した場合に、前記需給調整市場で電力を売却すると決定してもよい。
【0008】
前記第2決定ステップにおいて、前記第1時間帯が属する日の前日に、前記購入電力量を前記第2時間帯において前記需給調整市場で売却することで得られる収益の期待額が前記購入予測額以下であり、かつ、前記購入電力量を前記第2時間帯において前記卸電力取引市場で売却することで得られる収益の期待額が前記購入予測額よりも大きいと判定した場合に、前記卸電力取引市場で電力を売却すると決定してもよい。
【0009】
前記第2決定ステップにおいて、前記購入電力量を前記第2時間帯において前記需給調整市場又は前記卸電力取引市場で売却することで得られる収益の期待額が前記購入予測額よりも大きいと判定した場合に、電力を売却すると決定してもよい。
【0010】
前記第2決定ステップにおいて、前記卸電力取引市場で電力を売却する場合の利益額と、前記需給調整市場で電力を売却する場合の利益額と、を比較し、前記利益額がプラスであり、かつ前記利益額が大きい方の市場で電力を売却すると決定してもよい。
(【0011】以降は省略されています)
この特許をJ-PlatPat(特許庁公式サイト)で参照する
関連特許
個人
詐欺保険
1か月前
個人
縁伊達ポイン
1か月前
個人
5掛けポイント
15日前
個人
RFタグシート
26日前
個人
職業自動販売機
8日前
個人
ペルソナ認証方式
23日前
個人
QRコードの彩色
1か月前
個人
自動調理装置
25日前
個人
情報処理装置
18日前
個人
残土処理システム
1か月前
個人
農作物用途分配システム
1か月前
個人
サービス情報提供システム
10日前
個人
知的財産出願支援システム
1か月前
個人
タッチパネル操作指代替具
1か月前
個人
インターネットの利用構造
22日前
個人
携帯端末障害問合せシステム
1か月前
個人
スケジュール調整プログラム
1か月前
個人
エリアガイドナビAIシステム
23日前
キヤノン株式会社
情報処理装置
2日前
株式会社ワコム
電子ペン
17日前
個人
帳票自動生成型SaaSシステム
1か月前
個人
音声・通知・再配達UX制御構造
1か月前
株式会社ケアコム
項目選択装置
18日前
株式会社ケアコム
項目選択装置
18日前
キヤノン株式会社
画像認識装置
2日前
キヤノン株式会社
情報処理装置
2日前
キヤノン株式会社
印刷システム
1か月前
エッグス株式会社
情報処理装置
1か月前
トヨタ自動車株式会社
通知装置
29日前
キヤノン株式会社
情報処理装置
16日前
株式会社ワコム
電子ペン
17日前
大同大學
スーパーアプリ構築方法
2日前
太陽誘電株式会社
表示装置
29日前
株式会社アジラ
行動推定システム
2日前
トヨタ自動車株式会社
車両
1か月前
大同特殊鋼株式会社
棒材計数方法
1か月前
続きを見る
他の特許を見る