TOP
|
特許
|
意匠
|
商標
特許ウォッチ
Twitter
他の特許を見る
公開番号
2025171811
公報種別
公開特許公報(A)
公開日
2025-11-20
出願番号
2024077506
出願日
2024-05-10
発明の名称
バッテリーケース、バッテリー装置、及び、乗物
出願人
ストーム グループ ベイ フェイ
,
STORM Group B.V.
代理人
弁理士法人 佐野特許事務所
主分類
H01M
50/258 20210101AFI20251113BHJP(基本的電気素子)
要約
【課題】バッテリー装置の仕様を容易に変更可能にする。
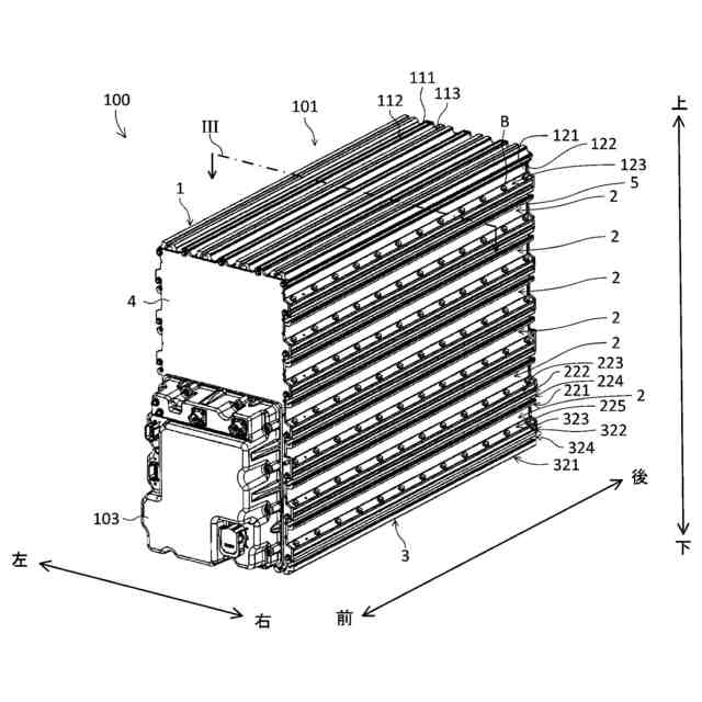
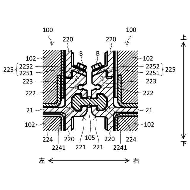
【解決手段】バッテリー装置100のバッテリーケース101は、第1方向に積み重ねられる複数のケース部材10と、収容空間Sと、を備える。収容空間Sは、第1方向において隣り合うケース部材10間にバッテリーモジュール102を収容可能である。一方側のケース部材10は、第1連結部123,225をさらに有する。第1連結部123,225は、一方側のケース部材10の板部20の第1方向と交差する第2方向の両端側に配置される。他方側のケース部材10は、第2連結部223,323をさらに有する。第2連結部223,323は、他方側のケース部材10の第2方向の両端側に配置されて、第1連結部123,225と連結される。
【選択図】図1
特許請求の範囲
【請求項1】
第1方向に積み重ねられる複数のケース部材と、
前記第1方向において隣り合う前記ケース部材間にバッテリーモジュールを収容可能な収容空間と、
を備え、
前記第1方向において隣り合う前記ケース部材はそれぞれ、前記第1方向と交差する方向に広がる板部を有し、
前記第1方向において隣り合う前記ケース部材のうちの前記第1方向の一方側の前記ケース部材は、前記第1方向の一方側の前記ケース部材の前記板部の前記第1方向と交差する第2方向の両端側に配置される第1連結部をさらに有し、
前記第1方向において隣り合う前記ケース部材のうちの前記第1方向の他方側の前記ケース部材は、前記第1方向の他方側の前記ケース部材の前記第2方向の両端側に配置されて、前記第1連結部と連結される第2連結部をさらに有する、バッテリーケース。
続きを表示(約 1,900 文字)
【請求項2】
複数の前記ケース部材は、
前記第1方向の最も一方側に配置される第1ケース部材と、
前記第1方向の最も他方側に配置される第2ケース部材と、
前記第1ケース部材と前記第2ケース部材との間に配置される第3ケース部材と、
を含み、
前記第1ケース部材、前記第2ケース部材、及び、前記第3ケース部材はそれぞれ、前記第1方向と交差する方向に広がる板部を有し、
前記第1ケース部材の前記第1連結部は、該第1ケース部材と前記第1方向に隣り合う前記第3ケース部材の前記第2連結部と連結され、
前記第2ケース部材の前記第2連結部は、該第2ケース部材と前記第1方向に隣り合う前記第3ケース部材の前記第1連結部と連結される、請求項1に記載のバッテリーケース。
【請求項3】
前記第3ケース部材を複数有し、
前記第1方向において隣り合う前記第3ケース部材において、前記第1方向の一方側の前記第3ケース部材の前記第1連結部は、前記第1方向の他方側の前記第3ケース部材の前記第2連結部と連結される、請求項2に記載のバッテリーケース。
【請求項4】
前記第3ケース部材の前記板部は、
該第3ケース部の前記板部の前記第1方向及び前記第2方向と交差する第3方向の一方側端部において前記第3方向の他方に凹む第1凹部と、
該第3ケース部材の前記板部の前記第3方向の他方側端部において前記第3方向の一方に凹む第2凹部と、
のうちの少なくともどちらかを有する、請求項2に記載のバッテリーケース。
【請求項5】
前記第3ケース部材は、該第3ケース部材の前記板部の前記第2方向の一方側端部と他方側端部とに配置される一対の壁部をさらに有し、
前記壁部は、前記第3ケース部材の前記板部の前記第2方向の端部から前記第1方向の一方及び他方に延びる、請求項2に記載のバッテリーケース。
【請求項6】
前記第3ケース部材は、該第3ケース部材の前記板部の前記第2方向の一方側端部と他方側端部とに配置される一対の壁部をさらに有し、
前記壁部は、前記第3ケース部材の前記板部の前記第2方向の端部から前記第1方向の一方及び他方に延び、
少なくともいずれかの前記ケース部材は、接続部を有し、
前記接続部は、
他の前記バッテリーケースと接続可能であり、
前記第1ケース部材の前記板部の前記第1方向の一方側端面、前記第2ケース部材の前記板部の前記第1方向の他方側端面、前記第2ケース部材の前記壁部の前記第2方向の外方側端面、及び、前記第3ケース部材の前記壁部の前記第2方向の外方側端面の少なくともいずれかに配置される、請求項2に記載のバッテリーケース。
【請求項7】
複数の前記ケース部材の前記第1方向及び前記第2方向と交差する第3方向の一方側端部を覆う第1プレートと、
複数の前記ケース部材の前記第3方向の他方側端部を覆う第2プレートと、
をさらに備え、
前記壁部は、
該壁部の前記第1方向の端部において前記第2方向の外方に突出して該壁部の前記第3方向の一方側端部から他方側端部に渡って延びる凸条部と、
前記凸条部の前記第3方向の一方側端部に配置されて前記第1プレートを前記壁部に取り付けるための第1固定部と、
前記凸条部の前記第3方向の他方側端部に配置されて前記第2プレートを前記壁部に取り付けるための第2固定部と、
をさらに有し、
前記凸条部にはさらに、前記第1連結部及び前記第2連結部のどちらかと前記接続部とが配置される、請求項6に記載のバッテリーケース。
【請求項8】
前記ケース部材は、前記第1方向及び前記第2方向と交差する第3方向に延びる押出成形品である、請求項1に記載のバッテリーケース。
【請求項9】
請求項1から請求項8のいずれか1項に記載のバッテリーケースと、
前記バッテリーケースに収容されるバッテリーモジュールと、
を備える、バッテリー装置。
【請求項10】
前記電装部品を収容するインターフェースボックスと、
前記バッテリーモジュールと前記電装部品とを電気的に接続するコネクタ部と、
をさらに備え、
前記インターフェースボックスは、前記バッテリーケースの外部に配置される、請求項9に記載のバッテリー装置。
(【請求項11】以降は省略されています)
発明の詳細な説明
【技術分野】
【0001】
本発明は、バッテリーケース、バッテリー装置、及び、乗物に関する。
続きを表示(約 1,300 文字)
【背景技術】
【0002】
従来、バッテリー装置からの電力供給により、駆動可能な作業車両が知られている。たとえば、特許文献1では、電動作業車両のバッテリーシステムを開示している。このバッテリーシステムは、複数のバッテリー装着部を有する。各々のバッテリー装着部には、バッテリーのパックが着脱可能に装着される。
【0003】
ところで、バッテリー装置の仕様(サイズ、出力電圧、電力容量など)は、作業車両によって異なるため、作業車両毎にカスタムされる。
【先行技術文献】
【特許文献】
【0004】
特開2017-158516号公報
【発明の概要】
【発明が解決しようとする課題】
【0005】
しかしながら、作業車両に応じたバッテリー装置のカスタムは、設計者及び製造者に対する大きな負担と製造に要する時間及びコストとが掛かる一方で、大量生産され難い。そのため、スケールメリット(規模の経済性:economies of scale)が低くなり易い。また、作業車両毎に異なる仕様でカスタムされるため、保守・点検の方法及びし易さが異なる。従って、保守性及び点検作業性の維持が難しいことがある。
【0006】
本発明は、上記の状況を鑑みて、バッテリー装置の仕様を容易に変更可能にすることを目的とする。
【課題を解決するための手段】
【0007】
上記目的を達成するために本発明の一の態様によるバッテリーケースは、複数のケース部材と、収容空間と、を備える。複数の前記ケース部材は、第1方向に積み重ねられる。前記収容空間は、前記第1方向において隣り合う前記ケース部材間にバッテリーモジュールを収容可能である。前記第1方向において隣り合う前記ケース部材はそれぞれ、前記第1方向と交差する方向に広がる板部を有する。前記第1方向において隣り合う前記ケース部材のうちの前記第1方向の一方側の前記ケース部材は、第1連結部をさらに有する。前記第1連結部は、前記第1方向の一方側の前記ケース部材の前記板部の前記第1方向と交差する第2方向の両端側に配置される。前記第1方向において隣り合う前記ケース部材のうちの前記第1方向の他方側の前記ケース部材は、第2連結部をさらに有する。前記第2連結部は、前記第1方向の他方側の前記ケース部材の前記第2方向の両端側に配置されて、前記第1連結部と連結される。
【0008】
また、上記目的を達成するために本発明の一の態様によるバッテリー装置は、上記のバッテリーケースと、バッテリーモジュールと、を備える。前記バッテリーモジュールは、前記バッテリーケースに収容される。
【0009】
また、上記目的を達成するために本発明の一の態様による乗物は、上記のバッテリー装置を備える。
【0010】
本発明の更なる特徴や利点は、以下に示す実施形態によって一層明らかにされる。
【発明の効果】
(【0011】以降は省略されています)
この特許をJ-PlatPat(特許庁公式サイト)で参照する
関連特許
APB株式会社
蓄電セル
1か月前
東ソー株式会社
絶縁電線
1か月前
個人
フレキシブル電気化学素子
1か月前
マクセル株式会社
電源装置
25日前
株式会社東芝
端子台
25日前
日新イオン機器株式会社
イオン源
1か月前
株式会社ユーシン
操作装置
1か月前
ローム株式会社
半導体装置
1か月前
ローム株式会社
半導体装置
1か月前
株式会社GSユアサ
蓄電装置
26日前
三菱電機株式会社
回路遮断器
12日前
株式会社GSユアサ
蓄電装置
26日前
株式会社GSユアサ
蓄電装置
18日前
富士電機株式会社
電磁接触器
4日前
オムロン株式会社
電磁継電器
1か月前
株式会社GSユアサ
蓄電装置
4日前
太陽誘電株式会社
コイル部品
1か月前
株式会社GSユアサ
蓄電設備
1か月前
株式会社ホロン
冷陰極電子源
1か月前
株式会社GSユアサ
蓄電設備
1か月前
ノリタケ株式会社
熱伝導シート
1か月前
日東電工株式会社
積層体
1か月前
トヨタ自動車株式会社
蓄電装置
1か月前
北道電設株式会社
配電具カバー
1か月前
日新イオン機器株式会社
基板処理装置
28日前
日本特殊陶業株式会社
保持装置
1か月前
トヨタ自動車株式会社
蓄電装置
26日前
日本特殊陶業株式会社
保持装置
17日前
トヨタ自動車株式会社
冷却構造
1か月前
サクサ株式会社
電池の固定構造
1か月前
トヨタ自動車株式会社
バッテリ
1か月前
トヨタ自動車株式会社
バッテリ
1か月前
矢崎総業株式会社
コネクタ
4日前
日本製紙株式会社
導電性フィルム
1か月前
住友電装株式会社
コネクタ
1か月前
ヒロセ電機株式会社
電気コネクタ
4日前
続きを見る
他の特許を見る