TOP
|
特許
|
意匠
|
商標
特許ウォッチ
Twitter
他の特許を見る
公開番号
2025171238
公報種別
公開特許公報(A)
公開日
2025-11-20
出願番号
2024076363
出願日
2024-05-09
発明の名称
AIを活用した害鳥獣撃退システム
出願人
NPO法人野生動物被害対策研究会
代理人
個人
主分類
A01M
29/00 20110101AFI20251113BHJP(農業;林業;畜産;狩猟;捕獲;漁業)
要約
【課題】騒音と安全対策を考慮しつつ、人手を要さずに害鳥獣を威嚇又は捕獲するシステムを提供する。
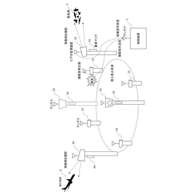
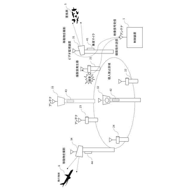
【解決手段】通信機能を有する制御装置1、動体を撮影するビデオ監視装置31~34、集音マイク41~44、侵入禁止領域に接近した害鳥群5を追い払う爆裂音発生器21~24を備え。制御装置1は、ビデオ監視装置31~34から送信された動体の映像と、集音マイク41~44からの鳥獣の鳴き声を解析し、接近する動体が害鳥獣であるか否かを判断し、この判断に基づいて、動体が害鳥獣であれば爆裂音発生器を作動させ、害鳥群5を威嚇する害鳥獣撃退システム。
【選択図】図1
特許請求の範囲
【請求項1】
通信機能を有する制御装置と、動体を検知するビデオ監視装置と、侵入禁止領域に接近した害鳥獣を追い払う又は捕獲する害鳥獣撃退装置と、を備えた害鳥獣撃退システムであって、前記制御装置は画像認識アルゴリズムを備えており、前記制御装置は前記ビデオ監視装置から送信された前記動体の映像を予め学習したデータに基づいて解析することにより前記動体が害鳥獣であるか否かを判別し、前記動体が害鳥獣であると判断した場合は前記害鳥獣撃退装置を動作させることを特徴とする害鳥獣撃退システム。
続きを表示(約 960 文字)
【請求項2】
前記画像認識アルゴリズムは機械学習に基づく推論モデルであることを特徴とする請求項1記載の害鳥獣撃退システム。
【請求項3】
前記害鳥獣撃退装置は爆裂音発生器であることを特徴とする請求項1に記載の害鳥獣撃退システム。
【請求項4】
前記害鳥獣撃退装置は害鳥獣捕獲器であることを特徴とする請求項1に記載の害鳥獣撃退システム。
【請求項5】
前記動体が人であると判断された場合は、前記制御装置は前記害鳥獣の存在にかかわらず、前記害鳥獣撃退装置を動作させないようにしたことを特徴とする請求項1に記載の害鳥獣撃退システム。
【請求項6】
前記害鳥獣撃退装置及び前記ビデオ監視装置は、それぞれ複数設置されており、前記制御装置は害鳥獣が検知された前記ビデオ監視装置の近傍に設置されている前記害鳥獣撃退装置を動作させることを特徴する請求項1に記載の害鳥獣撃退システム。
【請求項7】
前記害鳥獣撃退システムは、鳥獣の鳴き声を集音する集音マイクを備えるとともに、前記制御装置は音声認識アルゴリズムをさらに備え、前記制御装置は前記集音された鳥獣の鳴き声から前記侵入禁止領域に接近した鳥獣が予め想定した害鳥獣か否かを判別し、害鳥獣であると判断した場合は前記害鳥獣撃退装置を動作させることを特徴とする請求項1乃至請求項6のいずれかに記載の害鳥獣撃退システム。
【請求項8】
前記集音マイクは、複数設置されており、前記制御装置は害鳥獣の鳴き声が集音された前記集音マイクの近傍に設置されている前記害鳥獣撃退装置を動作させることを特徴する請求項7に記載の害鳥獣撃退システム。
【請求項9】
前記制御装置は、前記ビデオ監視装置から送信された前記動体の映像と前記集音された音声の双方に基づいて総合的に解析し、前記害鳥獣撃退装置を動作させることを特徴とする請求項7に記載の害鳥獣撃退システム。
【請求項10】
前記爆裂音発生器は可燃性ガス、火薬、又はHHOガスのいずれか1の燃料の燃焼により前記爆裂音を発生することを特徴とする請求項3に記載の害鳥獣撃退システム。
(【請求項11】以降は省略されています)
発明の詳細な説明
【技術分野】
【0001】
本発明は、特に航空安全、農業保護、および都市環境保全の観点から、害鳥獣を威嚇又は捕獲するためのシステムに関する。
続きを表示(約 1,500 文字)
【背景技術】
【0002】
近年、空港周辺でのバードストライクは航空安全にとって顕著な問題となっており、飛来する鳥の群れが航空機と衝突する事故が発生している。この問題は、ゴルフ場や農園、魚類養殖場においても同様で、侵入する害鳥や害獣が営業に重大な影響を与えている。
【0003】
これらの対策として例えば、特許文献1には、田畑などの保護領域に侵入した害獣の種類に応じて、光や音などのより適切な撃退動作を行う害獣撃退システムが開示されている。また、特許文献2には、鳥獣の接近を検出部で検出し、発射部からゴム弾又は忌避剤を発射することにより害鳥獣を撃退する装置が開示されている。
【0004】
さらに、特許文献3には鳥獣の飛来をカメラで撮影することで羽ばたいている状態の鳥獣を識別し、公知の鳥獣忌避装置により追い払う方法が記載されている。また、特許文献4には、追い払い対象の鳥の鳴き声を、鳴き声認識装置で識別し、周囲に威嚇音を発生するスピーカーにより鳥を追い払う方法が記載されている。さらに特許文献5では、定置式カメラにより監視領域への鳥獣の侵入を検知したときに車両を用いて監視領域に侵入した鳥獣を威嚇して追い払う方法が開示されている。
【先行技術文献】
【特許文献】
【0005】
特開2006-211917号
特開2008-211977号
特開2014-92842号
特開2009-207438号
特開2022-190304
【発明の概要】
【発明が解決しようとする課題】
【0006】
しかるにカラスやイノシシ等の害鳥獣は学習能力が高く、上記の特許文献のように、単に光や音声で追い払うだけでは、直接自身に害が及ばないことを直ぐに理解し、効果は一時的なものにならざるを得ない。他方、接近する害鳥獣類を追い払うには火薬等の燃焼による爆裂音を発生して威嚇することが最も効果的であることが知られている。しかし、爆裂音は人に対しては、驚きや恐怖を与える極めて不快な騒音であり、爆裂音の発生回数は極力減少させたいという課題がある。
【0007】
さらに、単に鳥獣類といっても、追い払う必要のない小鳥や小動物まで感知して威嚇していては、無駄な燃料等を消費するばかりか、人を害鳥獣と誤認して爆裂音を発生させるなど安全上の問題を生じかねない。また、鳥以外の航空機等の飛翔体がカメラに写りこむこともあり、害鳥類と誤認して無用な爆裂音を発生させることも防止しなければならない。
【0008】
加えて、単に追い払うだけでなく罠により害鳥獣を捕獲しようとする場合でも、鳥獣保護や捕獲効率の観点から、イノシシ等の捕獲すべき害鳥獣とそうでない小動物等とを判別すべきである。
【課題を解決するための手段】
【0009】
本発明にかかる害鳥獣撃退システムは、通信機能を有する制御装置と、動体を検知するビデオ監視装置と、侵入禁止領域に接近した害鳥獣を追い払う又は捕獲する害鳥獣撃退装置と、を備えた害鳥獣撃退システムであって、前記制御装置は画像認識アルゴリズムを備えており、前記制御装置は前記ビデオ監視装置から送信された前記動体の映像を予め学習したデータに基づいて解析することにより前記動体が害鳥獣であるか否かを判別し、前記動体が害鳥獣であると判断した場合は前記害鳥獣撃退装置を動作させることを特徴とする。
【0010】
また、前記画像認識アルゴリズムは機械学習に基づく推論モデルであるようにしたものである。
(【0011】以降は省略されています)
この特許をJ-PlatPat(特許庁公式サイト)で参照する
関連特許
個人
釣り用錘
16日前
個人
草刈り鋏
1か月前
個人
蠅捕獲器
1か月前
個人
噴霧器ノズル
14日前
個人
蜜蜂保護装置
27日前
個人
種子の製造方法
1か月前
個人
草刈機用回転刃
1か月前
個人
昆虫捕集器
1か月前
株式会社剛樹
釣り竿
12日前
井関農機株式会社
作業車両
1か月前
個人
可動リップ付きルアー
19日前
個人
餌付き針の餌取り防止具
22日前
株式会社ナベル
表示システム
22日前
個人
四足動物用装着具
1か月前
個人
ブルーカーボンシステム
19日前
井関農機株式会社
圃場作業機
19日前
有限会社信英精密
括り罠
6日前
大栄工業株式会社
捕獲器
1か月前
みのる産業株式会社
除草機
22日前
みのる産業株式会社
除草機
22日前
松山株式会社
収穫機
19日前
松山株式会社
収穫機
19日前
井関農機株式会社
苗移植機
6日前
株式会社オーツボ
海苔箱船
1か月前
井関農機株式会社
作業車両
1か月前
井関農機株式会社
作業車両
1か月前
株式会社アテックス
芝草の刈取装置
5日前
松山株式会社
草刈作業機
27日前
個人
自閉式「洗濯バサミ型」虫捕獲器
6日前
みのる産業株式会社
茎葉処理装置
1か月前
株式会社シマノ
釣糸ガイド
19日前
株式会社シマノ
釣糸ガイド
19日前
グローブライド株式会社
釣竿
1か月前
株式会社クボタ
作業車
14日前
株式会社エヌエスシー
鳥害防止装置
6日前
株式会社スズテック
播種装置
1か月前
続きを見る
他の特許を見る