TOP
|
特許
|
意匠
|
商標
特許ウォッチ
Twitter
他の特許を見る
10個以上の画像は省略されています。
公開番号
2025171211
公報種別
公開特許公報(A)
公開日
2025-11-20
出願番号
2024076306
出願日
2024-05-09
発明の名称
半導体ウェハ及び半導体ウェハの製造方法
出願人
ルネサスエレクトロニクス株式会社
代理人
個人
主分類
H10D
30/66 20250101AFI20251113BHJP()
要約
【課題】半導体ウェハの反りを制御できる半導体装置を提供する。
【解決手段】第1のトレンチが第1の方向に配置された第1の半導体チップと第2のトレンチが前記第1の方向と異なる第2の方向に配置された第2の半導体チップとが、横に交互に配置された半導体ウェハを提供する。半導体ウェハは、第1のトレンチが第1の方向に配置された第1の半導体チップと第2のトレンチが前記第1の方向と異なる第2の方向に配置された第2の半導体チップとが、縦に交互に配置されてもよい。
【選択図】図8
特許請求の範囲
【請求項1】
第1のトレンチが第1の方向に配置された第1の半導体チップと第2のトレンチが前記第1の方向と異なる第2の方向に配置された第2の半導体チップとが、横に交互に配置された半導体ウェハ。
続きを表示(約 1,100 文字)
【請求項2】
第1のトレンチが第1の方向に配置された第1の半導体チップと第2のトレンチが前記第1の方向と異なる第2の方向に配置された第2の半導体チップとが、縦に交互に配置された半導体ウェハ。
【請求項3】
第1のトレンチが第1の方向に配置された第1の半導体チップと第2のトレンチが前記第1の方向と異なる第2の方向に配置された第2の半導体チップとが、縦と横に交互に配置された半導体ウェハ。
【請求項4】
前記第1の方向は、前記第2の方向と直角に交わる、請求項1乃至3のいずれか1項に記載の半導体ウェハ。
【請求項5】
前記第1の半導体チップは、正方形であり、
前記第2の半導体チップは、正方形である、請求項1乃至3のいずれか1項に記載の半導体ウェハ。
【請求項6】
前記半導体ウェハの表面の結晶面は{100}面であり、
前記半導体ウェハのノッチまたはオリフラは<100>方向であり、
前記半導体ウェハの前記ノッチまたは前記オリフラを正面から見て、前記第1の方向は、0°であり、前記第2の方向は90°である、請求項1乃至3のいずれか1項に記載の半導体ウェハ。
【請求項7】
前記半導体ウェハの表面の結晶面は{100}面であり、
前記半導体ウェハのノッチまたはオリフラは<110>方向であり、
前記半導体ウェハの前記ノッチまたは前記オリフラを正面から見て、前記第1の方向は、45°であり、前記第2の方向は、135°である、請求項1乃至3のいずれか1項に記載の半導体ウェハ。
【請求項8】
第1のトレンチが第1の方向に配置された第1の半導体チップと第2のトレンチが前記第1の方向と異なる第2の方向に配置された第2の半導体チップとが、横に交互に配置されるように前記第1のトレンチと前記第2のトレンチを同じ工程で形成する半導体ウェハの製造方法。
【請求項9】
第1のトレンチが第1の方向に配置された第1の半導体チップと第2のトレンチが前記第1の方向と異なる第2の方向に配置された第2の半導体チップとが、縦に交互に配置されるように前記第1のトレンチと前記第2のトレンチを同じ工程で形成する半導体ウェハの製造方法。
【請求項10】
第1のトレンチが第1の方向に配置された第1の半導体チップと第2のトレンチが前記第1の方向と異なる第2の方向に配置された第2の半導体チップとが、縦と横に交互に配置されるように前記第1のトレンチと前記第2のトレンチを同じ工程で形成する半導体ウェハの製造方法。
(【請求項11】以降は省略されています)
発明の詳細な説明
【技術分野】
【0001】
本開示は半導体ウェハ及び半導体ウェハの製造方法に関する。
続きを表示(約 1,400 文字)
【背景技術】
【0002】
特許文献1には、トレンチにフィールドプレート電極とゲート電極が形成されたパワーMOSFET(Metal Oxide Semiconductor Field Effect Transistor)が記載されている。
【先行技術文献】
【特許文献】
【0003】
特開2024-1723号公報
【発明の概要】
【発明が解決しようとする課題】
【0004】
しかし、トレンチが半導体チップ上で平行に一方向に並んで配置されるため、複数の半導体チップが形成された半導体ウェハが反ってしまうという問題があった。そこで本開示の目的は、トレンチが第1の方向に延在する半導体チップとトレンチが第2の方向に延在する半導体チップを形成し、反りを制御した半導体装置を提供することである。
【0005】
その他の課題と新規な特徴は、本明細書の記述および添付図面から明らかになるであろう。
【課題を解決するための手段】
【0006】
一実施の形態によれば、半導体ウェハは、第1のトレンチが第1の方向に配置された第1の半導体チップと第2のトレンチが前記第1の方向と異なる第2の方向に配置された第2の半導体チップとが、交互に配置される。
【発明の効果】
【0007】
前記一実施の形態によれば、半導体ウェハの反りを制御できる半導体装置を提供できる。
【図面の簡単な説明】
【0008】
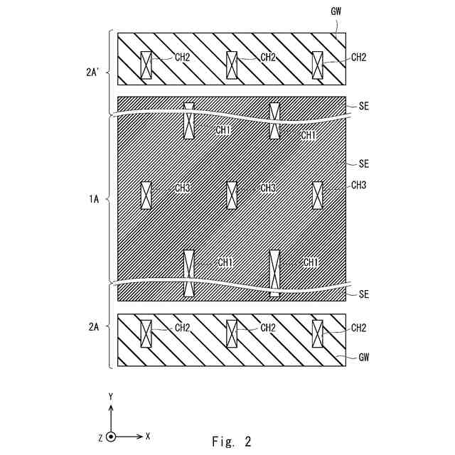
関連する半導体装置を示す平面図である。
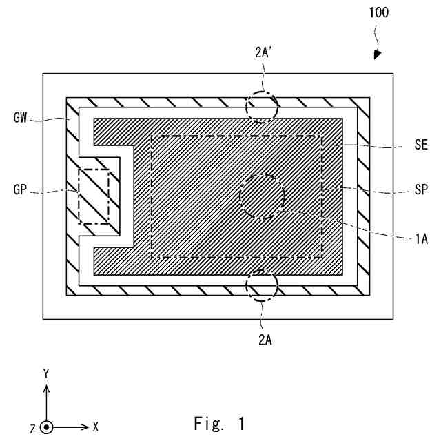
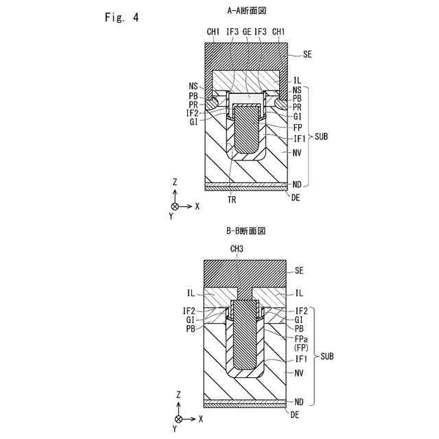
関連する半導体装置の要部を示す拡大平面図である。
関連する半導体装置の要部を示す拡大平面図である。
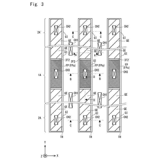
関連する半導体装置を示す断面図である。
関連する半導体装置を示す断面図である。
関連する半導体装置のトレンチのレイアウトである。
関連する半導体装置のウェハ反りを示す図である。
実施の形態1にかかる半導体ウェハのトレンチのレイアウトである。
実施の形態2にかかる半導体ウェハのトレンチのレイアウトである。
実施の形態3にかかる半導体ウェハのトレンチのレイアウトである。
【発明を実施するための形態】
【0009】
実施の形態
以下、図面を参照して本発明の実施の形態について説明する。しかしながら、特許請求の範囲にかかる発明を以下の実施の形態に限定するものではない。また、実施の形態で説明する構成の全てが課題を解決するための手段として必須であるとは限らない。説明の明確化のため、以下の記載及び図面は、適宜、省略、及び簡略化がなされている。各図面において、同一の要素には同一の符号が付されており、必要に応じて重複説明は省略されている。
【0010】
また、本願において説明されるX方向、Y方向およびZ方向は、互いに交差し、互いに直交している。本願では、Z方向をある構造体の上下方向、高さ方向または厚さ方向として説明する。また、本願で用いられる「平面図」または「平面視」などの表現は、X方向およびY方向によって構成される面を「平面」とし、この「平面」をZ方向から見ることを意味する。
(【0011】以降は省略されています)
この特許をJ-PlatPat(特許庁公式サイト)で参照する
関連特許
個人
半導体装置
1か月前
個人
積和演算用集積回路
22日前
サンケン電気株式会社
半導体装置
21日前
旭化成株式会社
発光素子
1か月前
日機装株式会社
半導体発光装置
16日前
エイブリック株式会社
縦型ホール素子
1か月前
エイブリック株式会社
縦型ホール素子
1か月前
富士通株式会社
半導体装置
1か月前
ローム株式会社
抵抗チップ
1か月前
三菱電機株式会社
半導体装置
8日前
三菱電機株式会社
半導体装置
1か月前
株式会社半導体エネルギー研究所
表示装置
1か月前
三菱電機株式会社
半導体装置
1か月前
富士電機株式会社
半導体装置
1か月前
株式会社東芝
半導体装置
8日前
ローム株式会社
半導体集積回路
1か月前
日亜化学工業株式会社
発光装置
1か月前
日亜化学工業株式会社
発光装置
1か月前
日亜化学工業株式会社
発光素子
1か月前
TDK株式会社
圧電素子
1か月前
株式会社半導体エネルギー研究所
発光デバイス
16日前
ローム株式会社
半導体装置
21日前
サンケン電気株式会社
半導体装置
8日前
ローム株式会社
半導体装置
1か月前
ローム株式会社
窒化物半導体装置
1か月前
ローム株式会社
窒化物半導体装置
1か月前
株式会社半導体エネルギー研究所
発光デバイス
29日前
富士電機株式会社
半導体装置の製造方法
1か月前
ローム株式会社
半導体装置
1か月前
株式会社カネカ
太陽電池モジュール
1か月前
日亜化学工業株式会社
発光素子
21日前
大日本印刷株式会社
太陽電池
1か月前
日本電気株式会社
超伝導量子回路装置
1か月前
サンケン電気株式会社
発光装置
1か月前
株式会社MARUWA
発光装置及び照明器具
1か月前
ローム株式会社
RAM
1か月前
続きを見る
他の特許を見る