TOP
|
特許
|
意匠
|
商標
特許ウォッチ
Twitter
他の特許を見る
10個以上の画像は省略されています。
公開番号
2025171096
公報種別
公開特許公報(A)
公開日
2025-11-20
出願番号
2024076091
出願日
2024-05-08
発明の名称
通信装置、通信方法及びプログラム
出願人
キヤノン株式会社
代理人
弁理士法人大塚国際特許事務所
主分類
H04W
28/18 20090101AFI20251113BHJP(電気通信技術)
要約
【課題】アクセスポイントとステーションとの間の通信におけるOFDMAの使用を柔軟に実行する通信装置及び方法を提供する。
【解決手段】無線通信システムにおいて、他の通信装置との間で実行する通信装置は、少なくとも一部の副搬送波が周波数軸上で不連続となるように配置された複数の副搬送波により構成される第1タイプのリソースユニット(RU)を少なくとも2つ以上用いて無線リソースの割当てを行い、当該無線リソースを用いて直交周波数分割多元接続(OFDMA)によるデータの通信を行う第1の通信方式と、周波数軸上で連続するように配置された複数の副搬送波により構成される第2タイプのRUを少なくとも2つ以上用いて無線リソースの割当てを行い、当該無線リソースを用いてOFDMAによるデータの通信を行う第2の通信方式とを使い分けてデータフレームの通信を行う。
【選択図】図14
特許請求の範囲
【請求項1】
IEEE802.11シリーズ規格に準拠した通信を他の通信装置との間で実行する通信装置であって、
少なくとも一部の副搬送波が周波数軸上で不連続となるように配置された複数の副搬送波により構成される第1タイプのリソースユニット(RU)を少なくとも2つ以上用いて無線リソースの割当てを行い、当該無線リソースを用いて直交周波数分割多元接続(OFDMA)によるデータの通信を行う第1の通信方式と、周波数軸上で連続するように配置された複数の副搬送波により構成される第2タイプのRUを少なくとも2つ以上用いて無線リソースの割当てを行い、当該無線リソースを用いてOFDMAによるデータの通信を行う第2の通信方式と、を使用して通信を実行可能な通信手段を有し、
前記通信手段は、
前記他の通信装置との間で前記第1の通信方式を使用してデータフレームの通信を行う場合、前記第1の通信方式を使用することを示す特定の値が設定された所定のフレームを前記他の通信装置へ送信することにより、前記第1の通信方式を使用することを前記他の通信装置に示し、
前記他の通信装置との間で前記第2の通信方式を使用してデータフレームの通信を行う場合、前記特定の値が設定されていない前記所定のフレームを前記他の通信装置へ送信することにより、前記第2の通信方式を使用することを前記他の通信装置に示し、
前記所定のフレームを送信した後に、当該所定のフレームにより示された通信方式を使用して前記他の通信装置との間でデータフレームの通信を行う
ことを特徴とする通信装置。
続きを表示(約 2,000 文字)
【請求項2】
前記通信手段は、
前記他の通信装置が当該他の通信装置に割り当てられたRUを特定可能な特定情報をさらに含む前記所定のフレームを送信し、
前記特定の値の設定の有無と前記特定情報とに基づいて特定される前記他の通信装置が使用すべき副搬送波を用いて前記他の通信装置との間でデータフレームの通信を行う
ことを特徴とする請求項1に記載の通信装置。
【請求項3】
IEEE802.11シリーズ規格に準拠した通信を他の通信装置との間で実行する通信装置であって、
少なくとも一部の副搬送波が周波数軸上で不連続となるように配置された複数の副搬送波により構成される第1タイプのリソースユニット(RU)を少なくとも2つ以上用いて無線リソースの割当てを行い、当該無線リソースを用いて直交周波数分割多元接続(OFDMA)によるデータの通信を行う第1の通信方式と、周波数軸上で連続するように配置された複数の副搬送波により構成される第2タイプのRUを少なくとも2つ以上用いて無線リソースの割当てを行い、当該無線リソースを用いてOFDMAによるデータの通信を行う第2の通信方式と、を使用して通信を実行可能な通信手段を有し、
前記通信手段は、
前記第1の通信方式を使用することを示す特定の値が設定された所定のフレームを前記他の通信装置から受信した場合、当該所定のフレームを受信した後に、前記第1の通信方式を使用して前記他の通信装置との間でデータフレームの通信を行い、
前記特定の値が設定されていない前記所定のフレームを前記他の通信装置から受信した場合、当該所定のフレームを受信した後に、前記第2の通信方式を使用して前記他の通信装置との間でデータフレームの通信を行う
ことを特徴とする通信装置。
【請求項4】
前記所定のフレームは、前記通信装置が当該通信装置に割り当てられたRUを特定可能な特定情報をさらに含み、
前記通信手段は、前記特定の値の設定の有無と前記特定情報とに基づいて特定される前記通信装置が使用すべき副搬送波を用いて前記他の通信装置との間でデータフレームの通信を行う
ことを特徴とする請求項3に記載の通信装置。
【請求項5】
前記所定のフレームは、Triggerフレームである
ことを特徴とする請求項1または3に記載の通信装置。
【請求項6】
前記所定の値は、前記所定のフレームにおける所定の領域において設定される
ことを特徴とする請求項1または3に記載の通信装置。
【請求項7】
前記所定の領域は、User Infoフィールドである
ことを特徴とする請求項6に記載の通信装置。
【請求項8】
前記所定の領域は、Common Infoフィールドである
ことを特徴とする請求項6に記載の通信装置。
【請求項9】
前記所定の領域は、前記Common Infoフィールドに含まれるTrigger Typeサブフィールドである
ことを特徴とする請求項8に記載の通信装置。
【請求項10】
IEEE802.11シリーズ規格に準拠した通信を他の通信装置との間で実行する通信装置により実行される通信方法であって、
少なくとも一部の副搬送波が周波数軸上で不連続となるように配置された複数の副搬送波により構成される第1タイプのリソースユニット(RU)を少なくとも2つ以上用いて無線リソースの割当てを行い、当該無線リソースを用いて直交周波数分割多元接続(OFDMA)によるデータの通信を行う第1の通信方式と、周波数軸上で連続するように配置された複数の副搬送波により構成される第2タイプのRUを少なくとも2つ以上用いて無線リソースの割当てを行い、当該無線リソースを用いてOFDMAによるデータの通信を行う第2の通信方式と、を使用して通信を実行可能な通信工程を含み、
前記通信工程は、
前記他の通信装置との間で前記第1の通信方式を使用してデータフレームの通信を行う場合、前記第1の通信方式を使用することを示す特定の値が設定された所定のフレームを前記他の通信装置へ送信することにより、前記第1の通信方式を使用することを前記他の通信装置に示し、
前記他の通信装置との間で前記第2の通信方式を使用してデータフレームの通信を行う場合、前記特定の値が設定されていない前記所定のフレームを前記他の通信装置へ送信することにより、前記第2の通信方式を使用することを前記他の通信装置に示し、
前記所定のフレームを送信した後に、当該所定のフレームにより示された通信方式を使用して前記他の通信装置との間でデータフレームの通信を行う
ことを特徴とする通信方法。
(【請求項11】以降は省略されています)
発明の詳細な説明
【技術分野】
【0001】
本発明は、IEEE802.11規格に準拠する直交周波数分割多元接続(OFDMA)を用いた無線通信を行う技術に関する。
続きを表示(約 3,100 文字)
【背景技術】
【0002】
近年、通信されるデータ量の増加に伴い、無線LAN(Local Area Network)等の通信技術の開発が進められている。無線LANの主要な通信規格として、IEEE(Institute of Electrical and Electronics Engineers)802.11規格シリーズが知られている。IEEE802.11規格シリーズには、IEEE802.11a/b/g/n/ac/ax/be規格等が含まれる。さらなる通信の信頼性の向上のために、IEEE802.11be規格の後継規格として、IEEE802.11bn規格の開発が進んでいる。IEEE802.11bn規格を策定するIEEE802.11WG(Working Group)では、UHR SGにおいて、この規格の目標や検討範囲等が定められ、TGbnにおいて、この規格に含まれるべき詳細な技術の内容が規定される予定である。なお、UHR SGは、Ultra High Reliability Study Groupの略語である。また、TGbnは、Task Group bnの略語である。
【0003】
IEEE802.11シリーズ規格では、スループットや周波数利用効率の向上のために直交周波数分割多元接続(OFDMA)方式が用いられている。OFDMAは、Orthogonal Frequency Division Multiple Accessの略語である。OFDMAでは、例えば、通信装置間で使用する周波数チャネルが周波数軸上で分割され、複数のユニットが形成される。それぞれのユニットは、Resouce Unit(RU)と呼ばれる。アクセスポイント(AP)が、それぞれのRUを各ステーション(STA)に割り当てることにより、APと複数のSTAとの間で並行して通信が行われるようになる。これにより、通信システム全体としての周波数利用効率が向上する。
【0004】
一方、近年、多くの国において無線LANが6GHz帯の周波数を使用できるように法規制の整備が進んでいる。6GHz帯の周波数を使用できることにより、無線LANのスループットが、さらに向上できるようになる。しかし、6GHz帯を使用する場合に求められる送信電力密度の法規制上の許容値は、従来から無線LANにおいて使用されている周波数帯である2.4GHz帯や5GHz帯のそれと比較して小さい。そのため、IEEE802.11bn規格の策定において、6GHz帯を使用する場合の送信電力密度が法規制上の許容値を満たしながら、送信電力を高めるための技術が検討されている。例えば、非特許文献1では、少なくとも一部の副搬送波が周波数軸上で不連続となるように配置された複数の副搬送波により構成されるRUを用いて無線リソースの割当てを行うOFDMA方式が検討されている。このようなRUは、Distributed Resource Unit(DRU)と呼ばれうる。
【先行技術文献】
【非特許文献】
【0005】
Lin Yang等、「High Level Thoughts on DUR Design(IEEE 802.11-23/1988r1)」、IEEE802.11、2024年
【発明の概要】
【発明が解決しようとする課題】
【0006】
本発明の1つの側面としては、アクセスポイントとステーションとの間の通信におけるOFDMAの使用が柔軟に実行可能となる技術を提供する。
【課題を解決するための手段】
【0007】
IEEE802.11シリーズ規格に準拠した通信を他の通信装置との間で実行する通信装置は、 少なくとも一部の副搬送波が周波数軸上で不連続となるように配置された複数の副搬送波により構成される第1タイプのリソースユニット(RU)を少なくとも2つ以上用いて無線リソースの割当てを行い、当該無線リソースを用いて直交周波数分割多元接続(OFDMA)によるデータの通信を行う第1の通信方式と、周波数軸上で連続するように配置された複数の副搬送波により構成される第2タイプのRUを少なくとも2つ以上用いて無線リソースの割当てを行い、当該無線リソースを用いてOFDMAによるデータの通信を行う第2の通信方式と、を使用して通信を実行可能な通信手段を有し、前記通信手段は、前記他の通信装置との間で前記第1の通信方式を使用してデータフレームの通信を行う場合、前記第1の通信方式を使用することを示す特定の値が設定された所定のフレームを前記他の通信装置へ送信することにより、前記第1の通信方式を使用することを前記他の通信装置に示し、前記他の通信装置との間で前記第2の通信方式を使用してデータフレームの通信を行う場合、前記特定の値が設定されていない前記所定のフレームを前記他の通信装置へ送信することにより、前記第2の通信方式を使用することを前記他の通信装置に示し、前記所定のフレームを送信した後に、当該所定のフレームにより示された通信方式を使用して前記他の通信装置との間でデータフレームの通信を行う。
【発明の効果】
【0008】
本発明の1つの側面によれば、アクセスポイントとステーションとの間の通信におけるOFDMAの使用を柔軟に実行できるようになる。
【図面の簡単な説明】
【0009】
無線通信システムの構成例を示す図である。
OFDMAにおけるRUの周波数軸上の配置パターン例を示す図である。
OFDMAにおけるRUインデクスと副搬送波インデクスの対応の一例を示す図である。
DRUを用いるOFDMAの概念を示す図である。
CRUにおける副搬送波インデクスとDRU副搬送波インデクスの対応の一例を示す図である。
DRUを用いるOFDMAにおけるRUインデクスと副搬送波インデクスの対応の一例を示す図である。
80MHzの帯域幅のPPDUに対応するDRUの配置パターンを周波数軸上で繰り返すことにより160MHzの帯域幅のPPDUにおけるDRUの配置を行う方法の一例を示す図である。
通信装置間で行われるフレーム交換の一例を示す図である。
Triggerフレームの構成例を示す図である。
User Infoサブフィールドの構成例を示す図である。
User Infoサブフィールドの構成例を示す図である。
通信装置のハードウェア構成例を示す図である。
通信装置の機能構成例を示す図である。
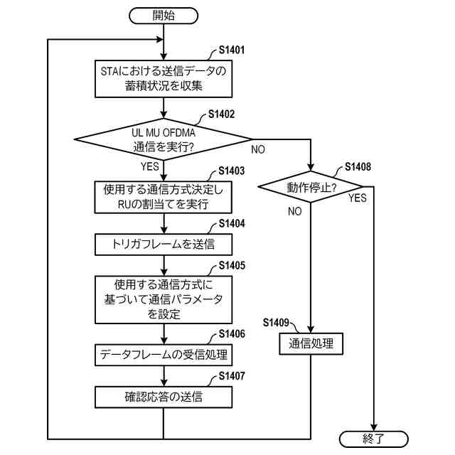
APが実行する処理フローの例を示す図である。
STAが実行する処理フローの例を示す図である。
【発明を実施するための形態】
【0010】
以下、添付図面を参照して実施形態を詳しく説明する。なお、以下の実施形態は特許請求の範囲に係る発明を限定するものではない。実施形態には複数の特徴が記載されているが、これらの複数の特徴の全てが発明に必須のものとは限らず、また、複数の特徴は任意に組み合わせられてもよい。さらに、添付図面においては、同一若しくは同様の構成に同一の参照番号を付し、重複した説明は省略する。
(【0011】以降は省略されています)
この特許をJ-PlatPat(特許庁公式サイト)で参照する
関連特許
キヤノン株式会社
容器
21日前
キヤノン株式会社
容器
27日前
キヤノン株式会社
トナー
1か月前
キヤノン株式会社
トナー
13日前
キヤノン株式会社
測距装置
15日前
キヤノン株式会社
記録装置
13日前
キヤノン株式会社
撮像装置
27日前
キヤノン株式会社
定着装置
6日前
キヤノン株式会社
撮像装置
27日前
キヤノン株式会社
撮像装置
27日前
キヤノン株式会社
撮像装置
14日前
キヤノン株式会社
電子機器
13日前
キヤノン株式会社
表示装置
21日前
キヤノン株式会社
記録装置
6日前
キヤノン株式会社
撮像装置
今日
キヤノン株式会社
撮像装置
今日
キヤノン株式会社
定着装置
6日前
キヤノン株式会社
電子機器
8日前
キヤノン株式会社
撮像装置
8日前
キヤノン株式会社
定着装置
今日
キヤノン株式会社
現像装置
1か月前
キヤノン株式会社
電子機器
13日前
キヤノン株式会社
雲台装置
13日前
キヤノン株式会社
定着装置
今日
キヤノン株式会社
記録装置
13日前
キヤノン株式会社
記録装置
27日前
キヤノン株式会社
撮像装置
21日前
キヤノン株式会社
撮像装置
13日前
キヤノン株式会社
定着装置
6日前
キヤノン株式会社
液体収容体
16日前
キヤノン株式会社
液体収容体
15日前
キヤノン株式会社
露光ヘッド
6日前
キヤノン株式会社
画像形成装置
16日前
キヤノン株式会社
画像形成装置
6日前
キヤノン株式会社
画像形成装置
6日前
キヤノン株式会社
画像形成装置
21日前
続きを見る
他の特許を見る