TOP
|
特許
|
意匠
|
商標
特許ウォッチ
Twitter
他の特許を見る
10個以上の画像は省略されています。
公開番号
2025170741
公報種別
公開特許公報(A)
公開日
2025-11-19
出願番号
2024225155
出願日
2024-12-20
発明の名称
先端工具ユニットおよびアダプタ
出願人
株式会社イチネンアクセス
,
優鋭有限公司
代理人
弁理士法人ブライタス
主分類
B25F
3/00 20060101AFI20251112BHJP(手工具;可搬型動力工具;手工具用の柄;作業場設備;マニプレータ)
要約
【課題】先端工具を回転工具に簡便に着脱可能な、先端工具ユニットおよびアダプタを提供する。
【解決手段】角柱状の第1接続部102を有する回転工具100に装着される先端工具ユニットであって、角柱状の第2接続部を有する先端工具10と、回転工具100と先端工具10とを接続するアダプタ20と、を備え、アダプタ20は、一端に第1接続部102が挿入され、他端に第2接続部12が挿入される貫通孔31を有し、貫通孔31は、第1接続部102および第2接続部12を収容する角孔部31bを有する、先端工具ユニット1。
【選択図】 図4
特許請求の範囲
【請求項1】
角柱状の第1接続部を有する回転工具に装着される先端工具ユニットであって、
角柱状の第2接続部を有する先端工具と、
前記回転工具と前記先端工具とを接続するアダプタと、
を備え、
前記アダプタは、一端に前記第1接続部が挿入され、他端に前記第2接続部が挿入される貫通孔を有し、
前記貫通孔は、前記第1接続部および前記第2接続部を収容する角孔部を有する、先端工具ユニット。
続きを表示(約 410 文字)
【請求項2】
前記先端工具は、前記第2接続部より中央側に円柱部を有し、
前記貫通孔は、一端に前記角孔部を、他端に前記円柱部を収容する円孔部を有する、請求項1に記載の先端工具ユニット。
【請求項3】
前記先端工具が切削工具である、請求項1または2に記載の先端工具ユニット。
【請求項4】
角柱状の第1接続部を有する回転工具と角柱状の第2接続部を有する先端工具と、を接続するアダプタであって、
一端に前記第1接続部が挿入され、他端に前記第2接続部が挿入される貫通孔を有し、
前記貫通孔は、前記第1接続部および前記第2接続部を収容する角孔部を有する、アダプタ。
【請求項5】
前記先端工具は、前記第2接続部より中央側に円柱部を有し、
前記貫通孔は、一端に前記角孔部を、他端に前記円柱部を収容する円孔部を有する、請求項4に記載のアダプタ。
発明の詳細な説明
【技術分野】
【0001】
本発明は、先端工具ユニットおよびアダプタに関する。
続きを表示(約 1,500 文字)
【背景技術】
【0002】
鋼板などに孔を空けたり、その孔の径を調整したりする先端工具としてドリルがある。例えば、ステップドリルは、種々の径の孔を空ける工具であり、リーマは、ドリルで空けた孔の径を調整する工具である。この種の切削工具には手動用と電動用とがある。インパクトレンチへリーマやドリルの装着が可能となる構成としては、例えば、特許文献1に記載の構成がある。
【0003】
特許文献1に記載の接続構造(以下、「アダプタ」という。)は、回転工具の差込角が挿入される収容部と、収容部の開口と反対側の面に設けられ、切削部材を固定する固定部とを備えている。固定部は雄ねじとなっていて、切削部材の雌ねじに螺着するようになっている。
【先行技術文献】
【特許文献】
【0004】
特開2015-223659号公報
【発明の概要】
【発明が解決しようとする課題】
【0005】
回転工具を用いて鉄板などに孔を空ける場合、まず回転工具にステップドリルを取付けて孔を空け、その後孔の径の調整のためにステップドリルからリーマに取り換える必要がある。また、孔の径の調整に伴い、リーマをさらに径の異なるものへ付け替えることもある。このように、回転工具を用いた作業では、作業の中で回転工具に接続されるステップドリル、リーマ、ソケットなど種々の先端工具(以下、「先端工具」という。)を付け替える必要がある。アダプタに対する先端工具の付け替えは、作業時間短縮の観点から簡便に行えることが望ましい。しかし、ねじによる螺着を前提とする場合には回転工具の作動によって増し締めされて先端工具の取り外しが困難になるという問題がある。
【0006】
そこで、本発明の目的の一つは、先端工具を回転工具に簡便に着脱可能な、先端工具ユニットおよびアダプタを提供することにある。
【課題を解決するための手段】
【0007】
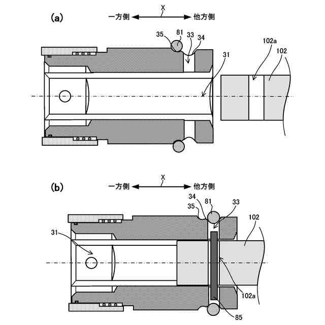
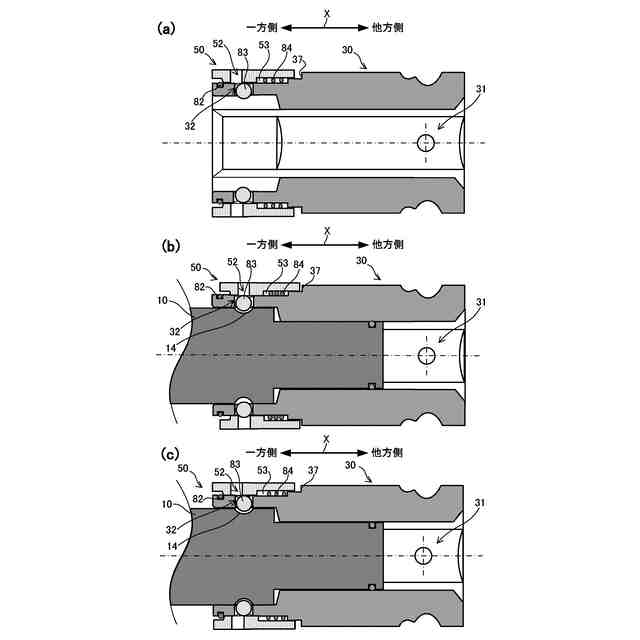
本発明者らは、螺着以外の方法で先端工具を回転工具に取り付ける方法に関して、先端工具の接続部として、回転工具の差込角と同様の形状の接続部を採用することを前提として、種々の工具で採用されているチャック構造を検討した。しかし、先端工具の接続部および回転工具の差込角に対応する角孔をそれぞれ加工すると、軸方向のブレをおさえることが困難であった。そこで、本発明者らは、先端工具の接続部および回転工具の差込角の双方を一つの角孔に収容することを見出して本発明を完成させた。
【0008】
本発明は、上記課題を解決するためになされたものであり、下記の先端工具ユニットおよびアダプタを要旨とする。
【0009】
(1)角柱状の第1接続部を有する回転工具に装着される先端工具ユニットであって、
角柱状の第2接続部を有する先端工具と、
前記回転工具と前記先端工具とを接続するアダプタと、
を備え、
前記アダプタは、一端に前記第1接続部が挿入され、他端に前記第2接続部が挿入される貫通孔を有し、
前記貫通孔は、前記第1接続部および前記第2接続部を収容する角孔部を有する、先端工具ユニット。
【0010】
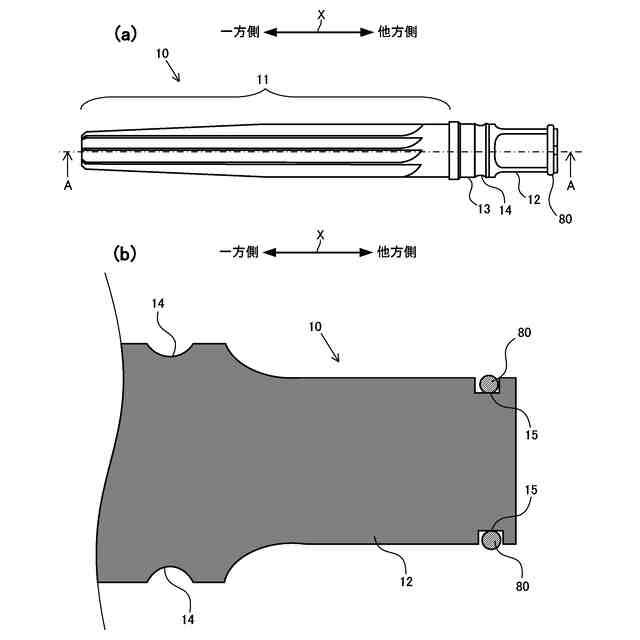
(2)前記先端工具は、前記第2接続部より中央側に円柱部を有し、
前記貫通孔は、一端に前記角孔部を、他端に前記円柱部を収容する円孔部を有する、(1)に記載の先端工具ユニット。
(【0011】以降は省略されています)
この特許をJ-PlatPat(特許庁公式サイト)で参照する
関連特許
個人
フラワーホッチキス。
1か月前
個人
手持ち挟持具
16日前
川崎重工業株式会社
ロボット
1か月前
トヨタ自動車株式会社
学習装置
1日前
株式会社竹中工務店
補助セット
1か月前
株式会社不二越
ロボット
1か月前
川崎重工業株式会社
ハンド
1か月前
株式会社マキタ
ハンマドリル
25日前
株式会社マキタ
ハンマドリル
25日前
トヨタ自動車株式会社
ロボット
1か月前
工機ホールディングス株式会社
作業機
1か月前
株式会社不二越
移動ロボットシステム
1か月前
本田技研工業株式会社
装置
1か月前
川崎重工業株式会社
塗装システム
1か月前
株式会社不二越
エッジ仕上げ装置
2か月前
株式会社安川電機
ロボット
22日前
株式会社不二越
垂直多関節ロボット
1日前
トヨタ自動車株式会社
軌道生成装置
1か月前
株式会社三共コーポレーション
工具保持具
16日前
株式会社不二越
垂直多関節ロボット
2か月前
アネックスツール株式会社
ドライバービット
1か月前
シンフォニアテクノロジー株式会社
搬送装置
1か月前
ライオン株式会社
移載システム
2か月前
トヨタ自動車株式会社
ロボットハンド
22日前
工機ホールディングス株式会社
作業機
1か月前
川崎重工業株式会社
ワーク搬送ロボット
1か月前
ワールド技研株式会社
ロボットセル装置
1か月前
株式会社マキタ
回転打撃工具
1か月前
株式会社不二越
ロボットに用いる伝送路
1か月前
株式会社マキタ
現場用作業機
1か月前
トヨタ自動車株式会社
ロボットの制御装置
1か月前
山九株式会社
レンチ保持治具
1か月前
セイコーエプソン株式会社
ロボット
1か月前
倉敷紡績株式会社
ハンドおよびコネクタ接続方法
2か月前
NTN株式会社
ハンド
1か月前
株式会社マキタ
作業機
28日前
続きを見る
他の特許を見る