TOP
|
特許
|
意匠
|
商標
特許ウォッチ
Twitter
他の特許を見る
公開番号
2025170503
公報種別
公開特許公報(A)
公開日
2025-11-19
出願番号
2024075121
出願日
2024-05-07
発明の名称
射出成形装置、その制御方法、及びプログラム
出願人
株式会社日本製鋼所
代理人
個人
主分類
B29C
45/76 20060101AFI20251112BHJP(プラスチックの加工;可塑状態の物質の加工一般)
要約
【課題】成形品の製造開始時における電力及び原料の浪費を抑制する。
【解決手段】一実施形態に係る射出成形装置では、当該射出成形装置が起動された後、成形品の製造を開始する前に、コントローラは、成形品を製造している際の射出機用モータ及び型締機用モータの負荷率に基づいて、射出機用モータ及び型締機用モータに無効電流を流す。
【選択図】図1
特許請求の範囲
【請求項1】
原料が投入されるシリンダと、当該シリンダに収容されて前記原料を混練するスクリュとを備え、前記原料を溶融させて射出する射出機と、
溶融した前記原料が注入されて成形品を成形する金型を開閉させる型締機と、
前記射出機を駆動する射出機用モータと、
前記型締機を駆動する型締機用モータと、
前記射出機用モータ及び前記型締機用モータを制御するコントローラと、を備えた射出成形装置であって、
当該射出成形装置が起動された後、成形品の製造を開始する前に、
前記コントローラは、前記成形品を製造している際の前記射出機用モータ及び前記型締機用モータの負荷率に基づいて、前記射出機用モータ及び前記型締機用モータに無効電流を流す、
射出成形装置。
続きを表示(約 1,300 文字)
【請求項2】
前記シリンダを加熱するヒータをさらに備え、
前記コントローラは、前記ヒータによって前記シリンダを昇温している間に、前記射出機用モータ及び前記型締機用モータに無効電流を流す、
請求項1に記載の射出成形装置。
【請求項3】
前記成形品を製造している際の前記射出機用モータ及び前記型締機用モータの前記負荷率を予め記憶した記憶部をさらに備える、
請求項1又は2に記載の射出成形装置。
【請求項4】
前記射出機用モータは、溶融した前記原料を射出させるために前記スクリュを軸方向に移動させる射出用モータを含み、
前記型締機用モータは、前記金型を開閉させる型開閉用モータを含む、
請求項1又は2に記載の射出成形装置。
【請求項5】
前記射出機用モータは、前記スクリュを回転させる可塑化用モータをさらに含み、
前記型締機用モータは、前記金型から前記成形品を取り出すためのピンを突き出す突き出し用モータをさらに含む、
請求項4に記載の射出成形装置。
【請求項6】
原料が投入されるシリンダと、当該シリンダに収容されて前記原料を混練するスクリュとを備え、前記原料を溶融させて射出する射出機と、
溶融した前記原料が注入されて成形品を成形する金型を開閉させる型締機と、
前記射出機を駆動する射出機用モータと、
前記型締機を駆動する型締機用モータと、を備えた射出成形装置の制御方法であって、
当該射出成形装置が起動された後、成形品の製造を開始する前に、
コンピュータが、前記成形品を製造している際の前記射出機用モータ及び前記型締機用モータの負荷率に基づいて、前記射出機用モータ及び前記型締機用モータに無効電流を流す、
射出成形装置の制御方法。
【請求項7】
前記コンピュータが、ヒータによって前記シリンダを昇温している間に、前記射出機用モータ及び前記型締機用モータに無効電流を流す、
請求項6に記載の射出成形装置の制御方法。
【請求項8】
前記射出成形装置は、前記成形品を製造している際の前記射出機用モータ及び前記型締機用モータの前記負荷率を予め記憶した記憶部をさらに備える、
請求項6又は7に記載の射出成形装置の制御方法。
【請求項9】
前記射出機用モータは、溶融した前記原料を射出させるために前記スクリュを軸方向に移動させる射出用モータを含み、
前記型締機用モータは、前記金型を開閉させる型開閉用モータを含む、
請求項6又は7に記載の射出成形装置の制御方法。
【請求項10】
前記射出機用モータは、前記スクリュを回転させる可塑化用モータをさらに含み、
前記型締機用モータは、前記金型から前記成形品を取り出すためのピンを突き出す突き出し用モータをさらに含む、
請求項9に記載の射出成形装置の制御方法。
(【請求項11】以降は省略されています)
発明の詳細な説明
【技術分野】
【0001】
本発明は、射出成形装置、その制御方法、及びプログラムに関する。
続きを表示(約 1,400 文字)
【背景技術】
【0002】
発明者は、特許文献1に開示されているような射出成形装置を開発している。射出成形装置は、原料を溶融させて射出する射出機と、溶融した原料が注入されて成形品を成形する金型を開閉させる型締機とを備える。射出機及び型締機は、それぞれモータによって駆動される。
【先行技術文献】
【特許文献】
【0003】
特開2022-176550号公報
【発明の概要】
【発明が解決しようとする課題】
【0004】
射出成形装置を起動し、成形品の製造を開始する際、射出機及び型締機を駆動する各モータの温度が安定するまで各モータの出力トルクも安定しない。そのため、成形品の製造開始後、各モータの温度が安定するまでの間、仕様を満たさない成形品が製造され、電力及び原料を浪費してしまう問題があった。
その他の課題と新規な特徴は、本明細書の記述及び添付図面から明らかになるだろう。
【課題を解決するための手段】
【0005】
一実施形態に係る射出成形装置では、当該射出成形装置が起動された後、成形品の製造を開始する前に、コントローラは、成形品を製造している際の射出機用モータ及び型締機用モータの負荷率に基づいて、射出機用モータ及び型締機用モータに無効電流を流す。
【0006】
一実施形態に係る射出成形装置の制御方法では、当該射出成形装置が起動された後、成形品の製造を開始する前に、コンピュータが、成形品を製造している際の射出機用モータ及び型締機用モータの負荷率に基づいて、射出機用モータ及び型締機用モータに無効電流を流す。
【0007】
一実施形態に係るプログラムでは、射出成形装置が起動された後、成形品の製造を開始する前に、コンピュータが、成形品を製造している際の射出機用モータ及び型締機用モータの負荷率に基づいて、射出機用モータ及び型締機用モータに無効電流を流す処理をコンピュータに実行させる。
【発明の効果】
【0008】
一実施形態によれば、成形品の製造開始時における電力及び原料の浪費を抑制可能な射出成形装置及びその制御方法を提供できる。
【図面の簡単な説明】
【0009】
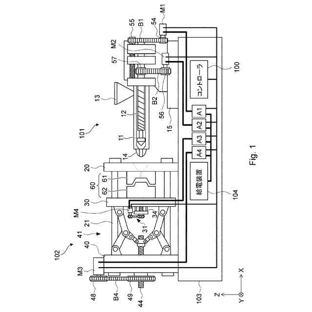
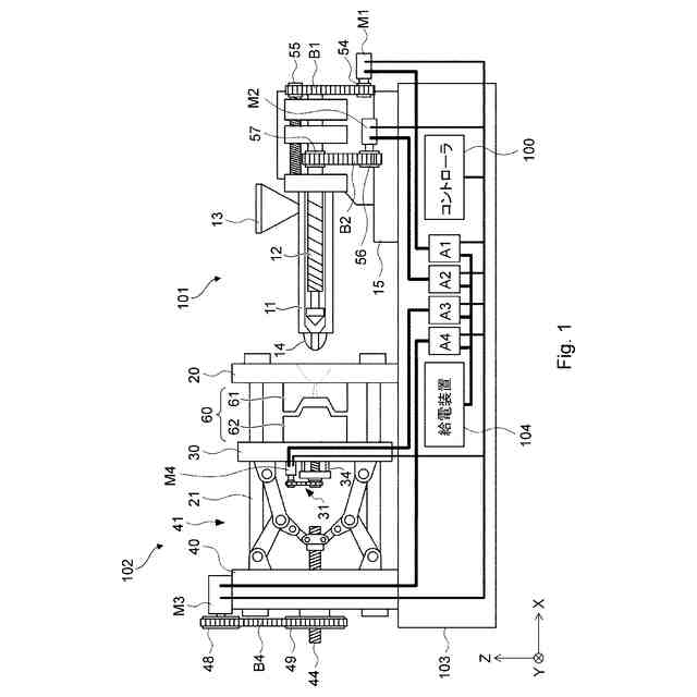
第1の実施形態に係る射出成形装置の全体構成を模式的に示す側面図である。
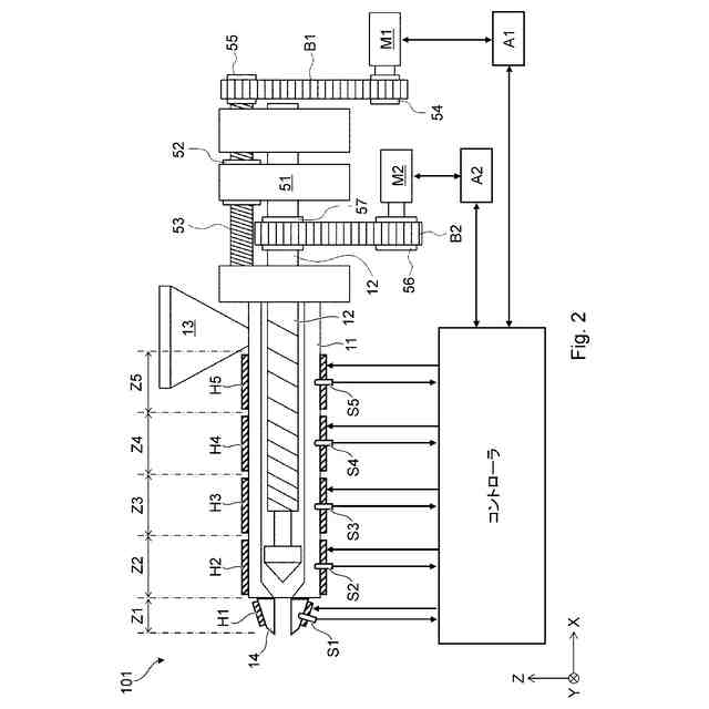
第1の実施形態に係る射出機の要部の拡大図である。
第1の実施形態に係る型締機のトグル機構の構成を模式的に示す図である。
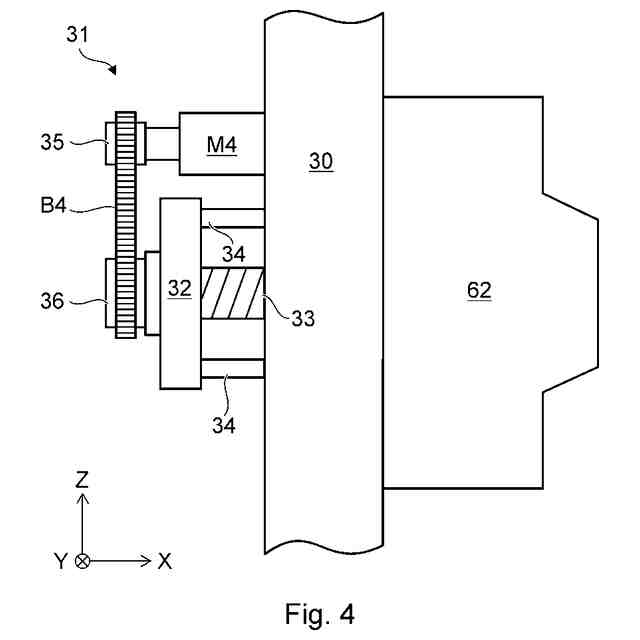
第1の実施形態に係る突き出し機構の構成を模式的に示す図である。
第1の実施形態に係る射出成形装置の制御ブロック図である。
第1の実施形態に係る射出成形装置の制御方法を示すフローチャートである。
比較例及び実施例に係る射出成形装置の制御方法におけるモータ温度及びモータ負荷率の時間変化を示すグラフである。
【発明を実施するための形態】
【0010】
以下、具体的な実施形態について、図面を参照しながら詳細に説明する。但し、以下の実施形態に限定される訳ではない。また、説明を明確にするため、以下の記載及び図面は、適宜簡略化されている。
(【0011】以降は省略されています)
この特許をJ-PlatPat(特許庁公式サイト)で参照する
関連特許
株式会社日本製鋼所
射出成形装置、その制御方法、及びプログラム
4日前
株式会社日本製鋼所
回転子を回転させる装置及び回転子を回転させる方法
16日前
株式会社日本製鋼所
射出成形機、射出装置、型締装置、およびデータ処理方法
18日前
株式会社日本製鋼所
押出機、押出機用のスクリュおよび押出機用のスクリュの分解方法
24日前
株式会社日本製鋼所
竪型型締装置、竪型射出成形機および竪型型締装置のメンテナンス方法
24日前
株式会社日本製鋼所
異常検知システム、成形機システム、異常検知装置、異常検知方法及びコンピュータプログラム
26日前
個人
気泡緩衝材減容装置
2か月前
東レ株式会社
吹出しノズル
12か月前
豊田鉄工株式会社
金型
3か月前
CKD株式会社
型用台車
11か月前
シーメット株式会社
光造形装置
11か月前
東レ株式会社
フィルムの製造方法
8か月前
グンゼ株式会社
ピン
11か月前
東レ株式会社
フィルムの製造方法
4か月前
株式会社 型善
射出成形型
4日前
東レ株式会社
フィルムの製造方法
4か月前
東レ株式会社
複合成形体の製造方法
1か月前
株式会社カワタ
計量混合装置
6か月前
株式会社エフピコ
賦形シート
18日前
個人
樹脂可塑化方法及び装置
10か月前
東レ株式会社
フィルムの製造方法。
4か月前
株式会社FTS
ロッド
10か月前
日機装株式会社
加圧システム
7か月前
株式会社漆原
シートの成形方法
6か月前
東レ株式会社
樹脂フィルムの製造方法
6か月前
株式会社FTS
成形装置
11か月前
NOK株式会社
樹脂ゴム複合体
2か月前
トヨタ自動車株式会社
射出装置
8か月前
東レ株式会社
炭素繊維シートの製造方法
7か月前
株式会社コスメック
射出成形装置
5か月前
株式会社不二越
射出成形機
2か月前
株式会社不二越
射出成形機
7か月前
株式会社神戸製鋼所
混練機
9か月前
株式会社不二越
射出成形機
7か月前
株式会社不二越
射出成形機
5か月前
株式会社不二越
射出成形機
7か月前
続きを見る
他の特許を見る