TOP
|
特許
|
意匠
|
商標
特許ウォッチ
Twitter
他の特許を見る
10個以上の画像は省略されています。
公開番号
2025170364
公報種別
公開特許公報(A)
公開日
2025-11-18
出願番号
2025139578,2021194611
出願日
2025-08-25,2021-11-30
発明の名称
制御盾、制御棒及びそれらの組み合わせ
出願人
田村装備開発株式会社
代理人
個人
主分類
F41H
5/08 20060101AFI20251111BHJP(武器)
要約
【課題】多機能を有し制圧力に優れた制御盾、及び、制御棒を提供する。一体化した状態で携行し、瞬時に分離して迎撃態勢をとることができる制御盾と制御棒の組み合わせを提供する。
【解決手段】制御盾は、盾本体の第1側部の辺縁を背面側に屈曲してなるリブ構造を有する打撃防御部、盾本体の第2側部の辺縁を連続山形に成形してなる連続突起部を有する刺突防御部、及び盾本体の上部を山形に成形してなる先端部を有する突撃部を備える。制御棒は、刀剣状の抜き身部を有し、抜身部の前側端部に、先端方向に向かって順次、湾曲状凹部を成形してなる下肢拘束部、及び上肢拘束部兼打撃部と、先細る切先を成形してなる突撃部兼上部グリップ部とを備える。制御盾には担持部の本体前面に第1の係合部材を設け、制御棒には抜身部の側面に第2の係合部材を設け、制御盾と制御棒とを着脱可能に係合することができる。
【選択図】図18A
特許請求の範囲
【請求項1】
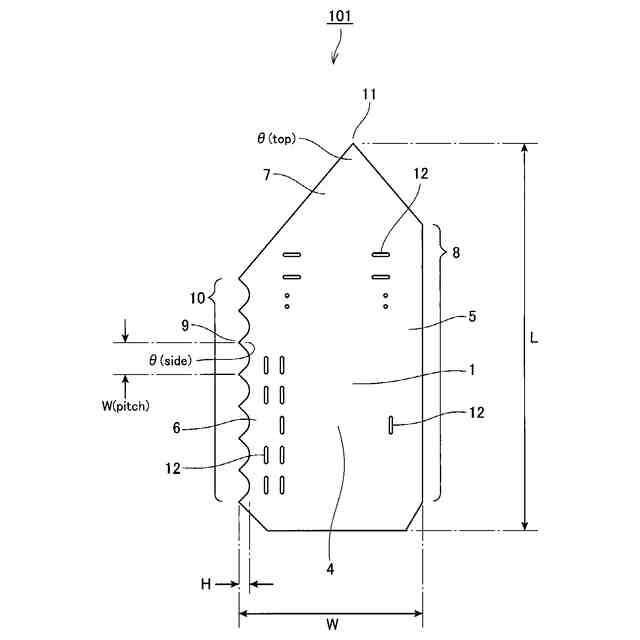
板状材料からなる盾本体、及び、当該盾本体の背面に設けられたグリップ部を有する制御盾であって、
前記盾本体は、正面視が縦長の形状を有し、
当該盾本体の両側部から任意に選ばれる第1側部の少なくとも一部に、当該第1側部の辺縁が盾本体の上下方向に走る屈曲軸に沿って盾本体の背面側に屈曲してなるリブ構造を有する打撃防御部を備え、
当該盾本体の両側部のうち前記第1側部に相対する第2側部の少なくとも一部に、盾本体の横方向に突出する山形の形状に成形してなる突起を、当該第2側部の辺縁に沿って複数配列させた連続突起部を有する刺突防御部を備え、
当該盾本体の上部に、盾本体の上方に突出する山形の形状に成形してなる先端部を少なくとも1つ有する突撃部を備える、制御盾。
続きを表示(約 1,100 文字)
【請求項2】
前記突撃部の先端部頂点を1つのみ有する場合には当該先端部頂点、又は、前記突撃部の先端部頂点を複数有する場合には最も前記刺突防御部に近い先端部頂点が、盾本体の幅方向の中間点から第1側部の方向に向かって盾本体の4分の1幅の地点までの間に配置されている、請求項1に記載の制御盾。
【請求項3】
前記盾本体の背面のグリップ部よりも上側の位置に、任意の装備を着脱可能に取り付け可能な第1の各種装備付加部、及び、前記グリップ部の上面に、任意の装備を着脱可能に取り付け可能な第2の各種装備付加部を備えている、請求項1又は2に記載の制御盾。
【請求項4】
細長い板状材料からなり、長手方向の一端側に茎部、他端側に抜身部を有する制御棒本体、及び、当該制御棒本体の茎部に設けられたグリップ部を有する刀剣状の制御棒であって、
前記抜身部は、長さが490~540mm、幅が95~105mmであり、
前記抜身部の前側端部に、茎部側から先端方向に向かって順次、長さが260~290mm、抜身部の峰側方向に向かう最大深さが55~65mmの湾曲状凹部を成形してなる下肢拘束部、長さが110~125mm、抜身部の峰側方向に向かう最大深さが9~15mmの湾曲状凹部を成形してなる上肢拘束部兼打撃部、及び、先細る切先を成形してなる長さ84~94mmの突撃部兼上部グリップ部を備える、制御棒。
【請求項5】
前記茎部と前記下肢拘束部を区切る凸部、前記下肢拘束部と前記上肢拘束部兼打撃部を区切る凸部、及び、前記上肢拘束部兼打撃部と前記突撃部兼上部グリップ部を区切る凸部は、抜身部の略最大幅となる高さを有している、請求項4に記載の制御棒。
【請求項6】
突撃部兼上部グリップ部の前側に峰側に浅く凹む湾曲状凹部を有し、上肢拘束部兼打撃部から突撃部兼上部グリップ部に亘る部分と相対する峰側の部分に、長さLeが150~170mm、抜身部の前側方向に向かう最大深さDeが20~25mmの湾曲状凹部を有し、かつ、抜身部の先端に長さ30~35mmの直線状の峰部を有する、請求項4又は5に記載の制御棒。
【請求項7】
前記請求項1に記載の制御盾の盾本体の前面に、第1の係合部材を設けてなる担持部を備える担持部付き制御盾、及び、前記請求項4に記載の制御棒の抜身部の少なくとも一方の側面に、前記第1の係合部材と着脱可能に係合する第2の係合部材を設けてなる着脱部を備える着脱部付き制御棒からなる、制御盾と制御棒の組み合わせ。
【請求項8】
前記第1の係合部材は第1の面ファスナーであり、前記第2の係合部材は前記第1の面ファスナーと着脱可能に係合する第2の面ファスナーである、請求項7に記載の制御盾と制御棒の組み合わせ。
発明の詳細な説明
【技術分野】
【0001】
本発明は防犯用具に関し、詳しくは、暴漢、侵入者などの攻撃者からの攻撃に対する護身並びにそのような攻撃者の制御及び撃退に使用される制御盾、制御棒及びそれらの組み合わせに関する。
続きを表示(約 4,800 文字)
【背景技術】
【0002】
警察や警備会社などにおいて暴漢や侵入者などの暴力的な攻撃者に対抗するため、盾、警棒、刺股などの防犯用具が使用されている。また最近では、教育機関、金融機関、一般店舗でも、暴力的な攻撃者に対抗する防犯用具の需要が増えている。
盾は基本的に迎撃者が攻撃者の攻撃を防御するためのものであり、警棒は基本的に迎撃者が攻撃者に対し威嚇、反撃して攻撃者を制御、撃退するためのものであり、刺股は基本的に迎撃者が攻撃者の動きを止めて攻撃者を制御、拘束するためのものである。例えば、盾に関して特許文献1~2、警棒に関して特許文献3~4、及び、刺股に関して特許文献5~6がある。
防犯用具は、防御力、威嚇力、攻撃力、制御力、拘束力等の観点が異なる能力のいずれか一つに頼るだけでは、攻撃者に対して十分な制圧力を達成することが難しい。個々の防犯用具の弱点を補う方策として、迎撃者は攻撃者に対し、例えば、盾と警棒を同時に使用し、盾の防御力と警棒の威嚇力、攻撃力を連携させて制圧力を高めることができる。この例のように、防犯用具には、上記したような観点が異なる能力を総合的に発揮させることによって、攻撃者に対して高い制圧力を達成することが求められる。
また、攻撃者は迎撃者に対し、攻撃の種類やタイミング等を変えて様々な攻撃パターンで仕掛けてくるため、迎撃者としては攻撃者の動きに合わせて臨機応変に防御と反撃を切り替え、機を見て速やかに相手を拘束する必要がある。そのため防犯用具は、迎撃者が攻撃者の動きに合わせて、速やかに最適な防御、反撃又は拘束の動作に切り替え可能であることが求められる。
さらに防犯用具には、平常時の保管容易性や、緊急時の即応性などの利便性も求められる。
【先行技術文献】
【特許文献】
【0003】
実用新案登録3225159号
特開2008-256262号
特開2017-120166号
特開2009-270808号
実用新案登録3199166号
特開2006-308171号
【発明の概要】
【発明が解決しようとする課題】
【0004】
本発明の第1の目的は、様々な攻撃パターンに適切に対処できるように、異なる複数の防御機能を有し、さらに威嚇・反撃機能も有し、総合的な制圧力に優れた多機能性の制御盾を提供することである。
本発明の第2の目的は、様々な攻撃パターンを実行できるように、異なる複数の威嚇・反撃機能を有し、さらに攻撃者を拘束する機能も有し、総合的な制圧力に優れた多機能性の制御棒を提供することである。
本発明の第3の目的は、平常時に一体化して保管することができ、緊急時に一体化した状態で携行し、現場で瞬時に分離して迎撃態勢をとることができる即応性を備えた制御盾と制御棒の組み合わせを提供することである。
【課題を解決するための手段】
【0005】
上記第1の目的を達成する本発明の制御盾は、板状材料からなる盾本体、及び、当該盾本体の背面に設けられたグリップ部を有する制御盾であって、
前記盾本体は、正面視が縦長の形状を有し、
当該盾本体の両側部から任意に選ばれる第1側部の少なくとも一部に、当該第1側部の辺縁が盾本体の上下方向に走る屈曲軸に沿って盾本体の背面側に屈曲してなるリブ構造を有する打撃防御部を備え、
当該盾本体の両側部のうち前記第1側部に相対する第2側部の少なくとも一部に、盾本体の横方向に突出する山形の形状に成形してなる突起を、当該第2側部の辺縁に沿って複数配列させた連続突起構造を有する刺突防御部を備え、
当該盾本体の上部に、盾本体の上方に突出する山形の形状に成形してなる先端部を少なくとも1つ有する突撃部を備えることを特徴とする。
【0006】
上記第2の目的を達成する本発明の制御棒は、細長い板状材料からなり、長手方向の一端側に茎部、他端側に抜身部を有する制御棒本体、及び、当該制御棒本体の茎部に設けられたグリップ部を有する刀剣状の制御棒であって、
前記抜身部は、長さが490~540mm、幅が95~105mmであり、
前記抜身部の前側端部に、茎部側から先端方向に向かって順次、長さが260~290mm、抜身部の峰側方向に向かう最大深さが55~65mmの湾曲状凹部を成形してなる下肢拘束部、長さが110~125mm、抜身部の峰側方向に向かう最大深さが9~15mmの湾曲状凹部を成形してなる上肢拘束部兼打撃部、及び、先細る切先を成形してなる長さ84~94mmの突撃部兼上部グリップ部を備えることを特徴とする。
【0007】
上記第3の目的を達成する本発明の制御盾と制御棒の組み合わせは、前記本発明の制御盾の盾本体の前面に、第1の係合部材を設けてなる担持部を備える担持部付き制御盾、及び、前記本発明の制御棒の抜身部の少なくとも一方の側面に、前記第1の係合部材と着脱可能に係合する第2の係合部材を設けてなる着脱部を備える着脱部付き制御棒からなることを特徴とする。
【発明の効果】
【0008】
本発明の制御盾は、打撃防御部及び刺突防御部を利用した複数の防御機能を有し、さらに、突撃部及び前記刺突防御部を利用した威嚇・反撃機能も有するので、総合的な制圧力に優れている。
本発明の制御棒は、打撃部及び突撃部を利用した複数の威嚇・反撃機能を有し、さらに下肢拘束部及び上肢拘束部を利用した複数の拘束機能も有するので、総合的な制圧力に優れている。
また、本発明の制御盾と制御棒の組み合わせは、平常時に一体化して保管することができ、緊急時に一体化した状態で携行し、現場で瞬時に分離して迎撃態勢をとることができる即応性を備えている。
【図面の簡単な説明】
【0009】
本発明の制御盾の一実施形態(制御盾101)を示す6面図
本発明の制御盾101の正面図
本発明の制御盾101の背面図
本発明の制御盾101の上面図
本発明の制御盾101の底面図
本発明の制御盾101の右側面図
本発明の制御盾101の左側面図
グリップ部用部材の正面図
グリップ部用部材の上面図又は底面図
グリップ部用部材の右側面図又は左側面図
盾本体の一実施形態を屈曲加工する前の状態を示す正面図
盾本体の一実施形態を屈曲加工した後の状態を示す正面図及び右側面図
盾本体の他の実施形態を示す正面図
本発明の制御棒の一実施形態(制御棒201)を示す6面図
本発明の制御棒201の正面図
本発明の制御棒201の背面図
本発明の制御棒201の上面図
本発明の制御棒201の底面図
本発明の制御棒201の右側面図
本発明の制御棒201の左側面図
脱着可能な制御盾と制御棒の分離状態を示す図
脱着可能な制御盾と制御棒の一体化状態を示す図
アルミニウム製制御盾の前面、及び、アルミニウム製制御棒の左側面を示す写真
アルミニウム製制御盾の背面、及び、アルミニウム製制御棒の右側面を示す写真
樹脂製制御盾の前面、及び、樹脂製制御棒の左側面を示す写真
樹脂製制御盾の背面、及び、樹脂製制御棒の右側面を示す写真
制御盾を左手に、制御棒を右手に保持して立つ基本姿勢を示す写真
基本姿勢から上部打撃に対する防御姿勢に移る要領を示す第1の写真
基本姿勢から上部打撃に対する防御姿勢に移る要領を示す第2の写真
基本姿勢から上部打撃に対する防御姿勢に移る要領を示す第3の写真
腹部への刺突攻撃に対する防御姿勢をとる要領を示す第1の写真
腹部への刺突攻撃に対する防御姿勢をとる要領を示す第2の写真
制御盾上部の突撃部を使う打突要領を示す第1の写真
制御盾上部の突撃部を使う打突要領を示す第2の写真
盾本体背面のグリップ部よりも上側の位置に第1の各種装備付加部、及び、グリップ部上に第2の各種装備付加部をそれぞれ設け、第1の各種装備付加部にフラッシュライトを取り付け、第2の各種装備付加部にフラッシュライトのコントローラを取り付けた状態を、制御盾の背面から見た状態を示す写真
盾本体背面のグリップ部よりも上側の位置に第1の各種装備付加部、及び、グリップ部上に第2の各種装備付加部をそれぞれ設け、第1の各種装備付加部にフラッシュライトを取り付け、第1の各種装備付加部にフラッシュライトのコントローラを取り付けた状態を、制御盾の正面から見た状態を示す写真
盾本体背面のグリップ部よりも上側の位置に第1の各種装備付加部、及び、グリップ部上に第2の各種装備付加部をそれぞれ設け、第1の各種装備付加部にフラッシュライトを取り付け、第2の各種装備付加部からフラッシュライトのコントローラを取り外した状態を示す写真
盾本体背面のグリップ部よりも上側の位置に取り付けたフラッシュライトを、グリップ部上に取り付けたコントローラを操作して照射する要領を示す第1の写真
盾本体背面のグリップ部よりも上側の位置に取り付けたフラッシュライトを、グリップ部上に取り付けたコントローラを操作して照射する要領を示す第2の写真
盾本体背面のグリップ部よりも上側の位置に取り付けたフラッシュライトを、グリップ部上に取り付けたコントローラを操作して照射する要領を示す第3の写真
グリップ部上に取り付けたフラッシュライトを照射する要領を示す第1の写真
グリップ部上に取り付けたフラッシュライトを照射する要領を示す第2の写真
下肢取り押さえ要領を示す写真
上肢取り押さえ要領を示す写真
【発明を実施するための形態】
【0010】
図19A及び図19Bは、本発明のアルミニウム製制御盾と本発明のアルミニウム製制御棒の組み合わせの一例を示す写真であり、具体的には、図19Aは制御盾の前面及び制御棒の左側面を示す写真であり、図19Bは制御盾の背面及び制御棒の右側面を示す写真である。
図20A及び図20Bは、本発明の樹脂製制御盾と本発明の樹脂製制御棒の組み合わせの一例を示す写真であり、具体的には、図20Aは制御盾の前面及び制御棒の左側面を示す写真であり、図20Bは制御盾の背面及び制御棒の右側面を示す写真である。
また、図21は、本発明のアルミニウム製制御盾を左手に保持し、本発明のアルミニウム製制御棒を右手に保持し、攻撃者に対峙する基本姿勢を示す写真である。
本発明の制御盾及び制御棒は、視覚的にも攻撃者を威嚇できる外観を備えているため、攻撃が始まる前に攻撃者の攻撃的な意思を喪失させ、退散に追い込む効果を期待できる。防犯用具という観点では、攻撃者が攻撃を始める前に威嚇力によって委縮し退散すれば、被害者が無傷で危機を脱することができるので、好ましい。
以下、本発明の制御盾、制御棒、及び、それらの組み合わせについて説明する。なお、本発明において数値範囲を示す「~」とは、その前後に記載された数値を下限値及び上限値として含む意味で使用される。
(【0011】以降は省略されています)
この特許をJ-PlatPat(特許庁公式サイト)で参照する
関連特許
田村装備開発株式会社
護身用着衣
10か月前
田村装備開発株式会社
制御盾、制御棒及びそれらの組み合わせ
5日前
個人
弓用の弦
4か月前
個人
くまステッキ
5か月前
個人
矢筒兼用矢立
9日前
東レ株式会社
防刃材
9か月前
個人
低反動銃火器
8か月前
個人
超強力磁石付き刺股。
11か月前
個人
電動エアソフトガン
1か月前
株式会社東京マルイ
玩具銃
6か月前
有限会社佐野機工
ホルスター
2か月前
個人
シールドバリア生成装置
2か月前
個人
防犯用カラーボウル付きの指す叉
5か月前
日本化薬株式会社
防護システム
1か月前
パテントフレア株式会社
遠赤外レーザー銃
11か月前
株式会社 MULE
発火カートリッジ
4か月前
株式会社ライト光機製作所
光学照準器
3か月前
個人
弾倉、気体収容部材及び玩具銃
10か月前
アイ・コーポレーション株式会社
刺股
9か月前
株式会社ライト光機製作所
光学照準器
2か月前
個人
フェイズドアレイテスラコイル防空システム
4か月前
三菱重工業株式会社
装甲車
10か月前
株式会社LIXIL
防犯フェンス
8か月前
株式会社カブール
防刃・防刺・防弾用具
6か月前
個人
ライフル銃、ピストルおよびそれらの位置調整機構
6か月前
合同会社IPマネジメント
RWSによるアクティブ防御システム
6か月前
株式会社国際電気
射撃訓練システム
9か月前
京北産業有限会社
射撃訓練システム
7か月前
三菱電機株式会社
衝撃波発生装置および衝撃波発生方法
1か月前
株式会社モダンビル管理
体動訓練システム、訓練方法及び訓練アプリケーション
11か月前
NECネットワーク・センサ株式会社
水中航走体射出装置および射出方法
8か月前
三菱重工業株式会社
照準投射システム及び照準投射方法
7か月前
株式会社ナイト工芸
飛沫拡散防止機能付ブローライフル
9か月前
株式会社エイテック
標的システム
11か月前
株式会社LIXIL
防犯フェンス
8か月前
株式会社JVCケンウッド
方向特定システム、飛来方向特定システム及び方向特定プログラム
2か月前
続きを見る
他の特許を見る