TOP
|
特許
|
意匠
|
商標
特許ウォッチ
Twitter
他の特許を見る
10個以上の画像は省略されています。
公開番号
2025077137
公報種別
公開特許公報(A)
公開日
2025-05-19
出願番号
2023189110
出願日
2023-11-06
発明の名称
防刃・防刺・防弾用具
出願人
株式会社カブール
代理人
個人
,
個人
,
個人
主分類
F41H
1/02 20060101AFI20250512BHJP(武器)
要約
【課題】防刃・防刺・防弾の三つの防護性能を兼ね備え、また、消音性を備えると共に、縦方向にも横方向にも屈曲性を備えることで行動に支障なく使用することが可能な防刃・防刺・防弾用具及び前記防刃・防刺・防弾用具における第1の防御体を構成する収納空間形成体の製造方法、前記防刃・防刺・防弾用具を構成する第1の防御体の製造方法の提供を課題とする。
【解決手段】第1の防御体10は、シート状部材で形成される基台11と、基台11に縫着された状態で複数枚のプレート13を収納する収納空間形成体12と、収納空間形成体12に収納される複数枚のプレート13とで構成され、且つ収納空間形成体12は、複数枚のプレート13をそれぞれ個別に収納可能な複数個の収納空間を備えると共に、隣接する収納空間が所定幅の重なり部分を有するように複数個の収納空間を並列配置させてある防刃・防刺・防弾用具1である。
【選択図】 図3
特許請求の範囲
【請求項1】
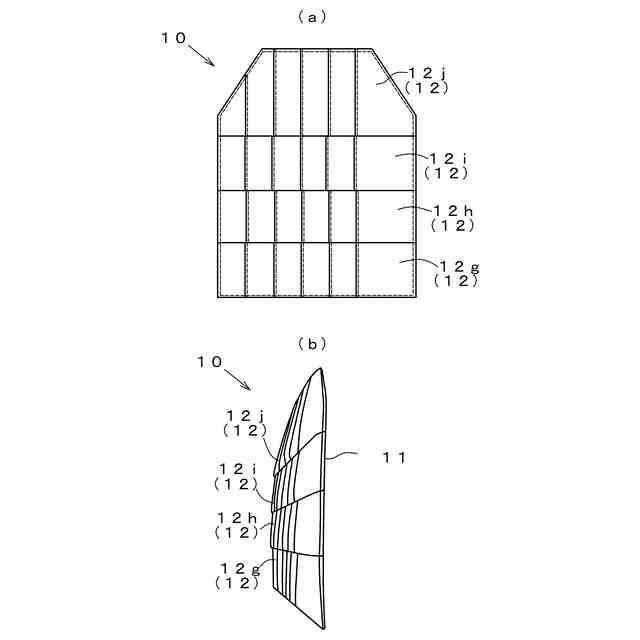
第1の防御体と、前記第1の防御体の後方側に配置される第2の防御体と、前記第1の防御体及び前記第2の防御体を収納する収納用袋とを少なくとも備える防刃・防刺・防弾用具であって、前記第1の防御体は、シート状部材で形成される基台と、前記基台に縫着された状態で複数枚のプレートを収納する収納空間形成体と、前記収納空間形成体に収納される複数枚のプレートとで構成され、前記第2の防御体は、超高分子量ポリエチレン製のシート状の織物を複数枚積層してなる超高分子量ポリエチレン層を少なくとも備える合成樹脂層と、前記合成樹脂層の全面を被覆する防水シート層とで構成され、前記収納空間形成体は、複数枚の前記プレートをそれぞれ個別に収納可能な複数個の収納空間を備えると共に、隣接する前記収納空間が所定幅の重なり部分を有するように複数個の前記収納空間を並列配置させてあり、前記プレートは、バネ性を有する金属製、合成樹脂製、セラミックス製の少なくとも何れか1種で形成されることを特徴とする防刃・防刺・防弾用具。
続きを表示(約 1,800 文字)
【請求項2】
第1の防御体を構成する収納空間形成体は、隣接する1対の折り目線の幅が大小交互に繰り返すと共に、大きい方の隣接する1対の折り目線の幅がプレートの幅の105%~125%程度の長さであり、小さい方の隣接する1対の折り目線の幅がプレートの幅の30%~60%程度の長さである複数の折り目線に沿って蛇腹折りされた状態で所定位置が縫着されているポリアミド系樹脂製の1枚のシート状部材で構成されることを特徴とする請求項1に記載の防刃・防刺・防弾用具。
【請求項3】
第1の防御体は、複数個の収納空間形成体を備えると共に、隣接する前記収納空間形成体の全ての収納空間が所定幅の重なり部分を有するように複数個の前記収納空間形成体を並列配置させてあることを特徴とする請求項1又は2に記載の防刃・防刺・防弾用具。
【請求項4】
収納用袋は、ポリアミド系樹脂製のシート状部材で形成されていることを特徴とする請求項1に記載の防刃・防刺・防弾用具。
【請求項5】
請求項1に記載の防刃・防刺・防弾用具における第1の防御体を構成する収納空間形成体の製造方法であって、ポリアミド系樹脂製の矩形状の1枚のシート状部材を準備し、隣接する1対の折り目線の幅が大小交互に繰り返すと共に、大きい方の隣接する1対の折り目線の幅がプレーの幅の105%~125%程度の長さであり、小さい方の隣接する1対の折り目線の幅がプレートの幅の30%~60%程度の長さである前記シート状部材の長手方向に並列配置されている複数の折り目線に沿って前記シート状部材を蛇腹折りにすると共に、前記シート状部材のうら面側に配置される折り目線の近傍位置においては、折り畳まれた状態にある前記シート状部材を折り目線の全長にわたって縫着し、前記シート状部材のおもて面側に配置される折り目線の近傍位置においては、折り畳まれた状態にある前記シート状部材とその下方に重なる前記シート状部材とを折り目線の全長にわたって縫着することで、前記シート状部材のうら面側に複数個の収納空間を区切る仕切用片を形成する仕切用片形成工程と、前記仕切用片形成工程により複数個の仕切用片が形成されたシート状部材の所定領域を、仕切用片と直交する折り返し線にてシート状部材のうら面側に折り返すと共に、前記折り返し線の近傍位置において折り返された状態にある前記シート状部材を折り返し線の全長にわたって縫着する折り返し縫着工程とをこの順番で備えることを特徴とする収納空間形成体の製造方法。
【請求項6】
請求項1に記載の防刃・防刺・防弾用具を構成する第1の防御体の製造方法であって、請求項5に記載の収納空間形成体の製造方法により製造された収納空間形成体を用いて、所定領領域が折り返された状態にあるシート状部材における、折り返された折り返し領域の折り返し線と対向する側の先端部近傍位置を前記折り返し線と略同じ長さだけ基台と縫着すると共に、前記折り返し領域を除く前記シート状部材の前記折り返し線と直交する両端辺のうち、蛇腹折りにされた状態にある前記シート状部材の下層側に配置される端辺を前記端辺の全長にわたって前記基台と縫着することで前記収納空間形成体を前記基台に仮固定させる収納空間仮固定工程と、前記基台と縫着された状態にある端辺側の収納空間から順番に、各収納空間にプレートを収納すると共に、各仕切用片の前記端辺と平行な側の先端部近傍位置を、前記折り返し領域の前記折り返し線と対向する側の先端部近傍位置まで前記基台と縫着させ、且つ前記折り返し領域を除く前記シート状部材の前記折り返し線と直交する両端辺のうち、蛇腹折りにされた状態にある前記シート状部材の上層側に配置される端辺を前記上層側に配置される端辺の全長にわたって前記基台と縫着することで、各収納空間に複数のプレートを収納させるプレート収納工程と、前記折り返し領域を除く前記シート状部材の前記折り返し線と対向する側の先端部近傍位置を前記折り返し線と略同じ長さだけ前記基台と縫着すると共に、折り返し線の近傍位置を折り返し線の全長にわたって前記基台と縫着することで、前記収納空間形成体を前記基台に完全に固定する収納空間形成体固定工程とをこの順番で備えることを特徴とする第1の防御体の製造方法。
発明の詳細な説明
【技術分野】
【0001】
本発明は、防刃・防刺・防弾用具及び前記防刃・防刺・防弾用具における第1の防御体を構成する収納空間形成体の製造方法、前記防刃・防刺・防弾用具を構成する第1の防御体の製造方法に関する。
続きを表示(約 4,400 文字)
【背景技術】
【0002】
従来、ナイフやアイスピック等の刃物に対する防御性能を備えた防刃チョッキや、弾丸に対する防御性能を備えた防弾チョッキが各種開発されている。
このような防刃チョッキや防弾チョッキを示す従来技術として、例えば、下記特許文献1、2がある。
【先行技術文献】
【特許文献】
【0003】
実用新案登録第3127246号公報
特開2021-173492号公報
【発明の概要】
【発明が解決しようとする課題】
【0004】
上記特許文献1は、防刃チョッキに関する考案で、刃物による攻撃に対して着用者の胸部から腹部までの部位を防御できると共に下腹部及び両脇腹部も防御できる防刃チョッキを提供できるというメリットがある。また、上記特許文献2は、防弾チョッキに関する発明で、軽量かつ飛翔体から身体を守る性能が高い防弾チョッキを提供できるというメリットがある。
しかしながら、上記特許文献1に示すような従来の防刃チョッキにおいては、防刃性能のみを備えるものが一般的で、防弾性能も兼ね備えるものの開発が望まれるところであった。また、同様に、上記特許文献2に示すような従来の防弾チョッキにおいては、防弾性能のみを備えるものが一般的で、防刃性能も兼ね備えるものの開発が望まれるところであった。
特に、学校や病院、会社などの施設内や電車、バスなどの交通機関内で、或いは通勤や通学時に不測の事故や事件に遭遇することを想定する場合においては、防刃性能と防弾性能を併せ持った防御具の開発が期待されるところである。
【0005】
そこで、本発明は上記従来における問題点を解決し、防刃・防刺・防弾の三つの防護性能を兼ね備え、また、消音性を備えると共に、縦方向にも横方向にも屈曲性を備えることで行動に支障なく使用することが可能な防刃・防刺・防弾用具及び前記防刃・防刺・防弾用具における第1の防御体を構成する収納空間形成体の製造方法、前記防刃・防刺・防弾用具を構成する第1の防御体の製造方法の提供を課題とする。
【課題を解決するための手段】
【0006】
上記課題を達成するため、本発明の防刃・防刺・防弾用具は、第1の防御体と、前記第1の防御体の後方側に配置される第2の防御体と、前記第1の防御体及び前記第2の防御体を収納する収納用袋とを少なくとも備える防刃・防刺・防弾用具であって、前記第1の防御体は、シート状部材で形成される基台と、前記基台に縫着された状態で複数枚のプレートを収納する収納空間形成体と、前記収納空間形成体に収納される複数枚のプレートとで構成され、前記第2の防御体は、超高分子量ポリエチレン製のシート状の織物を複数枚積層してなる超高分子量ポリエチレン層を少なくとも備える合成樹脂層と、前記合成樹脂層の全面を被覆する防水シート層とで構成され、前記収納空間形成体は、複数枚の前記プレートをそれぞれ個別に収納可能な複数個の収納空間を備えると共に、隣接する前記収納空間が所定幅の重なり部分を有するように複数個の前記収納空間を並列配置させてあり、前記プレートは、バネ性を有する金属製、合成樹脂製、セラミックス製の少なくとも何れか1種で形成されることを第1の特徴としている。
また、本発明の防刃・防刺・防弾用具は、上記第1の特徴に加えて、第1の防御体を構成する収納空間形成体は、隣接する1対の折り目線の幅が大小交互に繰り返すと共に、大きい方の隣接する1対の折り目線の幅がプレートの幅の105%~125%程度の長さであり、小さい方の隣接する1対の折り目線の幅がプレートの幅の30%~60%程度の長さである複数の折り目線に沿って蛇腹折りされた状態で所定位置が縫着されているポリアミド系樹脂製の1枚のシート状部材で構成されることを第2の特徴としている。
また、本発明の防刃・防刺・防弾用具は、上記第1又は第2の特徴に加えて、第1の防御体は、複数個の収納空間形成体を備えると共に、隣接する前記収納空間形成体の全ての収納空間が所定幅の重なり部分を有するように複数個の前記収納空間形成体を並列配置させてあることを第3の特徴としている。
また、本発明の防刃・防刺・防弾用具は、上記第1の特徴に加えて、収納用袋は、ポリアミド系樹脂製のシート状部材で形成されていることを第4の特徴としている。
また、本発明の収納空間形成体の製造方法は、請求項1に記載の防刃・防刺・防弾用具における第1の防御体を構成する収納空間形成体の製造方法であって、ポリアミド系樹脂製の矩形状の1枚のシート状部材を準備し、隣接する1対の折り目線の幅が大小交互に繰り返すと共に、大きい方の隣接する1対の折り目線の幅がプレートの幅の105%~125%程度の長さであり、小さい方の隣接する1対の折り目線の幅がプレートの幅の30%~60%程度の長さである前記シート状部材の長手方向に並列配置されている複数の折り目線に沿って前記シート状部材を蛇腹折りにすると共に、前記シート状部材のうら面側に配置される折り目線の近傍位置においては、折り畳まれた状態にある前記シート状部材を折り目線の全長にわたって縫着し、前記シート状部材のおもて面側に配置される折り目線の近傍位置においては、折り畳まれた状態にある前記シート状部材とその下方に重なる前記シート状部材とを折り目線の全長にわたって縫着することで、前記シート状部材のうら面側に複数個の収納空間を区切る仕切用片を形成する仕切用片形成工程と、前記仕切用片形成工程により複数個の仕切用片が形成されたシート状部材の所定領域を、仕切用片と直交する折り返し線にてシート状部材のうら面側に折り返すと共に、前記折り返し線の近傍位置において折り返された状態にある前記シート状部材を折り返し線の全長にわたって縫着する折り返し縫着工程とをこの順番で備えることを第5の特徴としている。
また、本発明の第1の防御体の製造方法は、請求項1に記載の防刃・防刺・防弾用具を構成する第1の防御体の製造方法であって、請求項5に記載の収納空間形成体の製造方法により製造された収納空間形成体を用いて、所定領領域が折り返された状態にあるシート状部材における、折り返された折り返し領域の折り返し線と対向する側の先端部近傍位置を前記折り返し線と略同じ長さだけ基台と縫着すると共に、前記折り返し領域を除く前記シート状部材の前記折り返し線と直交する両端辺のうち、蛇腹折りにされた状態にある前記シート状部材の下層側に配置される端辺を前記端辺の全長にわたって前記基台と縫着することで前記収納空間形成体を前記基台に仮固定させる収納空間仮固定工程と、前記基台と縫着された状態にある端辺側の収納空間から順番に、各収納空間にプレートを収納すると共に、各仕切用片の前記端辺と平行な側の先端部近傍位置を、前記折り返し領域の前記折り返し線と対向する側の先端部近傍位置まで前記基台と縫着させ、且つ前記折り返し領域を除く前記シート状部材の前記折り返し線と直交する両端辺のうち、蛇腹折りにされた状態にある前記シート状部材の上層側に配置される端辺を前記上層側に配置される端辺の全長にわたって前記基台と縫着することで、各収納空間に複数のプレートを収納させるプレート収納工程と、前記折り返し領域を除く前記シート状部材の前記折り返し線と対向する側の先端部近傍位置を前記折り返し線と略同じ長さだけ前記基台と縫着すると共に、折り返し線の近傍位置を折り返し線の全長にわたって前記基台と縫着することで、前記収納空間形成体を前記基台に完全に固定する収納空間形成体固定工程とをこの順番で備えることを第6の特徴としている。
【発明の効果】
【0007】
上記第1の特徴による防刃・防刺・防弾用具によれば、プレートを収納する第1の防御体と、超高分子量ポリエチレン製のシート状の織物を複数枚積層してなる超高分子量ポリエチレン層を備える第2の防御体との二種類の防御体を備える構成とすることで、防刃・防刺・防弾の三つの防護性能を兼ね備えた防刃・防刺・防弾用具とすることができる。また、第1の防御体を構成する収納空間形成体が複数枚のプレートをそれぞれ個別に収納可能な複数個の収納空間を備えるものであることで、プレート同士が直接接触することを確実に防止でき、消音性に富んだ防刃・防刺・防弾用具とすることができる。また、プレートとして、バネ性を有する金属製のプレートを用いる場合においては、縦方向にも横方向にも屈曲性を備えると共に、復元力も備えることで、体にフィットして行動に支障なく使用することができるだけでなく、金属変形が少なく耐久性の高い防刃・防刺・防弾用具とすることができる。また、プレートを収納する収納空間の構成として、隣接する収納空間が所定幅の重なり部分を有するように複数個の収納空間を並列配置させてあることで、第1の防御体に収納される複数枚のプレートを重なり部分で積層させることができ、一段と防護性能の高い防刃・防刺・防弾用具とすることができる。更に、第2の防御体の構成として、合成樹脂層の全面を被覆する防水シート層を備えることで、合成樹脂層が加水分解されて強度低下が生じることを確実に防ぐことができ、一段と耐久性の高い防刃・防刺・防弾用具とすることができる。
【0008】
また、上記第2の特徴による防刃・防刺・防弾用具によれば、上記第1の特徴による作用効果に加えて、収納空間形成体の構成として、蛇腹折りされた1枚のシート状部材を用いる構成とすることで、製造容易で、複数のプレートの位置決めが容易な収納空間形成体とすることができる。よって、製造効率の良い防刃・防刺・防弾用具とすることができる。また、1枚のシート状部材として、ポリアミド系樹脂製のシート状部材を用いる構成とすることで、高強度で耐久性の高い収納空間形成体とすることができる。
【0009】
また、上記第3の特徴による防刃・防刺・防弾用具によれば、上記第1又は第2の特徴による作用効果に加えて、防護面積を効果的に広げることができると共に、隣接する収納空間形成体の全ての収納空間が所定幅の重なり部分を有することで、一段と防護性能の高い防刃・防刺・防弾用具とすることができる。
【0010】
また、上記第4の特徴による防刃・防刺・防弾用具によれば、上記第1の特徴による作用効果に加えて、ポリアミド系樹脂製のシート状部材で形成される収納用袋を用いる構成とすることで、高強度で耐久性の高い収納用袋とすることができる。
(【0011】以降は省略されています)
この特許をJ-PlatPat(特許庁公式サイト)で参照する
関連特許
個人
弓用の弦
3か月前
個人
くまステッキ
4か月前
東レ株式会社
防刃材
8か月前
個人
低反動銃火器
7か月前
個人
超強力磁石付き刺股。
10か月前
個人
電動エアソフトガン
17日前
株式会社東京マルイ
玩具銃
11か月前
株式会社東京マルイ
玩具銃
4か月前
個人
シールドバリア生成装置
1か月前
有限会社佐野機工
ホルスター
1か月前
個人
防犯用カラーボウル付きの指す叉
4か月前
日本化薬株式会社
防護システム
17日前
パテントフレア株式会社
遠赤外レーザー銃
10か月前
株式会社ライト光機製作所
光学照準器
2か月前
株式会社 MULE
発火カートリッジ
2か月前
個人
弾倉、気体収容部材及び玩具銃
9か月前
アイ・コーポレーション株式会社
刺股
7か月前
株式会社ライト光機製作所
光学照準器
1か月前
個人
フェイズドアレイテスラコイル防空システム
2か月前
株式会社LIXIL
防犯フェンス
7か月前
株式会社カブール
防刃・防刺・防弾用具
5か月前
三菱重工業株式会社
装甲車
9か月前
個人
ライフル銃、ピストルおよびそれらの位置調整機構
4か月前
合同会社IPマネジメント
RWSによるアクティブ防御システム
5か月前
株式会社国際電気
射撃訓練システム
8か月前
京北産業有限会社
射撃訓練システム
6か月前
逵恩室内設計諮詢(上海)有限公司
光源ビームを調整可能なトイガン
11か月前
NECネットワーク・センサ株式会社
水中航走体射出装置および射出方法
7か月前
株式会社モダンビル管理
体動訓練システム、訓練方法及び訓練アプリケーション
10か月前
三菱電機株式会社
衝撃波発生装置および衝撃波発生方法
20日前
三菱重工業株式会社
照準投射システム及び照準投射方法
6か月前
株式会社ナイト工芸
飛沫拡散防止機能付ブローライフル
8か月前
株式会社エイテック
標的システム
10か月前
株式会社JVCケンウッド
方向特定システム、飛来方向特定システム及び方向特定プログラム
1か月前
株式会社LIXIL
防犯フェンス
7か月前
東芝電波プロダクツ株式会社
現示器、現示システム、および現示方法
8か月前
続きを見る
他の特許を見る