TOP
|
特許
|
意匠
|
商標
特許ウォッチ
Twitter
他の特許を見る
公開番号
2025140823
公報種別
公開特許公報(A)
公開日
2025-09-29
出願番号
2024040420
出願日
2024-03-14
発明の名称
電動エアソフトガン
出願人
個人
代理人
個人
主分類
F41B
11/64 20130101AFI20250919BHJP(武器)
要約
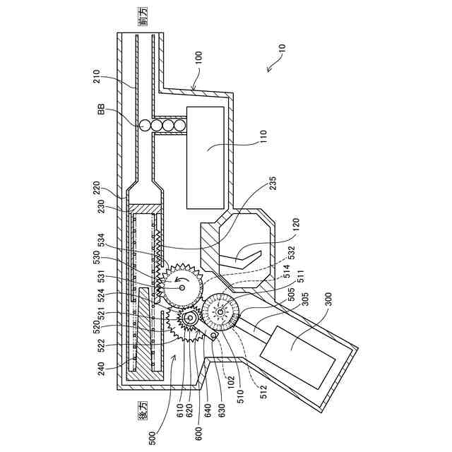
【課題】電動エアソフトガンにおいて歯車間のバックラッシュに起因するピストンの戻りを抑制する。
【解決手段】電動エアソフトガンは、シリンダと;ピストンと;スプリングと、;ピストンに設けられたラックギアと、;電動機と;動力伝達機構と;筐体とを備える。動力伝達機構は、ピニオンギアと;第1の二段歯車と;第2の二段歯車と;第3の二段歯車と;第2の二段歯車の逆回転を防止する逆回転防止ユニットとを含む。逆回転防止ユニットは、第2の二段歯車の回転軸と嵌り合うワンウェイクラッチと、ワンウェイクラッチを保持する保持部と、筐体における第2の二段歯車の半径方向外側に位置する凹部に嵌り合うピンと、保持部とピンとの間を連結するアーム部材とを含む。
【選択図】図1
特許請求の範囲
【請求項1】
球状の弾丸を圧縮空気によって発射する電動エアソフトガンであって、
前記弾丸が通過する銃身と、
前記銃身へと前記圧縮空気を供給可能に接続されたシリンダと、
前記シリンダにおける前記銃身側の前方側と、前記シリンダにおける前記銃身とは反対側の後方側との間を、前記シリンダの内側において往復移動可能に構成されたピストンと、
前記ピストンを前記前方側に向けて押し付けるスプリングと、
前記ピストンが往復移動する方向に沿って前記ピストンに設けられたラックギアと、
前記ピストンを前記後方側へと移動させる回転動力を出力する電動機と、
前記電動機から出力される前記回転動力を前記ラックギアに伝達する動力伝達機構と、
少なくとも前記動力伝達機構を収容する筐体と
を備え、
前記動力伝達機構は、
前記電動機の出力軸に設けられたピニオンギアと、
前記ピニオンギアに噛み合う傘歯車と、前記傘歯車より歯数の少ない第1の平歯車とを有する第1の二段歯車と、
前記第1の平歯車に噛み合う第2の平歯車と、前記第2の平歯車より歯数の少ない第3の平歯車とを有する第2の二段歯車と、
前記第3の平歯車に噛み合う第4の平歯車と、円周の一部にわたって前記ラックギアに噛み合う歯が形成された第5の平歯車とを有し、前記ピストンを前記後方側へと移動かつ保持するとともに前記ピストンを前記前方側へと解放可能に構成された第3の二段歯車と、
前記第2の二段歯車の逆回転を防止する逆回転防止ユニットと
を含み、
前記逆回転防止ユニットは、
前記第2の二段歯車の回転軸と嵌り合い、前記ピストンを前記後方側へと移動させる正回転方向への前記回転軸の回転を許容し、前記正回転方向とは逆向きへの前記回転軸の回転を阻止するワンウェイクラッチと、
前記ワンウェイクラッチを保持する保持部と、
前記筐体における前記第2の二段歯車の半径方向外側に位置する凹部に嵌り合うピンと、
前記保持部と前記ピンとの間を連結するアーム部材と
を含む、電動エアソフトガン。
発明の詳細な説明
【技術分野】
【0001】
本明細書は、電動エアソフトガンに関する技術を開示する。
続きを表示(約 2,200 文字)
【背景技術】
【0002】
遊戯銃の一つとして電動エアソフトガンが知られている(例えば、特許文献1を参照)。電動エアソフトガンは、シリンダ内においてスプリングで前方に押し付けられたピストンを、電動機の回転動力を用いて後方に移動させた後、ピストンを解放することによりシリンダ内で発生する圧縮空気で球状の弾丸を発射する。このような電動エアソフトガンでは、電動機の回転動力は、複数の歯車で構成された動力伝達機構を介してピストンに伝達される。
【0003】
特許文献2には、動力伝達機構において各種歯車が逆回転することによる誤動作を防止するために、動力伝達機構における歯車の一つに逆転防止ラッチを設けることが記載されている。また、特許文献2には、そのような逆回転による誤動作を防止するために、電動機の出力軸にワンウェイクラッチを設けることが記載されている。
【先行技術文献】
【特許文献】
【0004】
特開2006-234191号公報
特許第6620956号公報
【発明の概要】
【発明が解決しようとする課題】
【0005】
電動エアソフトガンにおいて動力伝達機構の歯車に逆転防止ラッチを設けた場合、逆転防止ラッチとピストンとの間に介在する歯車間におけるバックラッシュ(隙間)の分だけピストンが前方に戻るという問題があった。ピストンが前方に戻った場合、その分だけピストン解放時の圧縮空気の圧力が低下するため、弾丸の飛距離の低下および不安定化を招く。また、動力伝達機構の歯車に逆転防止ラッチを設けた場合、逆転防止ラッチの作動音が発生するため、その作動音によって遊戯が阻害されるという問題があった。
【0006】
また、電動エアソフトガンにおいて電動機の出力軸にワンウェイクラッチを設けた場合、出力軸とピストンとの間に介在する歯車におけるバックラッシュの分だけピストンが前方に戻るという問題があった。
【課題を解決するための手段】
【0007】
本明細書に開示する技術は、以下の形態として実現できる。
【0008】
本明細書に開示する一形態は、球状の弾丸を圧縮空気によって発射する電動エアソフトガンであある。この電動エアソフトガンは、前記弾丸が通過する銃身と;前記銃身へと前記圧縮空気を供給可能に前記銃身に接続されたシリンダと;前記シリンダにおける前記銃身側の前方側と、前記シリンダにおける前記銃身とは反対側の後方側との間を、前記シリンダの内側において往復移動可能に構成されたピストンと;前記ピストンを前記前方側に向けて押し付けるスプリングと、;前記ピストンが往復移動する方向に沿って前記ピストンに設けられたラックギアと、;前記ピストンを前記後方側へと移動させる回転動力を出力する電動機と;前記電動機から出力される前記回転動力を前記ラックギアに伝達する動力伝達機構と;少なくとも前記動力伝達機構を収容する筐体とを備える。前記動力伝達機構は、前記電動機の出力軸に設けられたピニオンギアと;前記ピニオンギアに噛み合う傘歯車と、前記傘歯車より歯数の少ない第1の平歯車とを有する第1の二段歯車と;前記第1の平歯車に噛み合う第2の平歯車と、前記第2の平歯車より歯数の少ない第3の平歯車とを有する第2の二段歯車と;前記第3の平歯車に噛み合う第4の平歯車と、円周の一部にわたって前記ラックギアに噛み合う歯が形成された第5の平歯車とを有し、前記ピストンを前記後方側へと移動かつ保持するとともに前記ピストンを前記前方側へと解放可能に構成された第3の二段歯車と;前記第2の二段歯車の逆回転を防止する逆回転防止ユニットとを含む。前記逆回転防止ユニットは、前記第2の二段歯車の回転軸と嵌り合い、前記ピストンを前記後方側へと移動させる正回転方向への前記回転軸の回転を許容し、前記正回転方向とは逆向きへの前記回転軸の回転を阻止するワンウェイクラッチと;前記ワンウェイクラッチを保持する保持部と;前記筐体における前記第2の二段歯車の半径方向外側に位置する凹部に嵌り合うピンと;前記保持部と前記ピンとの間を連結するアーム部材とを含む。この形態の電動エアソフトガンによれば、第2の二段歯車の回転軸にワンウェイクラッチを設けることができるため、回転動力が動力伝達機構で減速される前の電動機にワンウェイクラッチを設けた場合と比較して、歯車間のバックラッシュに起因するピストンの戻りを抑制できる。また、この形態の電動エアソフトガンによれば、第2の二段歯車の回転軸に設けたワンウェイクラッチによって動力伝達機構の逆回転を防止できるため、歯車に逆転防止ラッチを設けた場合と比較して作動音を低減できる。
【0009】
本明細書に開示する技術は、電動エアソフトガンとは異なる種々の形態で実現できる。本明細書に開示する技術は、例えば、電動エアソフトガンの部品および製造方法などの形態で実現できる。
【図面の簡単な説明】
【0010】
電動エアソフトガンの構成を示す説明図である。
逆転防止ユニットの詳細構成を示す説明図である。
【発明を実施するための形態】
(【0011】以降は省略されています)
この特許をJ-PlatPat(特許庁公式サイト)で参照する
関連特許
個人
弓用の弦
3か月前
個人
くまステッキ
4か月前
東レ株式会社
防刃材
8か月前
個人
低反動銃火器
7か月前
個人
超強力磁石付き刺股。
10か月前
個人
電動エアソフトガン
20日前
株式会社東京マルイ
玩具銃
11か月前
株式会社東京マルイ
玩具銃
5か月前
個人
シールドバリア生成装置
1か月前
有限会社佐野機工
ホルスター
1か月前
日本化薬株式会社
防護システム
20日前
個人
防犯用カラーボウル付きの指す叉
4か月前
パテントフレア株式会社
遠赤外レーザー銃
10か月前
株式会社 MULE
発火カートリッジ
2か月前
株式会社ライト光機製作所
光学照準器
2か月前
個人
弾倉、気体収容部材及び玩具銃
9か月前
株式会社ライト光機製作所
光学照準器
1か月前
アイ・コーポレーション株式会社
刺股
8か月前
個人
フェイズドアレイテスラコイル防空システム
2か月前
株式会社カブール
防刃・防刺・防弾用具
5か月前
三菱重工業株式会社
装甲車
9か月前
株式会社LIXIL
防犯フェンス
7か月前
個人
ライフル銃、ピストルおよびそれらの位置調整機構
5か月前
合同会社IPマネジメント
RWSによるアクティブ防御システム
5か月前
株式会社国際電気
射撃訓練システム
8か月前
京北産業有限会社
射撃訓練システム
6か月前
株式会社モダンビル管理
体動訓練システム、訓練方法及び訓練アプリケーション
10か月前
三菱電機株式会社
衝撃波発生装置および衝撃波発生方法
23日前
NECネットワーク・センサ株式会社
水中航走体射出装置および射出方法
7か月前
三菱重工業株式会社
照準投射システム及び照準投射方法
6か月前
株式会社ナイト工芸
飛沫拡散防止機能付ブローライフル
8か月前
株式会社エイテック
標的システム
10か月前
株式会社LIXIL
防犯フェンス
7か月前
株式会社JVCケンウッド
方向特定システム、飛来方向特定システム及び方向特定プログラム
1か月前
東芝電波プロダクツ株式会社
現示器、現示システム、および現示方法
8か月前
東芝電波プロダクツ株式会社
着弾方位の音響現示装置、方法、およびプログラム
9か月前
続きを見る
他の特許を見る