TOP
|
特許
|
意匠
|
商標
特許ウォッチ
Twitter
他の特許を見る
公開番号
2025139121
公報種別
公開特許公報(A)
公開日
2025-09-26
出願番号
2024037895
出願日
2024-03-12
発明の名称
衝撃波発生装置および衝撃波発生方法
出願人
三菱電機株式会社
代理人
弁理士法人ぱるも特許事務所
主分類
F41H
11/12 20110101AFI20250918BHJP(武器)
要約
【課題】危険物を用いることなく衝撃波を発生させる。
【解決手段】金属管4を設置する設置空間3sが径方向の内側に形成されたコイル31、およびコイル31に電流を印加する高電圧パルス発生部2、を備え、金属管4がコイル31と軸方向を揃えて設置空間3sに設置された際、コイル31に印加する電流変化によって、金属管4を径方向に圧縮する電磁力を発生させ、金属管4が塑性変形した際に、軸方向の一端から衝撃波Wsを発生させるように構成した。
【選択図】図1
特許請求の範囲
【請求項1】
金属管を設置する設置空間が径方向の内側に形成されたコイル、および
前記コイルに電流を印加する電源、を備え、
前記金属管が前記コイルと軸方向を揃えて前記設置空間に設置された際、前記コイルに印加する電流変化によって、前記金属管を径方向に圧縮する電磁力を発生させ、前記金属管が塑性変形した際に、軸方向の一端から衝撃波を発生させることを特徴とする衝撃波発生装置。
続きを表示(約 780 文字)
【請求項2】
前記電源は、パルス電圧を発生させるパルス電源であることを特徴とする請求項1に記載の衝撃波発生装置。
【請求項3】
前記設置空間の前記一端側は、前記金属管を出し入れするために開口していることを特徴とする請求項1または2に記載の衝撃波発生装置。
【請求項4】
前記設置空間および前記コイルは軸方向に沿って前記一端に向かって径が大きくなっていることを特徴とする請求項1または2に記載の衝撃波発生装置。
【請求項5】
前記コイルを径方向の内側から支持する支持構造体を備えたことを特徴とする請求項1または2に記載の衝撃波発生装置。
【請求項6】
前記支持構造体は、軸方向の他端側を塞いだ有底円筒状をなすことを特徴とする請求項5に記載の衝撃波発生装置。
【請求項7】
前記一端側には、前記設置空間に連通し、軸方向に沿って前記設置空間から離れる方向に延びるラバールノズルが設けられていることを特徴とする請求項1または2に記載の衝撃波発生装置。
【請求項8】
前記一端側には、前記設置空間に連通し、軸方向に沿って前記設置空間から離れる方向に延びる環状の反射板が設けられていることを特徴とする請求項1または2に記載の衝撃波発生装置。
【請求項9】
径方向の内側に軸方向を揃えて金属管が設置されたコイルに対し、印加する電流を急変させて前記金属管を径方向に圧縮する磁力を発生させ、前記金属管が塑性変形した際に、軸方向の一端から衝撃波を発生させることを特徴とする衝撃波発生方法。
【請求項10】
パルス高電圧によって前記電流の急変を生じさせることを特徴とする請求項9に記載の衝撃波発生方法。
(【請求項11】以降は省略されています)
発明の詳細な説明
【技術分野】
【0001】
本開示は、衝撃波発生装置および衝撃波発生方法に関するものである。
続きを表示(約 1,600 文字)
【背景技術】
【0002】
地雷の除去、除雪、火災の消火、危険または有害な動物、強盗等の駆除あるいは撃退などを目的に、空気中で衝撃波を発生させて、離れた位置に気体によって大きな力を作用させる装置が求められている。それに対して、燃料(エチレン、水素など)と酸化剤(酸素、一酸化二窒素など)とを混合した予備混合気体を点火してデトネーション波を発生するデトネーション波発生装置と、デトネーション波から得られた衝撃波を反射させる衝撃波反射板とを接続して構成した衝撃波連続発生装置が開示されている(例えば、特許文献1参照)。
【先行技術文献】
【特許文献】
【0003】
特開2007-107821(段落0034、図1、図2)
【発明の概要】
【発明が解決しようとする課題】
【0004】
しかしながら、燃料、酸化剤といった危険物の保管と取り扱いについては、例えば消防法といった法令等による制約があり、それらを用いる衝撃波発生装置は、限られた使用者によって限られた場所でしか使用することができなかった。
【0005】
本開示は、上記の課題を解決するものであり、危険物を用いずに衝撃波を発生させることを目的とする。
【課題を解決するための手段】
【0006】
本開示の衝撃波発生装置は、金属管を設置する設置空間が径方向の内側に形成されたコイル、および前記コイルに電流を印加する電源、を備え、前記金属管が前記コイルと軸方向を揃えて前記設置空間に設置された際、前記コイルに印加する電流変化によって、前記金属管を径方向に圧縮する電磁力を発生させ、前記金属管が塑性変形した際に、軸方向の一端から衝撃波を発生させることを特徴とする。
【0007】
本開示の衝撃波発生方法は、径方向の内側に軸方向を揃えて金属管が設置されたコイルに対し、印加する電流を急変させて前記金属管を径方向に圧縮する磁力を発生させ、前記金属管が塑性変形した際に、軸方向の一端から衝撃波を発生させることを特徴とする。
【発明の効果】
【0008】
本開示の衝撃波発生装置あるいは衝撃波発生方法によれば、電磁力による金属管の塑性変形によって衝撃波を発生させるので、危険物を用いることなく衝撃波を発生させることができる。
【図面の簡単な説明】
【0009】
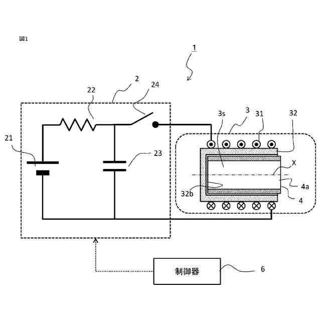
実施の形態1にかかる衝撃波発生装置の構成を示すブロック図である。
図2A~図2Eは、実施の形態1にかかる衝撃波発生装置の動作原理を説明するための、それぞれ段階ごとの衝撃波発生部の状態を示す模式的な断面図である。
実施の形態1にかかる衝撃波発生装置の動作を説明するためのフローチャートである。
本開示の衝撃波発生装置の制御器のハードウエア構成を示すブロック図である。
実施の形態1の変形例にかかる衝撃波発生装置の構成を説明するための衝撃波発生部の模式的な断面図である。
実施の形態2にかかる衝撃波発生装置の構成を説明するための衝撃波発生部の模式的な断面図である。
実施の形態3にかかる衝撃波発生装置の構成を説明するための衝撃波発生部の模式的な断面図である。
【発明を実施するための形態】
【0010】
実施の形態1.
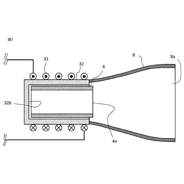
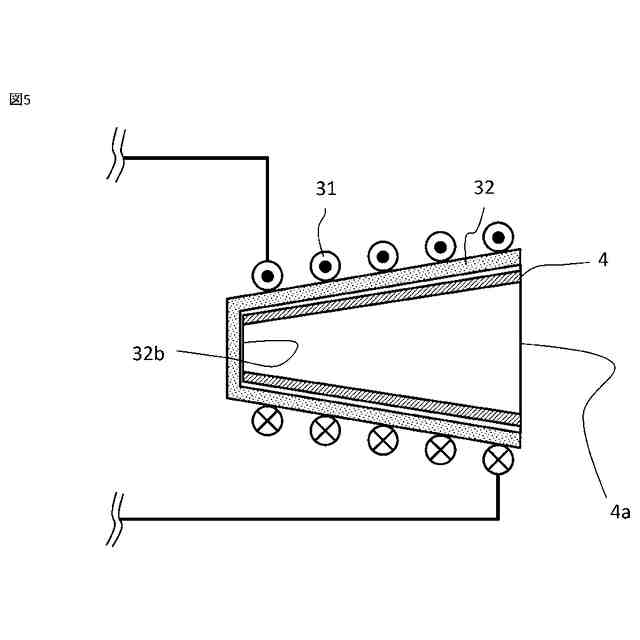
図1~図3は実施の形態1にかかる衝撃波発生装置の構成と動作、あるいは衝撃波発生方法について説明するためのもので、図1は衝撃波発生装置の構成を示すために高電圧パルス発生部の回路図と衝撃波発生部の軸を含む模式的な断面図を組み合わせたブロック図である。そして、図2A~図2Eは、衝撃波発生装置の動作原理を説明するための、それぞれ段階ごとの衝撃波発生部の状態を示す軸を含む模式的な断面図、図3は衝撃波発生装置の動作、つまり衝撃波発生方法を説明するためのフローチャートである。
(【0011】以降は省略されています)
この特許をJ-PlatPat(特許庁公式サイト)で参照する
関連特許
個人
弓用の弦
3か月前
個人
くまステッキ
4か月前
東レ株式会社
防刃材
8か月前
個人
低反動銃火器
7か月前
個人
電動エアソフトガン
16日前
株式会社東京マルイ
玩具銃
4か月前
有限会社佐野機工
ホルスター
1か月前
個人
シールドバリア生成装置
1か月前
日本化薬株式会社
防護システム
16日前
個人
防犯用カラーボウル付きの指す叉
4か月前
パテントフレア株式会社
遠赤外レーザー銃
10か月前
株式会社ライト光機製作所
光学照準器
2か月前
株式会社 MULE
発火カートリッジ
2か月前
個人
弾倉、気体収容部材及び玩具銃
9か月前
株式会社ライト光機製作所
光学照準器
1か月前
アイ・コーポレーション株式会社
刺股
7か月前
個人
フェイズドアレイテスラコイル防空システム
2か月前
株式会社カブール
防刃・防刺・防弾用具
4か月前
株式会社LIXIL
防犯フェンス
7か月前
三菱重工業株式会社
装甲車
9か月前
個人
ライフル銃、ピストルおよびそれらの位置調整機構
4か月前
合同会社IPマネジメント
RWSによるアクティブ防御システム
4か月前
株式会社国際電気
射撃訓練システム
8か月前
京北産業有限会社
射撃訓練システム
6か月前
NECネットワーク・センサ株式会社
水中航走体射出装置および射出方法
7か月前
株式会社モダンビル管理
体動訓練システム、訓練方法及び訓練アプリケーション
10か月前
三菱電機株式会社
衝撃波発生装置および衝撃波発生方法
19日前
三菱重工業株式会社
照準投射システム及び照準投射方法
6か月前
株式会社ナイト工芸
飛沫拡散防止機能付ブローライフル
8か月前
株式会社JVCケンウッド
方向特定システム、飛来方向特定システム及び方向特定プログラム
1か月前
株式会社LIXIL
防犯フェンス
7か月前
東芝電波プロダクツ株式会社
現示器、現示システム、および現示方法
8か月前
東芝電波プロダクツ株式会社
着弾方位の音響現示装置、方法、およびプログラム
9か月前
株式会社東芝
無人航空機対処システム、中央装置、および、無人航空機対処方法
6か月前
三菱電機ディフェンス&スペーステクノロジーズ株式会社
射撃訓練装置、射撃訓練方法、及び射撃訓練プログラム
5か月前
西安華科光電有限公司
熱画像機能付きの照準器
1か月前
続きを見る
他の特許を見る