TOP
|
特許
|
意匠
|
商標
特許ウォッチ
Twitter
他の特許を見る
公開番号
2025170359
公報種別
公開特許公報(A)
公開日
2025-11-18
出願番号
2025139179,2023503189
出願日
2025-08-22,2020-07-17
発明の名称
高活性トランスポゾン及びトランスポザーゼ
出願人
プロバイオジェン アーゲー
代理人
弁理士法人はなぶさ特許商標事務所
主分類
C12N
9/12 20060101AFI20251111BHJP(生化学;ビール;酒精;ぶどう酒;酢;微生物学;酵素学;突然変異または遺伝子工学)
要約
【課題】より活性の高いトランスポゾン又はトランスポザーゼを提供する。
【解決手段】本発明は、少なくとも1つのアミノ酸置換を含むpiggyBacトランスポザーゼ又はトランスポザーゼ機能を有するその断片若しくは誘導体を含むポリペプチドに関する。さらに、本発明は、piggyBac又はpiggyBac様左反復配列及び左内部反復配列を含むトランスポーザブルエレメントであって、左内部反復配列が少なくとも1つのヌクレオチド改変を含むトランスポーザブルエレメントに関する。さらに、本発明は、上記のトランスポザーゼ及び/又はトランスポーザブルエレメントを含むキットに関する。さらに、本発明は、上記のトランスポザーゼ及び/又はトランスポーザブルエレメントを含むターゲティングシステムに関する。
【選択図】なし
特許請求の範囲
【請求項1】
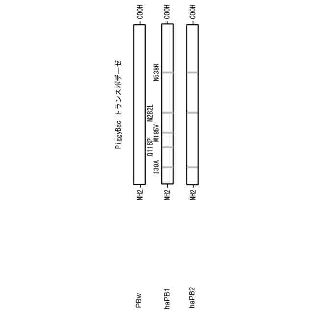
下記からなる群より選択される少なくとも1つのアミノ酸置換を含むpiggyBacトランスポザーゼ又はトランスポザーゼ機能を有するその断片若しくは誘導体を含むポリペプチド。
アミノ酸位置30又はそれに対応するアミノ酸位置のイソロイシン(I)を、アラニン(A)により置換(I30A)、
アミノ酸位置118又はそれに対応するアミノ酸位置のグルタミン(Q)を、プロリン(P)により置換(Q118P)、
アミノ酸位置185又はそれに対応するアミノ酸位置のメチオニン(M)を、バリン(V)により置換(M185V)、
アミノ酸位置282又はそれに対応するアミノ酸位置のメチオニン(M)を、ロイシン(L)により置換(M282L)、並びに
アミノ酸位置538又はそれに対応するアミノ酸位置のアスパラギン(N)を、アルギニン(R)により置換(N538R)。
続きを表示(約 2,500 文字)
【請求項2】
前記piggyBacトランスポザーゼ又はトランスポザーゼ機能を有するその断片若しくは誘導体が以下のアミノ酸置換を含む、請求項1に記載のポリペプチド。
アミノ酸位置30又はそれに対応するアミノ酸位置のイソロイシン(I)を、アラニン(A)により置換(I30A)、
アミノ酸位置282又はそれに対応するアミノ酸位置のメチオニン(M)を、ロイシン(L)により置換(M282L)、並びに
アミノ酸位置538又はそれに対応するアミノ酸位置のアスパラギン(N)を、アルギニン(R)により置換(N538R)。
【請求項3】
前記piggyBacトランスポザーゼ又はトランスポザーゼ機能を有するその断片若しくは誘導体が以下のアミノ酸置換を含む、請求項1又は請求項2に記載のポリペプチド。
アミノ酸位置30又はそれに対応するアミノ酸位置のイソロイシン(I)を、アラニン(A)により置換(I30A)、
アミノ酸位置118又はそれに対応するアミノ酸位置のグルタミン(Q)を、プロリン(P)により置換(Q118P)、
アミノ酸位置185又はそれに対応するアミノ酸位置のメチオニン(M)を、バリン(V)により置換(M185V)、
アミノ酸位置282又はそれに対応するアミノ酸位置のメチオニン(M)を、ロイシン(L)により置換(M282L)、並びに
アミノ酸位置538又はそれに対応するアミノ酸位置のアスパラギン(N)を、アルギニン(R)より置換(N538R)。
【請求項4】
前記piggyBacトランスポザーゼが、配列番号18に記載のアミノ酸配列を有し、且つ
アミノ酸位置30のイソロイシン(I)をアラニン(A)により置換(I30A)、
アミノ酸位置118のグルタミン(Q)をプロリン(P)により置換(Q118P)、
アミノ酸位置185のメチオニン(M)をバリン(V)により置換(M185V)、
アミノ酸位置282のメチオニン(M)をロイシン(L)により置換(M282L)、並びに
アミノ酸位置538のアスパラギン(N)をアルギニン(R)により置換(N538R)からなる群より選択される少なくとも1つのアミノ酸置換を含むか、又は
前記piggyBacトランスポザーゼが、前記アミノ酸配列と少なくとも80%同一であるその変異体であって、該変異体が
アミノ酸位置30又はそれに対応するアミノ酸位置のイソロイシン(I)を、アラニン(A)により置換(I30A)、
アミノ酸位置118又はそれに対応するアミノ酸位置のグルタミン(Q)を、プロリン(P)により置換(Q118P)、
アミノ酸位置185又はそれに対応するアミノ酸位置のメチオニン(M)を、バリン(V)により置換(M185V)、
アミノ酸位置282又はそれに対応するアミノ酸位置のメチオニン(M)を、ロイシン(L)により置換(M282L)、並びに
アミノ酸位置538又はそれに対応するアミノ酸位置のアスパラギン(N)を、アルギニン(R)により置換(N538R)
からなる群より選択される少なくとも1つのアミノ酸置換を含む、請求項1乃至請求項3のうちいずれか1項に記載のポリペプチド。
【請求項5】
前記piggyBacトランスポザーゼが、
アミノ酸位置30にアラニン(A)、アミノ酸位置282にロイシン(L)及びアミノ酸位置538にアルギニン(R)を含む配列番号22に記載のアミノ酸配列を有するか、又は
前記piggyBacトランスポザーゼが、前記アミノ酸配列と少なくとも80%同一であるその変異体であり、該変異体が、アミノ酸位置30又はそれに対応するアミノ酸位置にアラニン(A)、アミノ酸位置282又はそれに対応するアミノ酸位置にロイシン(L)、並びにアミノ酸位置538又はそれに対応するアミノ酸位置にアルギニン(R)を含むものである、請求項1乃至請求項4のうちいずれか1項に記載のポリペプチド。
【請求項6】
前記piggyBacトランスポザーゼが、
アミノ酸位置30にアラニン(A)、アミノ酸位置118にプロリン(P)、アミノ酸位置185にバリン(V)、アミノ酸位置282にロイシン(L)及びアミノ酸位置538にアルギニン(R)を含む配列番号20に記載のアミノ酸配列を有するか、又は
前記piggyBacトランスポザーゼが、前記アミノ酸配列と少なくとも80%同一であるその変異体であり、該変異体が、アミノ酸位置30又はそれに対応するアミノ酸位置にアラニン(A)、アミノ酸位置118又はそれに対応するアミノ酸位置にプロリン(P)、アミノ酸位置185又はそれに対応するアミノ酸位置にアミノ酸バリン(V)、アミノ酸位置282又はそれに対応するアミノ酸位置にロイシン(L)、並びにアミノ酸位置538又はそれに対応するアミノ酸位置にアルギニン(R)を含む、請求項1乃至請求項5のうちいずれか1項に記載のポリペプチド。
【請求項7】
前記ポリペプチドが、少なくとも1つの異種クロマチンリーダードメイン(CRD)を含む、請求項1乃至請求項6のうちいずれか1項に記載のポリペプチド。
【請求項8】
前記少なくとも1つの異種CRDが、前記トランスポザーゼ又はトランスポザーゼ機能を有するその断片若しくは誘導体に、好ましくはリンカーを介して連結されている、請求項7に記載のポリペプチド。
【請求項9】
前記CRDがヒストンメチル化度及び/又はヒストンのアセチル化状態を認識する、請求項7又は請求項8に記載のポリペプチド。
【請求項10】
前記CRDが植物ホメオドメイン(PHD)型ジンクフィンガーである、請求項9に記載のポリペプチド。
(【請求項11】以降は省略されています)
発明の詳細な説明
【技術分野】
【0001】
本発明は、少なくとも1つのアミノ酸置換を含むpiggyBacトランスポザーゼ又はトランスポザーゼ機能を有するその断片若しくは誘導体を含むポリペプチドに関する。さらに、本発明は、piggyBac又はpiggyBac様左反復配列及び左内部反復配列を含むトランスポーザブルエレメントであって、左内部反復配列が少なくとも1つのヌクレオチド改変を含むトランスポーザブルエレメントに関する。さらに、本発明は、上記のトランスポザーゼ及び/又はトランスポーザブルエレメントを含むキットに関する。さらに、本発明は、上記のトランスポザーゼ及び/又はトランスポーザブルエレメントを含むターゲティングシステムに関する。
続きを表示(約 3,200 文字)
【背景技術】
【0002】
トランスポゾンは、最近、強力な非ウイルス性遺伝子送達ツールとして開発されている。特に、プラスミドDNAの組込みがトランスポゾンを用いて支援されるとき、生成されたプロデューサー細胞株の性能を向上させることができる。例えば、トランスポゾンは、より大きなサイズの異種DNAの組込み及びより多くの異種DNAコピーの各ゲノムへの組込みを可能にする。さらに、トランスポゾンを介した組込みは、プラスミド骨格の組込みの低減及び/又はコンカテマーの低減のための効率的な方法を提供する。
【0003】
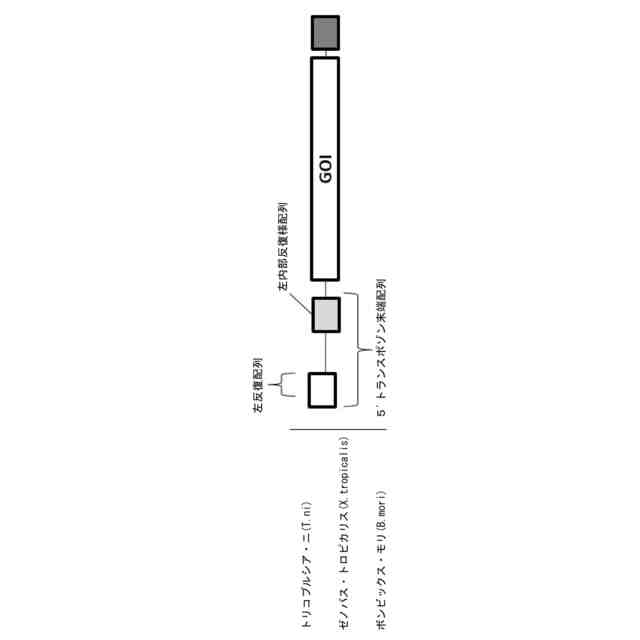
トランスポーザブルエレメント又はトランスポゾンは、ゲノムのある遺伝子座から別の部分に移動することができるDNA切片である。トランスポーザブルエレメントの2つのクラス、つまり、RNA中間体を介して複製するレトロトランスポゾン(クラス1)と「カットアンドペースト」DNAトランスポゾン(クラス2)とが区別されている。クラス2トランスポゾンは、短い逆方向末端反復(ITR)と、エレメントにコードされた、切出し及び挿入活性を有する酵素であるトランスポザーゼとによって特徴付けられる。天然の構成において、トランスポザーゼ遺伝子は、逆方向反復の間に位置する。クラス2のいくつかのトランスポゾン、例えば、ガのトリコプルシア・ニ(Trichoplusia
ni)由来のトランスポゾン(PiggyBac)、コウモリのミオティス・ルシフグス(Myotis lucifugus)由来のトランスポゾン(PiggyBat)、サケ種由来の再構築されたトランスポゾン(Sleeping Beauty)、又はメダカのオリジアス・ラチペス(Oryzias latipes)由来のトランスポゾン(Tol2)は、真核生物のゲノムへの異種DNAの挿入を促進することが示されている。これらのトランスポゾンは、導入遺伝子送達及び挿入変異誘発を含む、宿主ゲノムの遺伝子操作における多くの用途を有する。例えば、piggyBac(PB)DNAトランスポゾン(以前はIFP2として記載されていた)は、その特性によってベクターと染色体との間で効率的に転移するので、遺伝子工学において技術的に及び商業的に使用されている(米国特許第6218185号明細書(US6218185))。これらの用途において、組み込まれるDNAの両側には、PBベクター内の2つのPB ITRが隣接して配置される。PBトランスポザーゼの共送達により、隣接されたDNAは、PBベクターから正確に切り出され、TTAA特異的部位で標的ゲノムに組み込まれる。
【0004】
形質転換効率を高めるために、より活性なトランスポザーゼが開発された。これらの高活性トランスポザーゼは、野生型トランスポザーゼと比較して、所与のトランスポゾンが組み込まれた細胞をより大きな割合で、及び細胞あたりのトランスポゾン組込みをより大きな数でもたらす。様々なストラテジーが、当該技術分野において記載されている:例えば、欧州特許第2160461号明細書(EP2160461)は、側方特異的(side directed)変異誘発を介して生成された高活性Sleeping Beautyトランスポザーゼを記載している。米国特許第9534234号明細書(US953
4234)は、異種核局在化配列(NLS)に融合したカイコのボンビックス・モリ(Bombyx mori)由来及びカエルのゼノパス・トロピカリス(Xenopus tropicalis)由来のPB様トランスポザーゼを提供している。欧州特許第1546322号明細書(EP1546322)は、DNAランディングパッドを認識して、トランスポゾン-トランスポザーゼ複合体をランディングパッドに引き寄せ、その近傍での組込みを促進する結合ドメインを含むキメラ組込み酵素を開示している。欧州特許第1594972号明細書(EP1594972)は、DNAターゲティングドメインを含む細胞性ポリペプチド又は操作されたポリペプチドと関連することができるポリペプチド結合ドメインに融合したトランスポザーゼ又はトランスポザーゼ機能を有するその断片若しくは誘導体を特許請求する。
【0005】
形質転換効率はまた、より活性なトランスポゾンを使用することによって増加され得る。
【0006】
トランスポザーゼの応用分野の1つは、医薬細胞株の開発である。チャイニーズハムスター卵巣(CHO)細胞は、懸濁培養において増殖するその能力、その複雑な翻訳後修飾の能力、及びヒトウイルス感染に対するその低い感受性に起因して、治療用生物製剤を産生するための最も普及している哺乳動物細胞工場である。
組換え治療用タンパク質の工業的生産の主な限界の1つは、時間と労力を要する細胞株の生産と特性評価プロセスである。利用可能な方法の大部分は、ランダムな導入遺伝子組込みに依存する。複数のカセットは、多くの場合、多かれ少なかれ活性部位にタンデムに組み込まれる。活性のある染色体遺伝子座はまれであり、高プロデューサー細胞を得るためには何千ものクローンをスクリーニングしなければならない。組換え細胞株スクリーニングの範囲を縮小し、組換えCHO細胞株の生産性と安定性を高めるために、PBを介した遺伝子送達が使用された(M. Matasci et al., The PiggyBac transposon enhances the frequency of
CHO stable cell line generation and yields recombinant lines with superior productivity and stability. Biotechnology and Bioengineering, Vol. 108, No. 9, (2011))。
【0007】
しかし、より活性の高いトランスポゾンやトランスポザーゼ(例えば、より活性の高いPBやPB様トランスポゾンやトランスポザーゼ)に関しては、(まだ)満足できる結果にはない。
【0008】
現在の技術水準と比較して細胞当たりより多くの数のトランスポゾン組込みが得られるトランスポゾン及びトランスポザーゼ(例えば、PB及びPB様トランスポゾン及びトランスポザーゼ)を開発することが非常に望ましい。
【0009】
最近、Morelletらは、PBトランスポザーゼのC末端システインリッチドメイン(CRD)が、左右のトランスポゾン末端で特定のDNA配列に結合し、さらに左端で予想外の内部部位に結合することを報告した(Nucleic Acids Research,2018,Vol.46,No.5 2018 doi:10.1093/nar/gky044)。
【0010】
本発明者らは、驚くべきことに、トランスポーザブルエレメントの左内部反復配列内に人工的に挿入された改変が、トランスフェクタントの選択段階での生存率回復時間を短縮することを見出した。左反復配列に対する左内部反復配列の相同性を増加させる、左内部反復配列内に少なくとも1つの改変を有する人工piggyBac(PB)及びPB様ト
ランスポーザブルエレメントは、当該技術分野において記載も示唆もされていない。このような突然変異が何らかの影響を及ぼすことはありそうもなかった。
(【0011】以降は省略されています)
この特許をJ-PlatPat(特許庁公式サイト)で参照する
関連特許
個人
抗遺伝子劣化装置
3か月前
個人
細胞内探査とその利用
3か月前
雪国アグリ株式会社
単糖類の製造方法
1か月前
株式会社東洋新薬
経口組成物
3か月前
株式会社タクマ
バイオマス処理装置
3か月前
株式会社タクマ
バイオマス処理装置
3か月前
テルモ株式会社
吐出デバイス
2か月前
宝酒造株式会社
アルコール飲料
1か月前
テルモ株式会社
容器蓋デバイス
2か月前
島根県
油吸着材とその製造方法
1か月前
東ソー株式会社
pH応答性マイクロキャリア
2か月前
大陽日酸株式会社
培養装置
3か月前
大陽日酸株式会社
培養装置
3か月前
トヨタ自動車株式会社
バイオ燃料製造方法
2か月前
株式会社ファンケル
SEC12タンパク発現促進剤
4か月前
個人
有機フッ素化合物を分解する廃液処理法
1か月前
月桂冠株式会社
低プリン体清酒
1か月前
株式会社豊田中央研究所
細胞励起装置
1か月前
株式会社カクサスバイオ
新規免疫抑制方法
15日前
テルモ株式会社
採取組織細切補助デバイス
2か月前
株式会社シャローム
スフィンゴミエリン製造方法
2か月前
株式会社今宮
瓶詰ビールの加熱殺菌方法および装置
2か月前
株式会社村田製作所
濾過装置および濾過方法
1か月前
新東工業株式会社
培養システム
1か月前
横河電機株式会社
藻類培養装置
2か月前
東ソー株式会社
免疫グロブリン結合性タンパク質の製造方法
20日前
住友金属鉱山株式会社
連続発酵方法及び連続発酵装置
2か月前
公立大学法人北九州市立大学
微生物の検知方法
3か月前
東ソー株式会社
免疫学的測定法
1か月前
株式会社ショウワ
キトサンオリゴマー分画方法
1か月前
株式会社日本触媒
スフェロイドの輸送方法
1か月前
フジッコ株式会社
エリナシンAの産生方法
1か月前
個人
酒粕パウダーの製造方法
7日前
積水化学工業株式会社
遺伝子導入方法
1か月前
NTN株式会社
細胞配置の制御方法
1か月前
株式会社カネカ
予測方法及び製造方法
1か月前
続きを見る
他の特許を見る