TOP
|
特許
|
意匠
|
商標
特許ウォッチ
Twitter
他の特許を見る
10個以上の画像は省略されています。
公開番号
2025170219
公報種別
公開特許公報(A)
公開日
2025-11-18
出願番号
2025074235
出願日
2025-04-28
発明の名称
車両充電装置及び車両充電方法
出願人
台達電子工業股ふん有限公司
代理人
個人
主分類
H02J
7/00 20060101AFI20251111BHJP(電力の発電,変換,配電)
要約
【課題】通信品質の悪さによる充電異常を効果的に改善する車両充電装置及び車両充電方法を提供する。
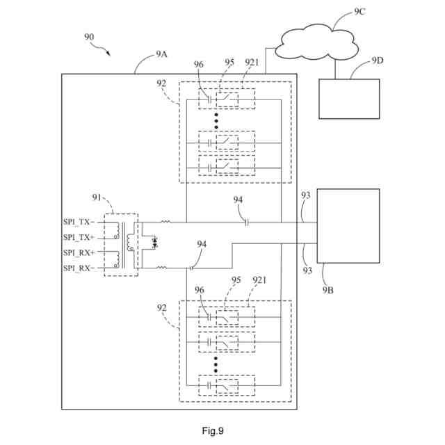
【解決手段】車両充電システム90において、ネットワーク9Cを介してクラウドコンピューティングプラットフォーム9Dに接続される車両充電装置9Aは、変圧器91及び2つのインピーダンスチューナ92を含み、該変圧器の一側には電気自動車9Bに接続されるように2本の通信線93が設けられ、該2つのインピーダンスチューナのそれぞれが該2本の通信線の一方に並列に接続される。各インピーダンスチューナは、通信線のリアクタンス特性をそれぞれ調整するするための少なくとも1つの分岐経路921を含む。したがって、通信線の信号強度に応じて、通信線のインピーダンスを段階的に調整することができ、車両充電装置と電気自動車とがインピーダンス整合に近づいた状態で相互に通信し、データ交換のビット誤り率が高すぎることによる充電異常を回避する。
【選択図】図9
特許請求の範囲
【請求項1】
第1の側及び第2の側を有し、該第2の側には電気自動車に接続されるように2本の通信線が設けられる変圧器と、
それぞれが該2本の通信線の一方に並列に接続され、該2本の通信線のリアクタンス特性を調整するように構成される2つのインピーダンスチューナと、を含む、車両充電装置。
続きを表示(約 1,100 文字)
【請求項2】
該2本の通信線のそれぞれが第1のコンデンサを有し、該2つのインピーダンスチューナのそれぞれが少なくとも1つの分岐経路を含み、該少なくとも1つの分岐経路のそれぞれが該第1のコンデンサに並列に接続される、請求項1に記載の車両充電装置。
【請求項3】
該少なくとも1つの分岐経路のそれぞれは、スイッチ及び第2のコンデンサを含み、該スイッチと該第2のコンデンサが直列に接続される、請求項2に記載の車両充電装置。
【請求項4】
該スイッチは、コントローラからの制御信号に基づいて該第1のコンデンサと該第2のコンデンサとが並列回路又は開回路を形成するように構成される、請求項3に記載の車両充電装置。
【請求項5】
該スイッチは、高周波スイッチ素子である、請求項3に記載の車両充電装置。
【請求項6】
該高周波スイッチ素子の動作周波数範囲が150kHz~30MHzを含む、請求項5に記載の車両充電装置。
【請求項7】
該高周波スイッチ素子は、チップ型スイッチであって、制御端子と2つの接続端子とを有し、該2つの接続端子の一方と該第1のコンデンサの一端との間に該第2のコンデンサが接続され、該2つの接続端子の他方が該第1のコンデンサの他端に接続されている、請求項5に記載の車両充電装置。
【請求項8】
該2本の通信線は、制御パイロット線及び保護接地線を含む、請求項1に記載の車両充電装置。
【請求項9】
該車両充電装置は、ネットワークを介してクラウドコンピューティングプラットフォームに接続される、請求項1に記載の車両充電装置。
【請求項10】
第1の側及び第2の側を有し、該第2の側には電気自動車に接続されるように2本の通信線が設けられる変圧器と、それぞれが該2本の通信線の一方に並列に接続され、該2本の通信線のリアクタンス特性を調整するように構成される2つのインピーダンスチューナと、を含む車両充電装置に適用される車両充電方法であって、
該車両充電装置に接続される2本の通信線と該電気自動車との接続を検出するステップと、
該車両充電装置と該電気自動車とが電力線通信を行い、該車両充電装置が該電気自動車の複数の信号チャネルの信号強度を収集するステップと、
該車両充電装置は該複数の信号チャネルの信号強度に基づいて、該2本の通信線の通信特性を監視することにより、該2本の通信線の信号強度が強度要件を満たすようにするステップと、
該2本の通信線の信号強度が該強度要件を満たすことに応答して、該車両充電装置は該電気自動車に対して充電モードを行うステップと、を含む、車両充電方法。
(【請求項11】以降は省略されています)
発明の詳細な説明
【技術分野】
【0001】
本発明は、充電通信技術に関し、特に車両充電装置及び車両充電方法に関する。
続きを表示(約 2,600 文字)
【背景技術】
【0002】
環境保全に対する意識が高まるにつれて、電気自動車及び関連インフラがますます普及されてきた。車両の充電の際に、電気自動車と充電スタンドとは相互に接続されることが可能となり、電気自動車と充電スタンドとが充電通信動作を完了すると、充電スタンドは、電気自動車のバッテリに電力を供給する。
【0003】
充電通信動作の際に、データ交換のビット誤り率が高すぎると、電気自動車が充電できなくなったり、充電が途絶えたりするなどの異常が発生する。従来、いくつかの充電制御の技術的手段があるが、まだ改善する必要がある。
【発明の概要】
【発明が解決しようとする課題】
【0004】
本発明の目的は、通信品質の悪さによる充電異常を効果的に改善することができる、車両充電装置及び車両充電方法を提供することにある。
【0005】
上記目的を達成するために、本発明の一態様は、第1の側及び第2の側を有し、第2の側には電気自動車に接続されるように2本の通信線が設けられる変圧器と、それぞれが2本の通信線の一方に並列に接続され、2本の通信線のリアクタンス特性を調整するように構成される2つのインピーダンスチューナと、を含む車両充電装置を提供する。
【0006】
上記目的を達成するために、本発明の一態様は、車両充電装置に適用される車両充電方法を提供し、車両充電装置は、第1の側及び第2の側を有し、第2の側には電気自動車に接続されるように2本の通信線が設けられる変圧器と、それぞれが2本の通信線の一方に並列に接続され、2本の通信線のリアクタンス特性を調整するように構成される2つのインピーダンスチューナと、を含み、この車両充電方法は、車両充電装置に接続される2本の通信線が電気自動車に接続されていることを検出するステップと、車両充電装置が電気自動車と電力線通信を行い、車両充電装置が電気自動車の複数の信号チャネルの信号強度を収集するステップと、2本の通信線の信号強度が強度要件を満たすように、車両充電装置が複数の信号チャネルの信号強度に基づいて2本の通信線の通信特性を監視するステップと、2本の通信線の信号強度が強度要件を満たすことに応答して、車両充電装置が電気自動車に充電モードを行うステップと、を含む。
【発明の効果】
【0007】
本発明の車両充電装置及び車両充電方法は、車両充電装置の変圧器の第2の側には、電気自動車に接続されるように、2本の通信線(コンデンサを有する)が設けられ、車両充電装置のインピーダンスチューナのそれぞれは一方の通信線に並列に接続され、2つのインピーダンスチューナは2本の通信線のリアクタンス特性を調整するように構成され、例えば、2つのインピーダンスチューナのそれぞれは少なくとも1つの分岐経路(スイッチ及びコンデンサを含む)を含み、少なくとも1つの分岐経路のそれぞれは通信線のコンデンサに並列に接続される。したがって、通信線の信号強度に応じて、適切な数の分岐経路のコンデンサと通信線のコンデンサとの接続を段階的に制御することができ、通信線のインピーダンスを調整することで、車両充電装置と電気自動車とがインピーダンス整合に近づいた状態で相互に通信し、データ交換のビット誤り率が高すぎて電気自動車が充電できなくなったり、充電が途絶えたりするなどの異常を回避することができる。
【図面の簡単な説明】
【0008】
図1は、本発明の実施例が適用可能な車両充電システムの概略図である。
図2は、図1に示す車両充電システムの第1の信号伝送モードの概略図である。
図3は、図2に示す第1の充電スタンドの例での通信線の電力スペクトル密度分布の概略図である。
図4は、図2に示す第2の充電スタンドの例での通信線の電力スペクトル密度分布の概略図である。
図5は、図1に示す車両充電システムの第2の信号伝送モードの概略図である。
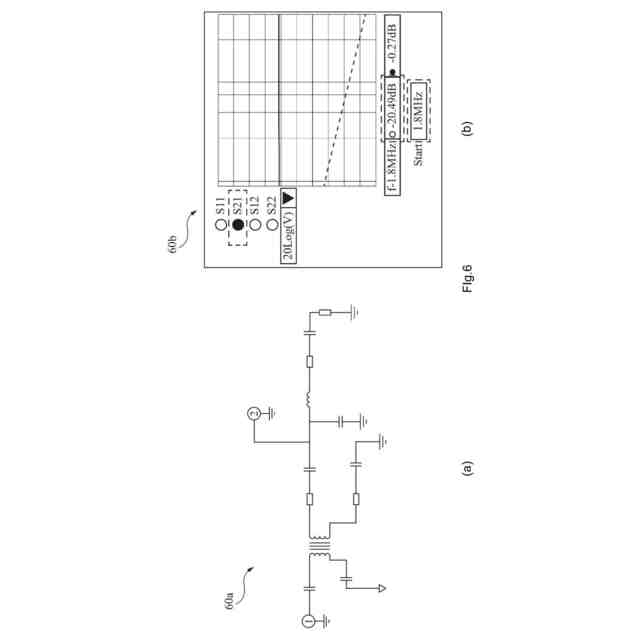
図6(a)及び図6(b)は、図5に示す第1の充電スタンドの例での等価回路及び挿入損失の概略図である。
図7(a)及び図7(b)は、図5に示す第2の充電スタンドの例での等価回路及び挿入損失の概略図である。
図8は、図1に示す複数の充電スタンドの例で複数の信号チャネルの信号強度を取得する概略図である。
図9は、本発明の実施例の車両充電装置のブロック概略図である。
図10は、図9の分岐経路におけるスイッチとコンデンサとの接続構成の概略図である。
図11は、本発明の実施例の車両充電方法のフローチャートである。
【発明を実施するための形態】
【0009】
以上の本発明の内容及び他の目的、特徴、利点をより明確に理解しやすくするために、以下、本発明の好ましい実施例を挙げて、添付図面を参照しながら詳細に説明する。
【0010】
図1に示すように、車両充電システム10(例えば、コンバインド充電システム(Combined Charging System,CCS))では、充電スタンド(Electric Vehicle Supply Equipment,EVSE)11と電気自動車(Electric Vehicle,EV)12とが相互に接続されることが可能となり、例えば、電気自動車12はスクータ型車両や自動車などの車両を含み、充電スタンド11の充電コネクタと電気自動車12のインレットとはカプラ接続(コネクタ接続)を形成し、電気自動車12と充電スタンド11とが充電通信動作を完了すると、充電スタンド11は、電気自動車12のバッテリに電力を供給する。充電通信動作の際に、例えば、異なる充電コネクタ(例えば、異なる線長や線径など)によって形成されるカプラの差異に応じて調整するなど、コントローラ13に有効な互換性制御又は最適化メカニズムが欠けている場合、カプラ接続状態で、データ交換のビット誤り率(Bit Error Rate、BER)が高すぎて、データ通信の互換の適応性が不足すると、例えば、充電通信動作が完了できないため、電気自動車が充電できなくなったり、充電が途絶えたりするという異常が発生し、不十分な使用体験を引き起こす。
(【0011】以降は省略されています)
この特許をJ-PlatPat(特許庁公式サイト)で参照する
関連特許
台達電子工業股ふん有限公司
電池システム
7日前
台達電子工業股ふん有限公司
磁気アセンブリ
19日前
台達電子工業股ふん有限公司
電力変換システム
6日前
台達電子工業股ふん有限公司
半導体モジュール
4日前
台達電子工業股ふん有限公司
車両充電装置及び車両充電方法
今日
個人
単極モータ
1か月前
個人
電気を重力で発電装置
12日前
キヤノン電子株式会社
モータ
19日前
キヤノン電子株式会社
モータ
11日前
株式会社アイシン
ロータ
1か月前
株式会社アイシン
ロータ
1か月前
コーセル株式会社
電源装置
20日前
日星電気株式会社
ケーブル組立体
27日前
トヨタ自動車株式会社
モータ
11日前
株式会社デンソー
回転機
1か月前
株式会社アイシン
ステータ
1か月前
株式会社アイシン
ステータ
1か月前
株式会社アイシン
ステータ
1か月前
株式会社kaisei
発電システム
1か月前
個人
二次電池繰返パルス放電器用印刷基板
25日前
株式会社ミツバ
回転電機
1か月前
株式会社デンソー
電力変換装置
1か月前
株式会社デンソー
電力変換装置
26日前
株式会社ダイヘン
インバータ装置
1か月前
トヨタ自動車株式会社
固定子の加熱装置
22日前
株式会社デンソー
非接触受電装置
28日前
日産自動車株式会社
ロータシャフト
6日前
日産自動車株式会社
ロータシャフト
6日前
ローム株式会社
モータドライバ回路
6日前
矢崎総業株式会社
ワイヤーハーネス
1か月前
個人
非対称鏡像力を有する4層PWB電荷搬送体
6日前
山洋電気株式会社
モータ
25日前
トヨタ自動車株式会社
ステータの製造装置
12日前
株式会社TMEIC
電力変換装置
1か月前
株式会社デンソー
ステータ及びモータ
1か月前
トヨタ紡織株式会社
ロータの製造装置
20日前
続きを見る
他の特許を見る