TOP
|
特許
|
意匠
|
商標
特許ウォッチ
Twitter
他の特許を見る
10個以上の画像は省略されています。
公開番号
2025164695
公報種別
公開特許公報(A)
公開日
2025-10-30
出願番号
2025033249
出願日
2025-03-03
発明の名称
磁気アセンブリ
出願人
台達電子工業股ふん有限公司
,
DELTA ELECTRONICS, INC.
代理人
SK弁理士法人
,
個人
,
個人
主分類
H01F
37/00 20060101AFI20251023BHJP(基本的電気素子)
要約
【課題】弾性装置の設計及び組み立てを通じて、ノイズを低減する磁気アセンブリを提供する。
【解決手段】磁気アセンブリは、第1コア10と、第2コア20と、少なくとも1つのコイル装置30と、少なくとも1つの弾性装置40と、を含む。第1コアは第1溝面101を含み、第2コアは第2溝面201を含み、第1コアと第2コアは、互いに対応して配置されて収容空間を形成する。少なくとも1つのコイル装置30と少なくとも1つの弾性装置40は、収容空間内に配置される。磁気アセンブリの組み立て工程において、収容空間内に配置された弾性装置が押圧されることで、磁気アセンブリが密閉構造になり、動作中の磁気アセンブリの振動によるノイズ問題を軽減するとともに、磁気アセンブリの動作環境の安定性を向上させることができる。
【選択図】図2
特許請求の範囲
【請求項1】
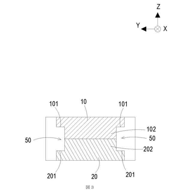
第1コアと、第2コアと、少なくとも1つのコイル装置と、少なくとも1つの弾性装置とを含む磁気アセンブリであって、
前記第1コアは第1溝面を含み、
前記第2コアは第2溝面を含み、前記第2コアと前記第1コアは互いに対応して接続されて収容空間を形成し、
前記少なくとも1つのコイル装置は、前記収容空間内に配置され、第1コイル装置面と第2コイル装置面とを含み、前記第1コイル装置面と前記第2コイル装置面は、前記コイル装置の対向する両側に位置し、前記第1コイル装置面は前記第1溝面と空間的に対向し、前記第2コイル装置面は前記第2溝面と空間的に対向し、
前記少なくとも1つの弾性装置は、前記収容空間内に配置され、前記第1コイル装置面または/及び前記第2コイル装置面によって圧縮されて前記第1溝面と前記第2溝面との間に押圧される、
磁気アセンブリ。
続きを表示(約 1,200 文字)
【請求項2】
前記少なくとも1つのコイル装置は巻枠と巻線とを含み、前記巻線は前記巻枠に巻き付けられ、前記巻枠の巻枠上面及び/または巻枠下面は、前記少なくとも1つの弾性装置と接触している、請求項1に記載の磁気アセンブリ。
【請求項3】
前記少なくとも1つのコイル装置はプリント基板と巻線とを含み、前記巻線は前記プリント基板に埋め込まれ、前記プリント基板のプリント基板上面及び/またはプリント基板下面は、前記少なくとも1つの弾性装置と接触している、請求項1に記載の磁気アセンブリ。
【請求項4】
前記少なくとも1つの弾性装置は複合材料から構成され、前記複合材料は層状に積み重ねられる、請求項1に記載の磁気アセンブリ。
【請求項5】
前記第1コア、前記少なくとも1つのコイル装置、前記少なくとも1つの弾性装置、及び前記第2コアは、第1方向に沿って積み重ねられ、前記少なくとも1つの弾性装置は弾性部材を含み、前記第1コア、前記少なくとも1つのコイル装置、及び前記第2コアによって前記第1方向に沿って押圧されることで、前記少なくとも1つの弾性装置の前記第1方向における厚さは、少なくとも50%以上圧縮される、請求項1に記載の磁気アセンブリ。
【請求項6】
前記少なくとも1つの弾性装置は磁束ガイド構造を含み、前記磁束ガイド構造の表面は、前記第1コイル装置面または/及び前記第2コイル装置面と接触しており、前記磁気伝導性部材はナノサイズの結晶を有する鉄心で構成される、請求項1に記載の磁気アセンブリ。
【請求項7】
前記少なくとも1つの弾性装置は遮蔽構造を含み、前記遮蔽構造の表面は、前記少なくとも1つのコイル装置の前記第1コイル装置面及び/または前記第2コイル装置面と接触しており、前記遮蔽構造は、酸化アルミニウム、酸化ケイ素、酸化マグネシウム及びそれらの組み合わせからなる群から選択される、請求項1に記載の磁気アセンブリ。
【請求項8】
前記第1コアは第1側柱を含み、前記第2コアは第2側柱を含み、前記第1側柱と前記第2側柱は互いに対応して配置され、第1側柱体と第2側柱体を構成し、前記第1溝面は前記第1側柱に接続され、前記第2溝面は前記第2側柱に接続される、請求項1に記載の磁気アセンブリ。
【請求項9】
前記磁気アセンブリは前記第1側柱体と前記第2側柱体とを含み、前記第1側柱体と前記第2側柱体との間に、それぞれ第1開口部と第2開口部が設けられ、前記第1開口部と前記第2開口部は反対側に配置される、請求項8に記載の磁気アセンブリ。
【請求項10】
前記少なくとも1つの弾性装置は、少なくとも1つの弾性装置突出部を含み、前記第1側柱体及び前記第2側柱体は、少なくとも1つの側柱体溝を含み、前記少なくとも1つの弾性装置突出部と前記少なくとも1つの側柱体溝は、互いに係合している、請求項8に記載の磁気アセンブリ。
(【請求項11】以降は省略されています)
発明の詳細な説明
【技術分野】
【0001】
本発明は、磁気アセンブリに関し、特に弾性装置を押圧配置することによりノイズを効果的に低減し、動作性能を向上させる磁気アセンブリに関するものである。
続きを表示(約 1,800 文字)
【背景技術】
【0002】
科学技術の継続的な進歩に伴い、電子製品はますます私たちの生活に溶け込んでいる。薄型、軽量、高効率のトレンドにより、これまでにない需要と感覚体験が生まれた。磁気アセンブリは電子製品の重要な部品の1つであり、磁気アセンブリの体積を小さくすると、限られたスペースでの配置と統合が容易になる。消費者市場における高出力需要により、複数の小型磁気アセンブリがより近くに配置されるようになり、それらの間の磁束干渉が増加し、熱とノイズが蓄積され、増幅されやすくなる。各磁気アセンブリを安定した動作環境に維持し、その寿命を延ばすための技術はますます厳しくなっている。
【0003】
現在、磁気アセンブリの振動による異音の問題を解決するために、磁気アセンブリ内に軟質接着剤を充填する技術が一般的に使用されているが、これは軽い振動のごく一部しか吸収できず、振動によって発生したノイズの大部分は依然として軟質接着剤を通じて外部に伝達される。組み立て時の押圧力を利用して、軟質接着剤を充填エリアに拡散させるものであり、大量生産の場合、拡散方向の制御が容易でないため、局所的に接着剤が充填不足したり、厚さが不均一になったりしやすく、完成品の均一性に直接影響する。なお、軟質接着剤は環境要因により劣化しやすく、期待される効能に影響を及ぼすことがある。
【0004】
これに鑑み、ノイズ低減機構の設計及び組み立てを通じて、従来技術の欠点を解決できる磁気アセンブリをどのように提供するかが、解決すべき緊急の課題となっている。
【発明の概要】
【発明が解決しようとする課題】
【0005】
本発明の目的は、弾性装置の設計及び組み立てを通じて、ノイズを低減する磁気アセンブリを提供することである。弾性装置は柔らかい弾性部材であり、磁気アセンブリが動作すると、発生した振動波が柔らかい弾性部材によって吸収され、これにより、ノイズの伝達が低減される。弾性装置は磁気アセンブリの組み立て工程中に圧縮され、弾性装置の厚さと密度は実際の需要に応じて調整できる。
【0006】
本発明は別の目的は、弾性装置の設計及び組み立てを通じて、磁気誘導性能を向上させる磁気アセンブリを提供することである。弾性装置は層状に積み重ねられた異なる材質で構成されることにより、材質特性を利用して磁束干渉を遮断し、磁束導く性を向上させ、磁気アセンブリが安定した動作環境で動作し、磁気アセンブリの寿命を延ばすことができる。
【0007】
本発明のまた別の目的は、弾性装置の設計及び組み立てを通じて、製造工程を簡素化する磁気アセンブリを提供することである。弾性装置は層状複合材料を積層一体化して形成されることにより、磁気アセンブリの製造工程を削減し、製品の歩留まりと一貫性を向上させる。
【課題を解決するための手段】
【0008】
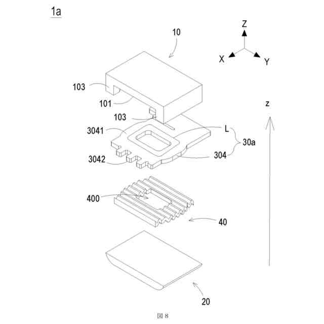
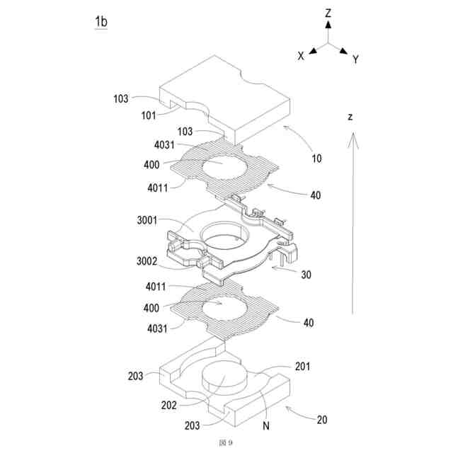
上記の目的を達成するために、本発明は、第1コアと、第2コアと、少なくとも1つのコイル装置と、少なくとも1つの弾性装置とを含む磁気アセンブリを提供する。第1コアは第1溝面を含み、第2コアは第2溝面を含み、第1コアと第2コアは互いに対応して接続されて収容空間を形成する。少なくとも1つのコイル装置は、収容空間内に配置され、第1コイル装置面と第2コイル装置面とを含み、第1コイル装置面と第2コイル装置面は、コイル装置の対向する両側に位置し、第1コイル装置面は第1溝面と空間的に対向し、第2コイル装置面は第2溝面と空間的に対向している。少なくとも1つの弾性装置は、収容空間内に配置され、第1コイル装置面または/及び第2コイル装置面によって圧縮されて第1溝面と第2溝面との間に押圧される。
【0009】
任意選択で、コイル装置は巻枠と巻線とを含み、巻線は巻枠に巻き付けられ、巻枠の巻枠上面及び/または巻枠下面は、少なくとも1つの弾性装置と接触している。
【0010】
任意選択で、コイル装置はプリント基板と巻線とを含み、巻線はプリント基板に埋め込まれ、プリント基板のプリント基板上面及び/またはプリント基板下面は、少なくとも1つの弾性装置と接触している。
(【0011】以降は省略されています)
この特許をJ-PlatPat(特許庁公式サイト)で参照する
関連特許
マクセル株式会社
電源装置
12日前
株式会社東芝
端子台
12日前
株式会社GSユアサ
蓄電装置
5日前
日本特殊陶業株式会社
保持装置
4日前
甲神電機株式会社
変流器及び零相変流器
6日前
日本無線株式会社
レーダアンテナ
6日前
株式会社デンソー
熱交換部材
6日前
富士電機株式会社
半導体モジュール
7日前
日本航空電子工業株式会社
コネクタ
4日前
クレザス株式会社
半導体装置の製造方法
5日前
矢崎総業株式会社
接続構造
7日前
株式会社レゾナック
ヒートシンク
4日前
京セラ株式会社
積層セラミック電子部品
5日前
矢崎総業株式会社
コネクタ
6日前
矢崎総業株式会社
コネクタ
6日前
FDK株式会社
組電池及びその作製方法
1日前
株式会社村田製作所
インダクタ部品
4日前
日産自動車株式会社
電池モジュール
12日前
TDK株式会社
アンテナモジュール
12日前
テラル株式会社
磁場発生装置
4日前
株式会社村田製作所
インダクタ部品
4日前
矢崎総業株式会社
通信ケーブル
4日前
キオクシア株式会社
半導体装置
5日前
古河電池株式会社
双極型蓄電池
12日前
株式会社アイシン
ヒートシンク
4日前
FDK株式会社
電池
12日前
古河電池株式会社
双極型鉛蓄電池
12日前
日産自動車株式会社
電池モジュール
5日前
トヨタバッテリー株式会社
二次電池
4日前
下西技研工業株式会社
吸着台座
12日前
矢崎総業株式会社
レバー式コネクタ
7日前
株式会社村田製作所
インダクタ部品
4日前
株式会社AESCジャパン
電池モジュール
5日前
トヨタ自動車株式会社
車両
5日前
株式会社村田製作所
インダクタ部品
4日前
株式会社村田製作所
インダクタ部品
4日前
続きを見る
他の特許を見る