TOP
|
特許
|
意匠
|
商標
特許ウォッチ
Twitter
他の特許を見る
10個以上の画像は省略されています。
公開番号
2025164678
公報種別
公開特許公報(A)
公開日
2025-10-30
出願番号
2024227166
出願日
2024-12-24
発明の名称
吸着台座
出願人
下西技研工業株式会社
代理人
弁理士法人ブライタス
主分類
H01F
7/02 20060101AFI20251023BHJP(基本的電気素子)
要約
【課題】強力な磁石を用いる場合でも取り外しが容易な吸着台座を提供する。
【解決手段】吸着台座11は、厚み方向における一方側に支持対象物1を支持できるように構成された板状部材50と、板状部材50の厚み方向における他方側に設けられた一対の磁石部52と、板状部材50の厚み方向における他方側に設けられた一対の支持部54とを備える。第1方向D1において、一対の磁石部52は中心線Lbよりも一方側に設けられ、一対の支持部54は中心線Lbよりも他方側に設けられる。磁石部52の吸着面52aおよび支持部54の支持面54aはそれぞれ、第2方向D2において中心線La側ほど、板状部材50の厚み方向における板状部材50との距離が近くなるように板状部材50に対して傾斜している。
【選択図】 図3
特許請求の範囲
【請求項1】
断面が円弧状に湾曲する曲面に取り付け可能な吸着台座であって、
厚み方向における一方側に対象物を保持できるように構成された板状部材と、
前記板状部材の前記厚み方向における他方側に設けられた一対の磁石部と、
前記板状部材の前記厚み方向における他方側に設けられた一対の支持部と、を備え、
前記一対の支持部は、永久磁石を除く磁性材料または非磁性材料からなり、
前記厚み方向に直交する第1方向において、前記一対の磁石部は、前記厚み方向と前記第1方向とに直交する第2方向に延びる前記板状部材の第1中心線よりも一方側に設けられ、前記一対の支持部は前記第1中心線よりも他方側に設けられ、
前記第2方向において、一方の前記磁石部および一方の前記支持部は、前記第1方向に延びる前記板状部材の第2中心線よりも一方側に設けられ、他方の前記磁石部および他方の前記支持部は、前記第2中心線よりも他方側に設けられ、
前記一対の磁石部はそれぞれ、当該吸着台座を前記曲面に取り付けた際に前記曲面に対向する吸着面を有し、
前記一対の支持部はそれぞれ、当該吸着台座を前記曲面に取り付けた際に前記曲面に対向する支持面を有し、
前記吸着面および前記支持面はそれぞれ、前記第1方向において前記第1中心線側ほど、前記厚み方向における前記板状部材との距離が近くなるように若しくは遠くなるように前記板状部材に対して傾斜している、または前記第2方向において前記第2中心線側ほど、前記厚み方向における前記板状部材との距離が近くなるように若しくは遠くなるように前記板状部材に対して傾斜している、吸着台座。
続きを表示(約 950 文字)
【請求項2】
前記一対の磁石部はそれぞれ、希土類磁石を含む、請求項1に記載の吸着台座。
【請求項3】
前記第1方向において前記第1中心線よりも他方側に設けられ、作業者が前記板状部材を前記厚み方向における一方側へ引っ張り可能な引張部、を備える、請求項1に記載の吸着台座。
【請求項4】
前記引張部は、前記作業者が把持できる把持部であり、前記把持部の少なくとも一部は、前記第1方向において前記第1中心線よりも他方側に設けられる、請求項3に記載の吸着台座。
【請求項5】
前記一対の磁石部はそれぞれ複数の磁石を含み、
前記磁石部の各磁石は、前記厚み方向における一方側および他方側にそれぞれ磁極面を有し、
前記磁石部において、隣り合う前記磁石の磁極面が互いに異極となる、請求項1に記載の吸着台座。
【請求項6】
前記一対の磁石部は、前記第2中心線を対象軸として線対称となるように配置され、
前記一対の支持部は、前記第2中心線を対象軸として線対称となるように配置される、請求項1に記載の吸着台座。
【請求項7】
前記一対の磁石部はそれぞれ、磁石と、前記厚み方向における前記磁石の一方側または他方側に設けられるヨークとを備え、
各磁石部において、前記磁石および前記ヨークのうちの一方は、前記第1方向において前記第1中心線側ほど前記厚み方向における寸法が小さい若しくは大きい、または前記第2方向において前記第2中心線側ほど前記厚み方向における寸法が小さい若しくは大きい、請求項1に記載の吸着台座。
【請求項8】
前記一対の磁石部および前記一対の支持部は、シリコンゴムからなるシートで覆われている、請求項1に記載の吸着台座。
【請求項9】
前記第2方向における前記板状部材の両縁部は、前記第1方向から見てL字状に屈曲するように曲げ加工されている、請求項1に記載の吸着台座。
【請求項10】
前記吸着面および前記支持面の前記板状部材に対する傾きを変更できるように、前記磁石部および前記支持部が前記板状部材に支持されている、請求項1に記載の吸着台座。
発明の詳細な説明
【技術分野】
【0001】
本発明は、永久磁石の磁力によって対象物に吸着する吸着台座に関する。
続きを表示(約 2,400 文字)
【背景技術】
【0002】
近年、鉄製壁面に、磁力を利用して物体を固定する方法が様々な市場で活用されている。身近な例としては、キッチンや浴室の壁面に固定される収納棚がある。また、看板、展示品、電子機器などを鉄製壁面に一時的に設置する場合にも、磁力を利用した固定方法が活用されている。
【0003】
磁力を利用した物体の固定方法として、例えば、特許文献1に開示された技術を利用することが考えられる。特許文献1に開示された器具の取付構造では、取付面に取り付けられる支持部の中央部に磁石が埋め込まれるとともに、支持部の裏面側(取付面に取り付けられる側)に、表面の摩擦係数を大きくできる弾性体によって吸着部が形成されている。特許文献1には、このような構成により、器具を取付面にしっかり取り付けることができるとともに、器具の取り外しが容易になることが記載されている。
【先行技術文献】
【特許文献】
【0004】
特開平9-187394号公報
【発明の概要】
【発明が解決しようとする課題】
【0005】
特許文献1に開示された取付構造を利用して、重量の大きい器具を取付面(壁面)に固定する場合には、強力な磁石を支持部に埋め込むことが考えらえられる。しかしながら、特許文献1のように支持部の中央部に磁石を設ける構成では、強力な磁石を利用した場合に、その磁力によって、支持部を取付面から簡単に取り外すことができなくなる。
【0006】
そこで、本発明は、強力な磁石を用いる場合でも取り外しが容易な吸着台座を提供することを目的とする。
【課題を解決するための手段】
【0007】
本発明の一側面における吸着台座は、
断面が円弧状に湾曲する曲面に取り付け可能な吸着台座であって、
厚み方向における一方側に対象物を保持できるように構成された板状部材と、
前記板状部材の前記厚み方向における他方側に設けられた一対の磁石部と、
前記板状部材の前記厚み方向における他方側に設けられた一対の支持部と、を備え、
前記一対の支持部は、永久磁石を除く磁性材料または非磁性材料からなり、
前記厚み方向に直交する第1方向において、前記一対の磁石部は、前記厚み方向と前記第1方向とに直交する第2方向に延びる前記板状部材の第1中心線よりも一方側に設けられ、前記一対の支持部は前記第1中心線よりも他方側に設けられ、
前記第2方向において、一方の前記磁石部および一方の前記支持部は、前記第1方向に延びる前記板状部材の第2中心線よりも一方側に設けられ、他方の前記磁石部および他方の前記支持部は、前記第2中心線よりも他方側に設けられ、
前記一対の磁石部はそれぞれ、当該吸着台座を前記曲面に取り付けた際に前記曲面に対向する吸着面を有し、
前記一対の支持部はそれぞれ、当該吸着台座を前記曲面に取り付けた際に前記曲面に対向する支持面を有し、
前記吸着面および前記支持面はそれぞれ、前記第1方向において前記第1中心線側ほど、前記厚み方向における前記板状部材との距離が近くなるように若しくは遠くなるように前記板状部材に対して傾斜している、または前記第2方向において前記第2中心線側ほど、前記厚み方向における前記板状部材との距離が近くなるように若しくは遠くなるように前記板状部材に対して傾斜している、ことを特徴とする。
【発明の効果】
【0008】
本発明によれば、強力な磁石を用いる場合でも取り外しが容易な吸着台座が得られる。
【図面の簡単な説明】
【0009】
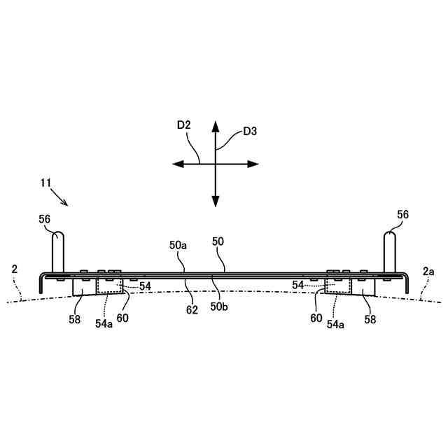
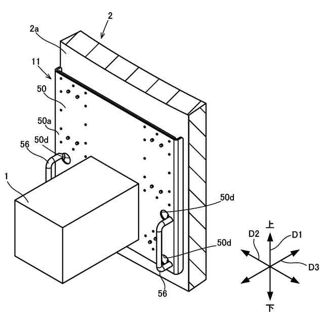
図1は、本発明の実施の形態に係る吸着台座の使用例を示す斜視図である。
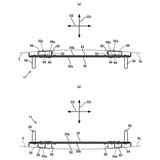
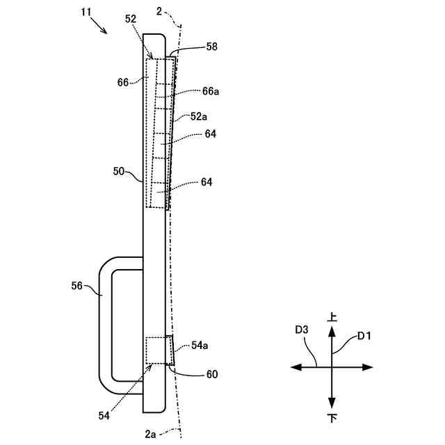
図2は、吸着台座の正面図である。
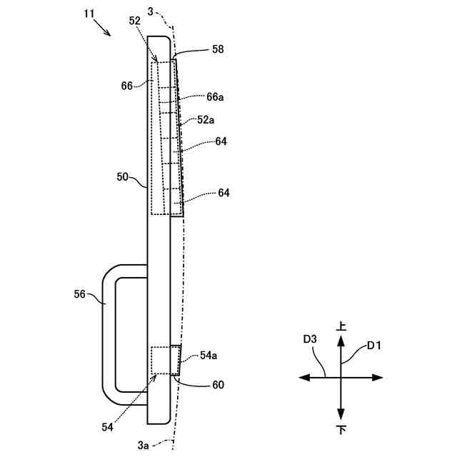
図3は、吸着台座の背面図である。
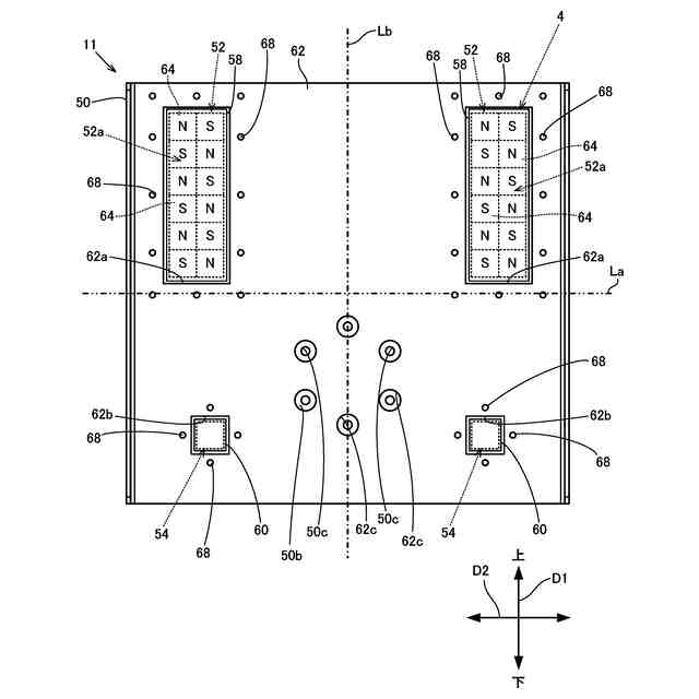
図4は、吸着台座の平面図である。
図5は、吸着台座の底面図である。
図6は、吸着台座の分解斜視図である。
図7は、変形例に係る吸着台座を示す側面図である。
図8は、変形例に係る吸着台座を示す図である。
図9は、変形例に係る吸着台座を示す側面図である。
図10は、変形例に係る吸着台座を示す概略図である。
図11は、変形例に係る吸着台座を示す概略図である。
図12は、変形例に係る吸着台座を示す概略図である。
図13は、参考例に係る吸着台座の使用例を示す斜視図である。
図14は、参考例に係る吸着台座の正面図である。
図15は、参考例に係る吸着台座の背面図である。
図16は、参考例に係る吸着台座の平面図である。
図17は、参考例に係る吸着台座の底面図である。
図18は、磁石の吸着力の測定方法を説明するための図である。
図19は、他の参考例に係る吸着台座を示す背面図である。
図20は、他の参考例に係る吸着台座を示す背面図である。
図21は、他の参考例に係る吸着台座を示す概略図である。
図22は、他の参考例に係る吸着台座を示す概略図である。
図23は、他の参考例に係る吸着台座を示す概略図である。
【発明を実施するための形態】
【0010】
以下、本発明の実施の形態に係る吸着台座について図面を参照しつつ説明する。図1は、本発明の一実施形態に係る吸着台座の使用例を示す斜視図である。なお、図1には、互いに直交する第1方向D1、第2方向D2および第3方向D3を示している。後述する各図においても、第1方向D1、第2方向D2および第3方向D3を適宜示している。本実施形態では、第1方向D1が、吸着台座11を使用する際の上下方向に対応する。
(【0011】以降は省略されています)
この特許をJ-PlatPat(特許庁公式サイト)で参照する
関連特許
下西技研工業株式会社
吸着台座
1か月前
下西技研工業株式会社
永電磁吸着装置
1か月前
東ソー株式会社
絶縁電線
1か月前
APB株式会社
蓄電セル
1か月前
日機装株式会社
加圧装置
3日前
マクセル株式会社
電源装置
1か月前
株式会社東芝
端子台
1か月前
日新イオン機器株式会社
イオン源
3日前
ローム株式会社
半導体装置
1か月前
株式会社GSユアサ
蓄電装置
1か月前
株式会社ホロン
冷陰極電子源
1か月前
三菱電機株式会社
回路遮断器
26日前
株式会社GSユアサ
蓄電装置
1か月前
株式会社GSユアサ
蓄電装置
1か月前
富士電機株式会社
電磁接触器
18日前
株式会社GSユアサ
蓄電装置
18日前
株式会社東芝
電子源
3日前
トヨタ自動車株式会社
蓄電装置
1か月前
大電株式会社
電線又はケーブル
10日前
トヨタ自動車株式会社
蓄電装置
10日前
トヨタ自動車株式会社
バッテリ
1か月前
日本特殊陶業株式会社
保持装置
1か月前
ホシデン株式会社
複合コネクタ
12日前
個人
電源ボックス及び電子機器
3日前
日新イオン機器株式会社
基板処理装置
1か月前
株式会社トクミ
ケーブル
4日前
トヨタ自動車株式会社
冷却構造
1か月前
日本特殊陶業株式会社
保持装置
1か月前
北道電設株式会社
配電具カバー
1か月前
ローム株式会社
半導体装置
1か月前
株式会社デンソー
電子装置
1か月前
日亜化学工業株式会社
半導体レーザ素子
1か月前
トヨタ自動車株式会社
密閉型電池
1か月前
ローム株式会社
半導体モジュール
19日前
日本無線株式会社
レーダアンテナ
1か月前
矢崎総業株式会社
コネクタ
18日前
続きを見る
他の特許を見る