TOP
|
特許
|
意匠
|
商標
特許ウォッチ
Twitter
他の特許を見る
10個以上の画像は省略されています。
公開番号
2025153944
公報種別
公開特許公報(A)
公開日
2025-10-10
出願番号
2024056678
出願日
2024-03-29
発明の名称
永電磁吸着装置
出願人
下西技研工業株式会社
代理人
弁理士法人ブライタス
主分類
H01F
7/20 20060101AFI20251002BHJP(基本的電気素子)
要約
【課題】簡単な構成で吸着対象物内における磁束の到達距離を調整することができる永電磁吸着装置を提供する。
【解決手段】永電磁吸着装置10は、コイル20、コイル20への通電方向によって軸方向Xに沿う第1方向または第2方向に磁化される第1磁石22、および磁化方向が固定された第2磁石24を含む磁力発生部12と、磁力発生部12を収容し、かつ吸着対象物100に吸着する吸着面14aを有するヨーク部14と、を備える。吸着面14aは、第1磁石22の磁化方向によって、吸着対象物に吸着する状態と、吸着対象物に吸着しない状態とに切り替えられる。ヨーク部14は、吸着面14aから窪むように設けられた、吸着面14aの面積を調整するための凹部46bを有する。
【選択図】 図8
特許請求の範囲
【請求項1】
コイル、前記コイルへの通電方向によって前記コイルの軸方向に沿う第1方向または前記第1方向とは反対の第2方向に磁化される第1磁石、および磁化方向が固定された第2磁石を含む磁力発生部と、
前記磁力発生部を収容し、かつ吸着対象物に吸着する吸着面を有するヨーク部と、を備え、
前記吸着面は、前記第1磁石の磁化方向によって、前記吸着対象物に吸着する状態と、前記吸着対象物に吸着しない状態とに切り替えられ、
前記ヨーク部は、前記吸着面から窪むように設けられた、前記吸着面の面積を調整するための凹部を有する、永電磁吸着装置。
続きを表示(約 1,100 文字)
【請求項2】
前記ヨーク部は、前記吸着対象物に吸着する第1吸着面を有する第1ヨーク部材を含むヨーク本体部と、前記第1ヨーク部材とは別部材でありかつ前記吸着対象物に吸着する第2吸着面を有する第2ヨーク部材とを有し、
前記凹部は、前記第2ヨーク部材に設けられている、請求項1に記載の永電磁吸着装置。
【請求項3】
前記ヨーク本体部に対して、大きさが互いに異なる凹部を有する複数の前記第2ヨーク部材を選択的に固定できるように構成されている、請求項2に記載の永電磁吸着装置。
【請求項4】
前記第2ヨーク部材は、着脱可能に前記ヨーク本体部に対して固定されている、請求項2または3に記載の永電磁吸着装置。
【請求項5】
前記凹部の大きさが調整可能である、請求項1または2に記載の永電磁吸着装置。
【請求項6】
前記第2磁石を囲むように前記ヨーク部内に設けられた筒状の非磁性部を備え、
前記非磁性部は、前記吸着面まで延びるように設けられ、
前記第1吸着面と前記第2吸着面とが前記非磁性部によって離隔されるように前記第2ヨーク部材は前記非磁性部の内側に設けられる、請求項2または3に記載の永電磁吸着装置。
【請求項7】
前記第2磁石は、筒形状を有し、前記軸方向から見て前記第1磁石の外側に設けられ、かつ前記軸方向に沿う方向に磁化されており、
前記第1磁石および前記第2磁石は、前記コイルと同軸状に設けられ、
前記吸着面は、前記軸方向において前記第1磁石および前記第2磁石の一方側に設けられ、
前記軸方向から見て、前記凹部は前記コイルの軸心上に位置付けられている、請求項1または2に記載の永電磁吸着装置。
【請求項8】
互いに前記コイルの径方向に隣り合うように設けられた複数の前記磁力発生部を備え、
前記ヨーク部は、前記複数の磁力発生部を収容し、かつ前記複数の磁力発生部に対応して設けられた複数の前記凹部を有する、請求項1に記載の永電磁吸着装置。
【請求項9】
前記ヨーク部は、前記吸着対象物に吸着する第1吸着面を有する第1ヨーク部材を含むヨーク本体部と、それぞれ前記第1ヨーク部材とは別部材でありかつ前記吸着対象物に吸着する第2吸着面を有する複数の第2ヨーク部材とを有し、
前記複数の第2ヨーク部材は、前記複数の磁力発生部に対応して設けられ、
前記複数の第2ヨーク部材にそれぞれ前記凹部が設けられている、請求項8に記載の永電磁吸着装置。
発明の詳細な説明
【技術分野】
【0001】
本発明は、永久磁石の磁力によって対象物を吸着する状態と、対象物を吸着しない状態とに切り替え可能な永電磁吸着装置に関する。
続きを表示(約 1,700 文字)
【背景技術】
【0002】
従来、製鉄所および鋼材加工工場等において、鋼板を吊り下げて搬送するために、鋼板を吸着する装置が用いられている。例えば、特許文献1に開示された吊り上げ装置は、入れ子状に配置された複数の電磁石コイルを備えている。複数の電磁石コイルは、最内層側の電磁石コイルの最大磁束量が、最外層側の電磁石コイルの最大磁束量よりも小さくなるように配置されている。
【0003】
特許文献1には、上記の構成を有する吊り上げ装置によれば、電磁石コイルを選択的に使用し、若しくは適宜組み合わせて使用することができるため、鋼板の吊り上げ枚数に応じて磁束浸透深さを高精度に制御することができると記載されている。また、特許文献1には、電磁石コイルの印可電圧を制御することにより、鋼板を吊り上げる際の吊り枚数制御を高精度に行うことができると記載されている。
【先行技術文献】
【特許文献】
【0004】
特許第7287479号公報
【発明の概要】
【発明が解決しようとする課題】
【0005】
特許文献1に記載されているように、電磁石コイルを選択的に使用したり、電磁石コイルの印可電圧を制御したりすることにより、鋼板の吊り枚数を制御することが可能であると考えられる。一方で、より簡単な構成で、鋼板の吊り枚数を調整することが望まれている。
【0006】
そこで、本発明は、簡単な構成で吸着対象物内における磁束の到達距離を調整することができる永電磁吸着装置を提供することを目的とする。
【課題を解決するための手段】
【0007】
本発明の一側面における永電磁吸着装置は、
コイル、前記コイルへの通電方向によって前記コイルの軸方向に沿う第1方向または前記第1方向とは反対の第2方向に磁化される第1磁石、および磁化方向が固定された第2磁石を含む磁力発生部と、
前記磁力発生部を収容し、かつ吸着対象物に吸着する吸着面を有するヨーク部と、を備え、
前記吸着面は、前記第1磁石の磁化方向によって、前記吸着対象物に吸着する状態と、前記吸着対象物に吸着しない状態とに切り替えられ、
前記ヨーク部は、前記吸着面から窪むように設けられた、前記吸着面の面積を調整するための凹部を有する、ことを特徴とする。
【発明の効果】
【0008】
本発明によれば、簡単な構成で吸着対象物内における磁束の到達距離を調整することができる永電磁吸着装置が得られる。
【図面の簡単な説明】
【0009】
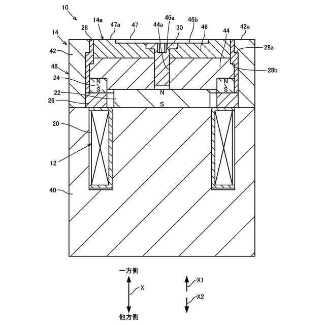
図1は、本発明の実施の形態に係る永電磁吸着装置を示す斜視図である。
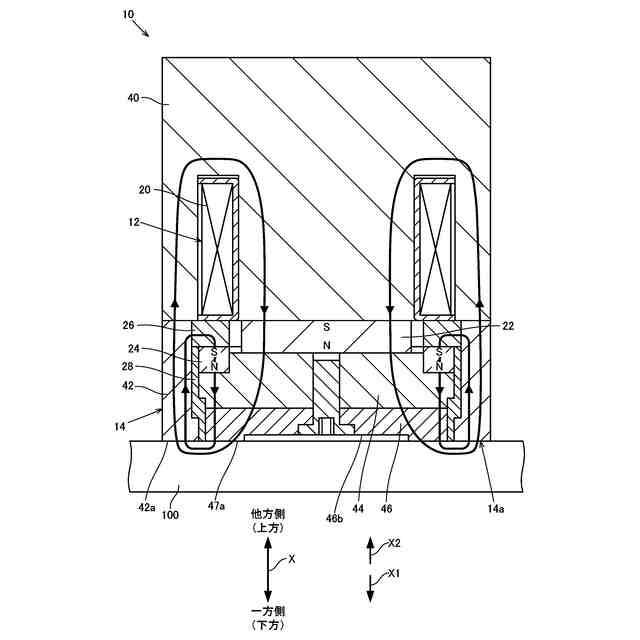
図2は、永電磁吸着装置を軸方向における一方側から見た図である。
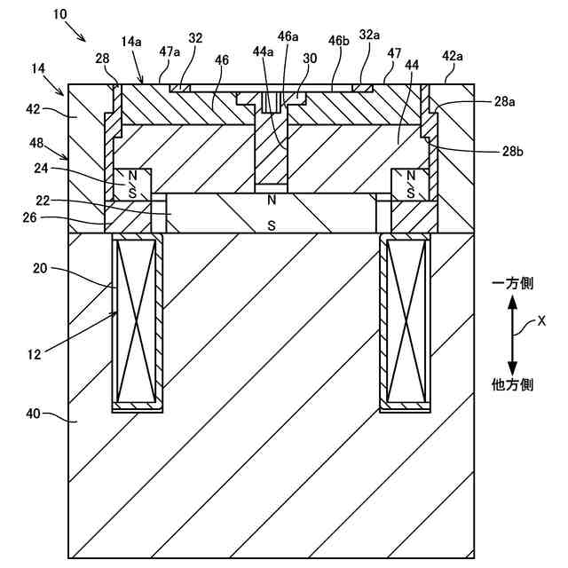
図3は、図2のA-A部分を示す概略断面図である。
図4は、吸着面が吸着対象物に吸着する状態のときの永電磁吸着装置を示す図である。
図5は、吸着面が吸着対象物に吸着しない状態のときの永電磁吸着装置を示す図である。
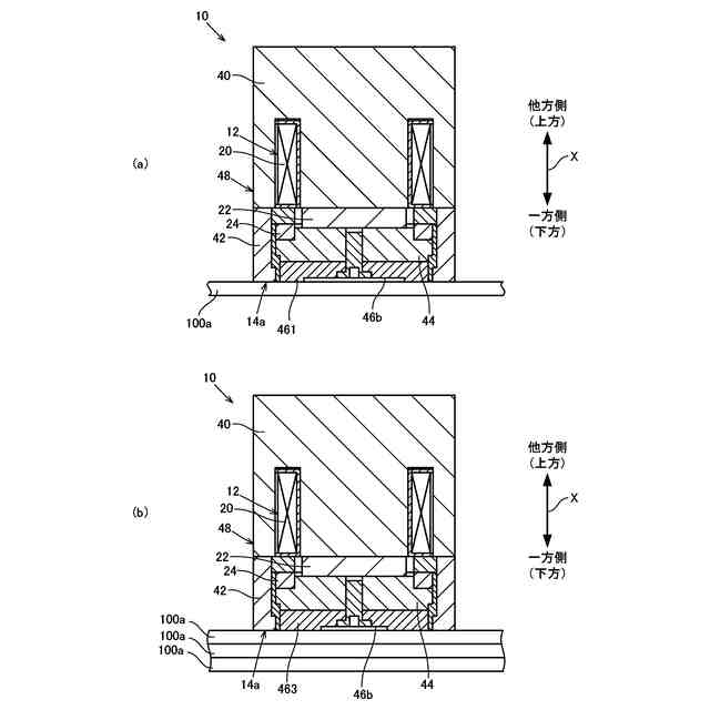
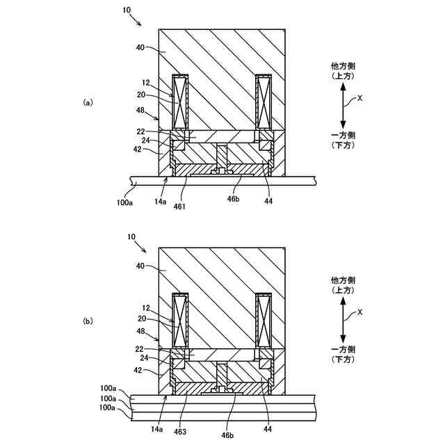
図6は、凹部の大きさと、吸着対象物内における磁束の到達距離との関係を示す概念図である。
図7は、ヨーク本体部と複数の第2ヨーク部材とを示す図である。
図8は、永電磁吸着装置によって、吸着対象物として鋼板を吊り下げる場合を示した概略図である。
図9は、吸着面の面積の調整方法の他の例を示す図である。
図10は、永電磁吸着装置の変形例を示す図である。
図11は、複数の磁力発生部を備えた永電磁吸着装置の一例を示す斜視図である。
図12は、図11の永電磁吸着装置を軸方向Xにおける一方側から見た図である。
図13は、図12のB-B部分を示す概略断面図である。
【発明を実施するための形態】
【0010】
以下、本発明の実施の形態に係る永電磁吸着装置について図面を参照しつつ説明する。
(【0011】以降は省略されています)
この特許をJ-PlatPat(特許庁公式サイト)で参照する
関連特許
下西技研工業株式会社
吸着台座
1か月前
APB株式会社
蓄電セル
1か月前
東ソー株式会社
絶縁電線
1か月前
日機装株式会社
加圧装置
4日前
株式会社東芝
端子台
1か月前
ローム株式会社
半導体装置
1か月前
日新イオン機器株式会社
イオン源
4日前
マクセル株式会社
電源装置
1か月前
株式会社GSユアサ
蓄電装置
19日前
株式会社GSユアサ
蓄電装置
1か月前
株式会社ホロン
冷陰極電子源
1か月前
富士電機株式会社
電磁接触器
19日前
株式会社GSユアサ
蓄電装置
1か月前
三菱電機株式会社
回路遮断器
27日前
株式会社GSユアサ
蓄電装置
1か月前
日本特殊陶業株式会社
保持装置
1か月前
日新イオン機器株式会社
基板処理装置
1か月前
ホシデン株式会社
複合コネクタ
13日前
トヨタ自動車株式会社
バッテリ
1か月前
日本特殊陶業株式会社
保持装置
1か月前
トヨタ自動車株式会社
蓄電装置
11日前
北道電設株式会社
配電具カバー
1か月前
株式会社トクミ
ケーブル
5日前
トヨタ自動車株式会社
冷却構造
1か月前
トヨタ自動車株式会社
蓄電装置
1か月前
大電株式会社
電線又はケーブル
11日前
個人
電源ボックス及び電子機器
4日前
株式会社東芝
電子源
4日前
ローム株式会社
半導体モジュール
20日前
トヨタ自動車株式会社
電池パック
1か月前
日亜化学工業株式会社
半導体レーザ素子
1か月前
株式会社トクヤマ
シリコンエッチング液
1か月前
株式会社トクヤマ
シリコンエッチング液
1か月前
矢崎総業株式会社
コネクタ
19日前
日本無線株式会社
レーダアンテナ
1か月前
トヨタ自動車株式会社
電池パック
1か月前
続きを見る
他の特許を見る