TOP
|
特許
|
意匠
|
商標
特許ウォッチ
Twitter
他の特許を見る
10個以上の画像は省略されています。
公開番号
2025169168
公報種別
公開特許公報(A)
公開日
2025-11-12
出願番号
2025061820
出願日
2025-04-03
発明の名称
電力変換システム
出願人
台達電子工業股ふん有限公司
代理人
弁理士法人太陽国際特許事務所
主分類
H02M
3/28 20060101AFI20251105BHJP(電力の発電,変換,配電)
要約
【課題】電圧ステップ変化及び電圧極性変換機能を有する電力変換システムを提供する。
【解決手段】電力変換システムは、三相電源を受け、三相電源を直流電源に変換する三相交流-直流変換回路と、直流電源を受け、直流電源を変換してそれぞれ直流電圧、第1電圧及び第2電圧を生成する複数の直流-直流変換回路と、直流電圧、第1電圧及び第2電圧を受け、直流電圧に第1電圧を加算するか、又は直流電圧から第2電圧を減算して、ステップ変化直流電圧を供給する電圧ステップ変化回路と、ステップ変化直流電圧を受け、ステップ変化直流電圧の極性を変換して直流出力電圧を供給する電圧極性変換回路と、を含む。
【選択図】図1
特許請求の範囲
【請求項1】
三相電源を受け、前記三相電源を直流電源に変換する三相交流-直流変換回路と、
前記直流電源を受け、前記直流電源を変換してそれぞれ直流電圧、第1電圧及び第2電圧を生成する複数の直流-直流変換回路と、
前記直流電圧、前記第1電圧及び前記第2電圧を受け、前記直流電圧に前記第1電圧を加算するか、又は前記直流電圧から前記第2電圧を減算して、ステップ変化直流電圧を供給する電圧ステップ変化回路と、
前記ステップ変化直流電圧を受け、前記ステップ変化直流電圧の極性を変換して直流出力電圧を供給する電圧極性変換回路と、を含む、
電力変換システム。
続きを表示(約 2,500 文字)
【請求項2】
前記複数の直流-直流変換回路のいずれか一方は、
前記直流電源を受け、前記直流電源を絶縁直流電圧に変換する絶縁型直流-直流変換ユニットと、
前記絶縁直流電圧を受け、前記絶縁直流電圧を降圧電圧に変換するインターリーブ降圧変換ユニットと、
前記降圧電圧を受け、前記降圧電圧を前記直流電圧又は前記第1電圧又は前記第2電圧に変換するアクティブ線形フィルタユニットと、を含む、請求項1に記載の電力変換システム。
【請求項3】
前記アクティブ線形フィルタユニットは、
リップル成分を含む前記降圧電圧を受けるトランジスタと、
前記トランジスタに接続されたドライバと、
基準電圧及び前記アクティブ線形フィルタユニットの前記直流電圧又は前記第1電圧又は前記第2電圧を受け、前記基準電圧と前記直流電圧又は前記第1電圧又は前記第2電圧との間の誤差電圧を算出する加減算器と、
前記誤差電圧を受けてフィルタ制御信号を生成して前記ドライバを制御し、前記直流電圧又は前記第1電圧又は前記第2電圧が前記リップル成分を含まないように前記トランジスタを制御するための駆動信号を生成するコントローラと、を含む、請求項2に記載の電力変換システム。
【請求項4】
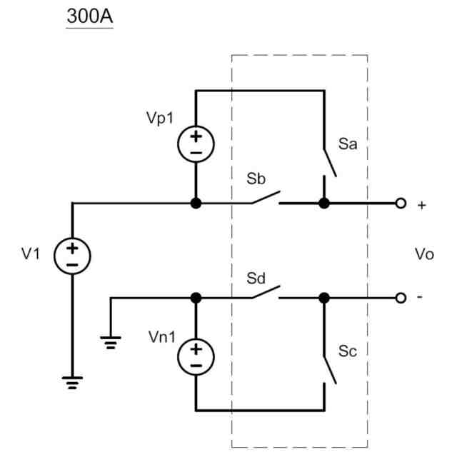
前記電圧ステップ変化回路は、
前記第1電圧に接続された第1スイッチ及び第2スイッチを備える第1スイッチ群と、
前記第2電圧に接続された第3スイッチ及び第4スイッチを備える第2スイッチ群と、を含み、
前記第1スイッチ及び前記第4スイッチがオンし、かつ前記第2スイッチ及び前記第3スイッチがオフするとき、前記ステップ変化直流電圧の大きさは、前記直流電圧に前記第1電圧を加えた値と等しく、前記第2スイッチ及び前記第3スイッチがオンし、かつ前記第1スイッチ及び前記第4スイッチがオフするとき、前記ステップ変化直流電圧の大きさは、前記直流電圧から前記第2電圧を減じた値と等しい、請求項1に記載の電力変換システム。
【請求項5】
前記第1スイッチの第1端子は、前記第1電圧の正極端子に接続され、前記第2スイッチの第1端子は、前記第1電圧の負極端子と前記直流電圧とに接続され、前記第1スイッチの第2端子は、前記第2スイッチの第2端子に接続されて、前記ステップ変化直流電圧の正電圧端子を供給し、
前記第3スイッチの第1端子は、前記第2電圧の負極端子に接続され、前記第4スイッチの第1端子は、前記第2電圧の正極端子と接地端子とに接続され、前記第3スイッチの第2端子は、前記第4スイッチの第2端子に接続され、前記ステップ変化直流電圧の負電圧端子を供給する、請求項4に記載の電力変換システム。
【請求項6】
前記電圧極性変換回路は、
直列に接続された第1上側スイッチング素子及び第1下側スイッチング素子を備える第1ブリッジアームと、
前記第1ブリッジアームに並列に接続され、直列に接続された第2上側スイッチング素子及び第2下側スイッチング素子を備える第2ブリッジアームと、を含み、
前記第1上側スイッチング素子及び前記第2下側スイッチング素子は同時にオン又はオフし、
前記第1下側スイッチング素子及び前記第2上側スイッチング素子は同時にオン又はオフする、請求項1に記載の電力変換システム。
【請求項7】
三相電源を受け、前記三相電源を直流電源に変換する三相交流-直流変換回路と、
前記直流電源を受け、前記直流電源を変換してそれぞれ直流電圧及び電圧を生成する複数の直流-直流変換回路と、
前記電圧を受け、前記電圧の極性を変換して調整電圧を供給する第2電圧極性変換回路と、
前記直流電圧及び前記調整電圧を受け、前記直流電圧に前記調整電圧を加算して、ステップ変化直流電圧を供給する電圧ステップ変化回路と、
前記ステップ変化直流電圧を受け、前記ステップ変化直流電圧の極性を変換して直流出力電圧を供給する第1電圧極性変換回路と、を含む、
電力変換システム。
【請求項8】
前記複数の直流-直流変換回路のいずれか一方は、
前記直流電源を受け、前記直流電源を絶縁直流電圧に変換する絶縁型直流-直流変換ユニットと、
前記絶縁直流電圧を受け、前記絶縁直流電圧を降圧電圧に変換するインターリーブ降圧変換ユニットと、
前記降圧電圧を受け、前記降圧電圧を前記直流電圧又は前記電圧に変換するアクティブ線形フィルタユニットと、を含む、請求項7に記載の電力変換システム。
【請求項9】
前記アクティブ線形フィルタユニットは、
リップル成分を含む前記降圧電圧を受けるトランジスタと、
前記トランジスタに接続されたドライバと、
基準電圧及び前記アクティブ線形フィルタユニットの前記直流電圧又は前記電圧を受け、前記基準電圧と前記直流電圧又は前記電圧との間の誤差電圧を算出する加減算器と、
前記誤差電圧を受けてフィルタ制御信号を生成して前記ドライバを制御し、前記直流電圧又は前記電圧が前記リップル成分を含まないように前記トランジスタを制御するための駆動信号を生成するコントローラと、を含む、請求項8に記載の電力変換システム。
【請求項10】
前記電圧ステップ変化回路は、第1スイッチ及び第2スイッチを備えるスイッチ群を含み、前記スイッチ群は前記調整電圧に接続される前記第1スイッチがオンし、かつ前記第2スイッチがオフするとき、前記ステップ変化直流電圧の大きさは、前記直流電圧に前記調整電圧を加えた値と等しく、前記第1スイッチがオフし、かつ前記第2スイッチがオンするとき、前記ステップ変化直流電圧の大きさは、前記直流電圧に等しい、請求項7に記載の電力変換システム。
(【請求項11】以降は省略されています)
発明の詳細な説明
【技術分野】
【0001】
本発明は、電力変換システムに関し、特に電圧ステップ変化及び電圧極性変換機能を有する電力変換システムに関する。
続きを表示(約 2,200 文字)
【背景技術】
【0002】
バイポーラ電圧を備えた電源は、半導体ウェハのめっきに必要かつ重要であり、リップル成分のない電源は、高品質のバイポーラ電圧を供給することが特に重要である。そのため、出力されたリップル成分が完全に除去されないと、ウェハ表面のめっきムラが発生する。さらに、出力動的応答が十分に速くなければ、電圧ステップ変化を実現することはできない。
【発明の概要】
【発明が解決しようとする課題】
【0003】
そこで、従来技術の問題点や技術的なボトルネックを解決するために、電圧ステップ変化及び電圧極性変換機能を有する電力変換システムをどのように設計するかは、本願発明者によって検討された重要な課題である。
【0004】
本発明は、上述のような課題を解決するためになされたものであり、電圧ステップ変化及び電圧極性変換機能を有する電力変換システムを提供することを目的とする。
【課題を解決するための手段】
【0005】
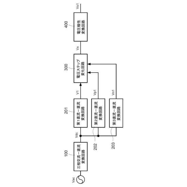
上記の目的を達成するために、本発明に係る電力変換システムは、三相電源を受け、前記三相電源を直流電源に変換する三相交流-直流変換回路と、前記直流電源を受け、前記直流電源を変換してそれぞれ直流電圧、第1電圧及び第2電圧を生成する複数の直流-直流変換回路と、前記直流電圧、前記第1電圧及び前記第2電圧を受け、前記直流電圧に前記第1電圧を加算するか、又は前記直流電圧から前記第2電圧を減算して、ステップ変化直流電圧を供給する電圧ステップ変化回路と、前記ステップ変化直流電圧を受け、前記ステップ変化直流電圧の極性を変換して直流出力電圧を供給する電圧極性変換回路と、を含む。
【0006】
上記の目的を達成するために、本発明に係る電力変換システムは、三相電源を受け、前記三相電源を直流電源に変換する三相交流-直流変換回路と、前記直流電源を受け、前記直流電源を変換してそれぞれ直流電圧及び電圧を生成する複数の直流-直流変換回路と、前記電圧を受け、前記電圧の極性を変換して調整電圧を供給する第2電圧極性変換回路と、前記直流電圧及び前記調整電圧を受け、前記直流電圧に前記調整電圧を加算して、ステップ変化直流電圧を供給する電圧ステップ変化回路と、前記ステップ変化直流電圧を受け、前記ステップ変化直流電圧の極性を変換して直流出力電圧を供給する第1電圧極性変換回路と、を含む。
【0007】
上記の目的を達成するために、本発明に係る電力変換システムは、三相電源を受け、前記三相電源を直流電源に変換する三相交流-直流変換回路と、前記直流電源を受け、前記直流電源を変換してそれぞれ直流電圧及び電圧を生成する複数の直流-直流変換回路と、前記直流電圧を受け、前記直流電圧の極性を変換して極性変換直流電圧を供給する第1電圧極性変換回路と、前記電圧を受け、前記電圧の極性を変換して調整電圧を供給する第2電圧極性変換回路と、前記極性変換直流電圧及び前記調整電圧を受け、前記極性変換直流電圧に前記調整電圧を加算して、直流出力電圧を供給する電圧ステップ変化回路と、を含む。
【発明の効果】
【0008】
したがって、本発明によって提供される電力変換システムは、電圧ステップ変化及び電圧極性変換機能を有する出力電圧を生成することができる。
【0009】
本発明の目的を達成するために採用された技術、手段及び効果をよりよく理解するために、本発明の目的及び特徴について、以下の詳細な説明及び添付図面を参照されたい。添付図面は、参考及び説明のためのものであり、本発明を限定するものではない。
【図面の簡単な説明】
【0010】
本発明に係る電力変換システムの第1実施形態のブロック図である。
本発明に係る電力変換システムの第2実施形態のブロック図である。
本発明に係る電力変換システムの第3実施形態のブロック図である。
本発明に係る直流-直流変換回路のブロック図である。
本発明に係るアクティブ線形フィルタユニットの回路ブロック図である。
本発明に係る三相交流-直流変換回路及び直流-直流変換回路の回路図である。
本発明に係る電圧ステップ変化回路の第1実施形態の回路図である。
図7Aに示す電圧ステップ変化回路における入力電圧及び出力電圧の概略波形図である。
本発明に係る電圧ステップ変化回路の第2実施形態の回路図である。
図8Aに示す電圧ステップ変化回路における入力電圧及び出力電圧の概略波形図である。
本発明に係る電圧極性変換回路の回路図である。
図9Aに示す電圧極性変換回路における入力電圧及び出力電圧の概略波形図、及びブリッジアームスイッチの制御信号の概略波形図である。
図1における電力変換アーキテクチャを2組用いた電力変換システムのブロック図である。
図2における電力変換アーキテクチャを2組用いた電力変換システムのブロック図である。
図3における電力変換アーキテクチャを2組用いた電力変換システムのブロック図である。
本発明に係る電力変換システムの直流出力電圧の概略波形図である。
【発明を実施するための形態】
(【0011】以降は省略されています)
この特許をJ-PlatPat(特許庁公式サイト)で参照する
関連特許
台達電子工業股ふん有限公司
電池システム
10日前
台達電子工業股ふん有限公司
磁気アセンブリ
22日前
台達電子工業股ふん有限公司
電力変換システム
9日前
台達電子工業股ふん有限公司
半導体モジュール
7日前
台達電子工業股ふん有限公司
車両充電装置及び車両充電方法
3日前
個人
単極モータ
1か月前
個人
高圧電気機器の開閉器
2日前
個人
電気を重力で発電装置
15日前
キヤノン電子株式会社
モータ
22日前
キヤノン電子株式会社
モータ
14日前
株式会社アイシン
ロータ
1か月前
株式会社アイシン
ロータ
1か月前
日星電気株式会社
ケーブル組立体
1か月前
コーセル株式会社
電源装置
23日前
株式会社アイドゥス企画
減反モータ
2日前
トヨタ自動車株式会社
モータ
14日前
株式会社デンソー
回転機
1か月前
個人
二次電池繰返パルス放電器用印刷基板
28日前
株式会社kaisei
発電システム
1か月前
株式会社ミツバ
回転電機
1か月前
株式会社デンソー
電力変換装置
29日前
株式会社デンソー
電力変換装置
1か月前
株式会社デンソー
非接触受電装置
1か月前
株式会社ダイヘン
インバータ装置
1か月前
トヨタ自動車株式会社
固定子の加熱装置
25日前
矢崎総業株式会社
電源回路
1日前
個人
非対称鏡像力を有する4層PWB電荷搬送体
9日前
山洋電気株式会社
モータ
28日前
矢崎総業株式会社
ワイヤーハーネス
1か月前
トヨタ自動車株式会社
ステータの製造装置
15日前
ローム株式会社
モータドライバ回路
9日前
日産自動車株式会社
ロータシャフト
9日前
日産自動車株式会社
ロータシャフト
9日前
個人
電線盗難防止方法及び電線盗難防止装置
22日前
京商株式会社
模型用非接触電力供給システム
2日前
株式会社デンソー
ステータ及びモータ
1か月前
続きを見る
他の特許を見る