TOP
|
特許
|
意匠
|
商標
特許ウォッチ
Twitter
他の特許を見る
10個以上の画像は省略されています。
公開番号
2025168667
公報種別
公開特許公報(A)
公開日
2025-11-11
出願番号
2025074376
出願日
2025-04-28
発明の名称
電池システム
出願人
台達電子工業股ふん有限公司
,
DELTA ELECTRONICS,INC.
代理人
個人
,
個人
,
個人
主分類
H02J
7/00 20060101AFI20251104BHJP(電力の発電,変換,配電)
要約
【課題】電池システムを提供する。
【解決手段】電池システムは、第1電池モジュールと、第1電池モジュールに結合される複数の第2電池モジュールと、を含む。第1電池モジュールは、電池管理システム、及び相互に電気的に結合される複数の第1電池セルを含み、これらの第1電池セルは、電池管理システムに電気的に結合され且つ電池管理システムによって管理される。第2電池モジュールは、相互に電気的に結合される複数の第2電池セルをそれぞれ含み、且つ複数の第2電池セルは、第1電池モジュールの電池管理システムに結合されてそれによって管理される。電池管理システムは、外部システムに結合され、外部システムと信号伝送を行うために用いられる。
【選択図】図1
特許請求の範囲
【請求項1】
電池システムであって、
電池管理システムと、相互に電気的に結合され、前記電池管理システムに電気的に結合されて前記電池管理システムによって管理される複数の第1電池セルと、を含む第1電池モジュールと、
前記第1電池モジュールに結合され、相互に電気的に結合される複数の第2電池セルをそれぞれ含む複数の第2電池モジュールであって、複数の前記第2電池セルは、前記第1電池モジュールの前記電池管理システムに電気的に結合されて前記電池管理システムによって管理される複数の第2電池モジュールと、
を備え、
前記電池管理システムは、外部システムに結合され、前記外部システムと信号伝送を行うために用いられる電池システム。
続きを表示(約 1,300 文字)
【請求項2】
前記第1電池モジュールは、第1通信インタフェースを含み、複数の前記第2電池モジュールは、それぞれ、第2通信インタフェースを含み、前記第1通信インタフェースは、前記第1電池モジュールと複数の前記第2電池モジュールとの間で信号を伝送するように、複数の前記第2通信インタフェースに相互に接続される請求項1に記載の電池システム。
【請求項3】
前記第1通信インタフェースと複数の前記第2通信インタフェースは、通信バスに接続されて前記通信バスを介して相互に接続される請求項2に記載の電池システム。
【請求項4】
前記第1通信インタフェースは、複数の前記第2通信インタフェースにデイジー・チェン(Daisy Chain)で相互に接続される請求項2に記載の電池システム。
【請求項5】
前記第1電池モジュールは、第1筐体と、前記第1筐体に位置し、前記電池管理システムに接続され、前記電池管理システムから受信した前記第1電池モジュール及び複数の前記第2電池モジュールの複数の電池状態を表示するための電池管理表示インタフェースと、を有する請求項1に記載の電池システム。
【請求項6】
前記第1電池モジュールは、第1電力インタフェースを含み、且つ複数の前記第2電池モジュールは、それぞれ、第2電力インタフェースを含み、前記第1電力インタフェース及び複数の前記第2電力インタフェースは、複数の前記第1電池セル及び複数の前記第2電池セルが電力を出力し又は充電するために用いられる請求項1に記載の電池システム。
【請求項7】
前記第1電力インタフェースと複数の前記第2電力インタフェースは、それぞれ、正極端及び負極端を有し、前記第1電池モジュールと複数の前記第2電池モジュールとは、複数の前記正極端及び複数の前記負極端を介して相互に直列接続される請求項6に記載の電池システム。
【請求項8】
前記第1電力インタフェースと複数の前記第2電力インタフェースは、それぞれ、正極端及び負極端を有し、複数の前記正極端は、第1電力バスに接続され、且つ複数の前記負極端は、第2電力バスに接続され、これにより、前記第1電池モジュールと複数の前記第2電池モジュールが相互に並列接続される請求項6に記載の電池システム。
【請求項9】
前記第1電池モジュールは、前記電池管理システム及び複数の前記第1電池セルを収容するための第1筐体を有し、複数の前記第2電池モジュールは、複数の前記第2電池セルを収容するための第2筐体をそれぞれ有し、前記第1筐体と複数の前記第2筐体とは、同じ寸法を有する請求項1に記載の電池システム。
【請求項10】
複数の前記第2電池モジュールのうちの各々における複数の前記第2電池セルの数は、複数の前記第1電池セルの数よりも多く、複数の前記第2電池モジュールのうちの各々の電圧容量が前記第1電池モジュールの電圧容量よりも高い請求項1に記載の電池システム。
(【請求項11】以降は省略されています)
発明の詳細な説明
【技術分野】
【0001】
本発明は、電池システムに関し、特に異なる電池モジュールアーキテクチャをエネルギー貯蔵機器として組み合わせる電池システムに関する。
続きを表示(約 2,900 文字)
【背景技術】
【0002】
現在、科学技術の進歩速度は、極めて速く、各産業において安定且つ大量の給電電源が必要であるため、大型の電池又はエネルギー貯蔵システム、例えばコンテナ型エネルギー貯蔵システムは、このような需要に応じて生まれた。このような大型エネルギー貯蔵システムは、太陽エネルギー、風力エネルギーなどの再生エネルギーの電力を貯蔵することができ、再生エネルギーの変動性の問題を解決することができ、そして石化エネルギーへの依存と炭素排出などを減少させ、低炭素経済を構築するための重要な技術の1つである。しかしながら、このような大型エネルギー貯蔵システムは、大型の製品であり、その重量が重いため、搬送しにくく、しかも組み立てがかなり不便で危険性が高く、キャビネットの内部空間も最適化して利用することが困難である。また、このような電池又はエネルギー貯蔵システムは、通常、単一の用途にしか適用できないように設計され、即ち電圧容量仕様を設計した後に他の用途モードに適用することは、困難である。したがって、従来技術には、多くの欠陥が存在し、上記欠陥を解決できる方法を提供する必要がある。
【発明の概要】
【0003】
本開示は、電池システムであって、電池管理システムと、相互に電気的に結合され、前記電池管理システムに電気的に結合されて前記電池管理システムによって管理される複数の第1電池セルと、を含む第1電池モジュールと、前記第1電池モジュールに結合され、相互に電気的に結合される複数の第2電池セルをそれぞれ含み、複数の前記第2電池セルは、前記第1電池モジュールの前記電池管理システムに電気的に結合されて前記電池管理システムによって管理される複数の第2電池モジュールと、を備え、前記電池管理システムは、外部システムに結合され、前記外部システムと信号伝送を行うために用いられる電池システムを提供する。
【0004】
本開示は、電池システムであって、第1筐体、電池管理システム、及び相互に電気的に結合される複数の第1電池セルを含み、前記電池管理システム及び複数の前記第1電池セルは、前記第1筐体に収納され、複数の前記第1電池セルは、前記電池管理システムに電気的に結合されて前記電池管理システムによって管理される第1電池モジュールと、前記第1電池モジュールに結合され、第2筐体と、相互に電気的に結合される複数の第2電池セルと、をそれぞれ含み、複数の前記第2電池セルは、それぞれ複数の前記第2筐体に収納され、且つ前記第1電池モジュールの前記電池管理システムに電気的に結合されて前記電池管理システムによって管理される複数の第2電池モジュールと、を備え、前記第1筐体と複数の前記第2筐体とは、同じ寸法を有し、複数の前記第2筐体のうちの各々における複数の前記第2電池セルの数は前記第1筐体における複数の前記第1電池セルの数よりも多く、これにより、複数の前記第2電池モジュールのうちの各々の電圧容量が前記第1電池モジュールの電圧容量よりも高く、前記電池管理システムは、外部システムに結合され、前記外部システムと信号伝送を行うために用いられる電池システムをさらに提供する。
【0005】
説明すべきこととして、上記説明及び後続の詳細な説明は、本願を実施形態で例示的に説明し、本願が要求する発明の概要の解釈及び理解を支援するために用いられる。
【図面の簡単な説明】
【0006】
本開示の上記及びその他の目的、特徴及び実施例をより明確にわかりやすくするために、図面は、以下のように説明する。
本開示のいくつかの具体的な実施例による電池システムの概略図である。
図1における第1電池モジュールの内部構造概略図である。
図1における第2電池モジュールの内部構造概略図である。
本開示のいくつかの具体的な実施例による電池システムの概略図である。
本開示のいくつかの具体的な実施例による電池システムの概略図である。
本開示のいくつかの具体的な実施例による電池システムの概略図である。
本開示のいくつかの具体的な実施例による電池システムの概略図である。
本開示のいくつかの具体的な実施例による電池システムの概略図である。
本開示のいくつかの具体的な実施例による電池システムの概略図である。
【発明を実施するための形態】
【0007】
以下の開示は、本開示の異なる特徴を実施するための多くの異なる実施例又は例を提供する。特別な例における素子及び配置は、以下の議論で本開示を簡略化するために用いられる。議論されるいかなる例は、説明のためだけに用いられ、本開示又はその例の範囲と意味を制限することはない。適切な場合、図面間及び対応するテキスト説明に同じ符号を使用して、同じ又は類似した素子を表す。
【0008】
本明細書の用語は、特定の実施例を記述するためのものに過ぎず、本願を限定することを意味しない。単数形例えば「一」、「これ」、「この」、「本」及び「該」は、本明細書で用いたように、同様に複数形も含む。本明細書で用いられる「含む」、「含有する」、「有する」、「含む」などについては、すべて開放的な用語であり、つまり、含むがこれに限定されないことを意味する。
【0009】
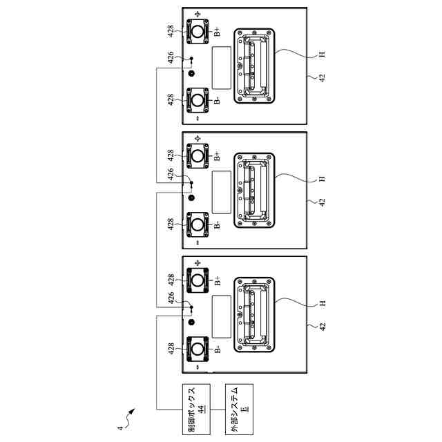
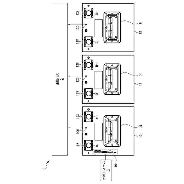
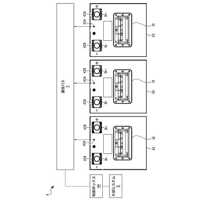
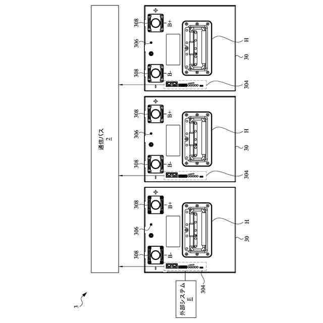
図1を参照されたい。図1は、本開示のいくつかの実施例による電池システム1の概略図である。図1に示すように、電池システム1は、第1電池モジュール10及び少なくとも1つの第2電池モジュール12を含み、両方は、相互に結合される。注意すべきこととして、図1は、第2電池モジュール12を示すが、実際には、需要に応じて第2電池モジュール12の数を増加してもよい。例えば、第2電池モジュール12の数を必要な総電圧容量に応じて増加する。
【0010】
図2A及び図2Bを併せて参照されたい。図2Aは、図1における第1電池モジュール10の内部構造概略図であり、図2Bは、図1における第2電池モジュール12の内部構造概略図である。図2Aに示すように、第1電池モジュール10は、電池管理システム100及び複数の第1電池セル102を含み、各第1電池セル102は、相互に電気的に結合される。いくつかの実施例では、これらの第1電池セル102は、相互に直列接続形式で電気的に結合され、第1電池セル102の数に基づいて、第1電池モジュール10の電圧容量を決定することができる。電池管理システム100は、第1電池モジュール10の第1筐体109の内部の側辺に位置し、相互に直列接続される第1電池セル102に電気的に結合されてもよく、これにより各第1電池セル102を管理する。実際には、電池管理システム100は、各第1電池セル102の電圧、電流、温度などを監視し、さらに各第1電池セル102に過電圧、電圧不足、過電流、短絡や過熱などの保護メカニズムを提供することができる。
(【0011】以降は省略されています)
この特許をJ-PlatPat(特許庁公式サイト)で参照する
関連特許
台達電子工業股ふん有限公司
電池システム
今日
台達電子工業股ふん有限公司
磁気アセンブリ
12日前
台達電子工業股ふん有限公司
電気自動車用電源装置の制御回路及び方法
1か月前
台達電子工業股ふん有限公司
3Dモデリングに用いるコンピュータプログラム製品
20日前
個人
単極モータ
28日前
個人
電気を重力で発電装置
5日前
キヤノン電子株式会社
モータ
12日前
キヤノン電子株式会社
モータ
4日前
株式会社アイシン
ロータ
28日前
株式会社アイシン
ロータ
1か月前
コーセル株式会社
電源装置
13日前
日星電気株式会社
ケーブル組立体
20日前
トヨタ自動車株式会社
固定子
1か月前
トヨタ自動車株式会社
モータ
4日前
トヨタ自動車株式会社
製造装置
1か月前
株式会社デンソー
回転機
26日前
株式会社アイシン
ステータ
1か月前
株式会社アイシン
ステータ
1か月前
株式会社アイシン
ステータ
1か月前
株式会社アイシン
ステータ
1か月前
株式会社ダイヘン
充電装置
1か月前
株式会社ダイヘン
充電装置
1か月前
株式会社ダイヘン
充電装置
1か月前
株式会社ダイヘン
充電装置
1か月前
株式会社kaisei
発電システム
28日前
個人
二次電池繰返パルス放電器用印刷基板
18日前
トヨタ自動車株式会社
被膜形成装置
1か月前
株式会社デンソー
電力変換装置
19日前
株式会社ミツバ
回転電機
25日前
株式会社デンソー
電力変換装置
27日前
株式会社ミツバ
回転電機
1か月前
シャープ株式会社
表示装置
1か月前
株式会社ダイヘン
インバータ装置
27日前
株式会社アイシン
駆動装置
1か月前
株式会社デンソー
非接触受電装置
21日前
キヤノン株式会社
無線電力伝送システム
1か月前
続きを見る
他の特許を見る