TOP
|
特許
|
意匠
|
商標
特許ウォッチ
Twitter
他の特許を見る
10個以上の画像は省略されています。
公開番号
2025169783
公報種別
公開特許公報(A)
公開日
2025-11-14
出願番号
2024074896
出願日
2024-05-02
発明の名称
薬剤包装帯集約装置及び包装帯ロール
出願人
株式会社湯山製作所
代理人
弁理士法人サンクレスト国際特許事務所
主分類
B65B
63/04 20060101AFI20251107BHJP(運搬;包装;貯蔵;薄板状または線条材料の取扱い)
要約
【課題】薬剤の分包動作と包装帯の巻取動作とを平行して行う。
【解決手段】薬剤包装帯集約装置は、薬剤が包装された包装帯を巻き取る薬剤包装帯集約装置であって、前記包装帯を搬送する搬送ローラと、前記搬送ローラによる前記包装帯の搬送経路の途中に配置され、前記包装帯を巻き取る巻取部と、前記巻取部を前記搬送経路の途中から、前記搬送経路から外れた退避位置へ移動させる移動部と、を備える。
【選択図】図3
特許請求の範囲
【請求項1】
薬剤が包装された包装帯を一纏めにする薬剤包装帯集約装置であって、
前記包装帯を一纏めにする集約部と、
前記集約部によって前記包装帯が一纏めにされる集約工程の最後において、一纏めにされた前記包装帯によって形成される包装帯集約体の形状を保持する保持部を、前記集約部に装着された状態の前記包装帯集約体に取り付ける取付部と、
を備える、
薬剤包装帯集約装置。
続きを表示(約 1,000 文字)
【請求項2】
前記集約部は、前記包装帯を巻き取る巻取部であり、
前記集約工程は、前記包装帯を巻き取る工程であり、
前記包装帯集約体は、前記巻取部によって巻き取られた前記包装帯によって形成される包装帯ロールである、
請求項1に記載の薬剤包装帯集約装置。
【請求項3】
前記保持部はシールであり、
前記取付部は、前記包装帯の第1部位と、前記包装帯ロールにおいて前記第1部位よりも1周分内側に位置する前記包装帯の第2部位とに前記シールを貼り付ける、
請求項2に記載の薬剤包装帯集約装置。
【請求項4】
前記保持部は第1面及び第2面のそれぞれが粘着面である両面粘着シールであり、
前記取付部は、前記両面粘着シールの前記第1面を前記第1部位に貼り付け、前記両面粘着シールの前記第2面を前記第2部位に貼り付ける、
請求項3に記載の薬剤包装帯集約装置。
【請求項5】
前記第1面の粘着強度と前記第2面の粘着強度とは互いに異なる、
請求項4に記載の薬剤包装帯集約装置。
【請求項6】
前記第1面の粘着強度は、前記第2面の粘着強度よりも高い、
請求項5に記載の薬剤包装帯集約装置。
【請求項7】
前記薬剤包装帯集約装置は、前記巻取部によって巻き取られる前記包装帯を前記包装帯ロールに押さえつける押さえ部材をさらに備え、
前記押さえ部材は、前記両面粘着シールの前記第1面が貼り付けられた前記第1部位を前記包装帯ロールに押さえつけることにより、前記シールの前記第2面を前記第2部位に貼り付ける、
請求項4に記載の薬剤包装帯集約装置。
【請求項8】
前記取付部は、前記シールが一列に配置された帯状の台紙が巻回されたシールロールの前記台紙から前記シールを剥がし、前記シールを前記第1部位及び前記第2部位に貼り付ける、
請求項3から請求項7のいずれか1項に記載の薬剤包装帯集約装置。
【請求項9】
前記取付部は、前記シールが除かれた前記台紙を巻き取る、
請求項8に記載の薬剤包装帯集約装置。
【請求項10】
前記取付部は、前記シールが除かれた前記台紙を巻き取ることにより、前記シールロールから前記シールが貼り付けられた前記台紙を引き出す、
請求項9に記載の薬剤包装帯集約装置。
(【請求項11】以降は省略されています)
発明の詳細な説明
【技術分野】
【0001】
本開示は、薬剤包装帯集約装置及び包装帯ロールに関する。
続きを表示(約 2,200 文字)
【背景技術】
【0002】
特許文献1には、カッター、フィーダ、巻取装置、及び結束装置が直線状に一列に配置された薬包帯結束機が開示されている。この薬包帯結束機では、薬剤包装機から斜めに起立した状態で前方へ搬送される一連の薬包帯をフィーダが前方へ送り出し、フィーダで送り出された薬包帯を巻取装置が順次巻き取る。カッターは、薬包帯が一患者分だけ通過したところで回転して、薬包帯を患者分ごとに切断する。搬送アームは、一患者分だけ巻取装置で巻き取った薬包帯を両側から掴んで巻取状態のまま搬送し、結束装置は、搬送アームで搬送された薬包帯にバンドをかけて結束する。
【先行技術文献】
【特許文献】
【0003】
特開平10-101018号公報
【発明の概要】
【発明が解決しようとする課題】
【0004】
特許文献1に開示された薬包帯結束機では、巻取装置によって巻き取られた薬包帯を結束するためには、搬送アームが巻取状態の薬包帯を巻取装置から結束装置まで搬送する必要がある。このため、搬送アームが必要であり、また、薬包帯の搬送経路を確保するために装置が大型化するという問題がある。
【課題を解決するための手段】
【0005】
本開示の一態様に係る薬剤包装帯集約装置は、薬剤が包装された包装帯を一纏めにする薬剤包装帯集約装置であって、前記包装帯を一纏めにする集約部と、前記集約部によって前記包装帯が一纏めにされる集約工程の最後において、一纏めにされた前記包装帯によって形成される包装帯集約体の形状を保持する保持部を、前記集約部に装着された状態の前記包装帯集約体に取り付ける取付部と、を備える。
【発明の効果】
【0006】
本開示によれば、装置の大型化を抑制することができる。
【図面の簡単な説明】
【0007】
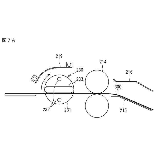
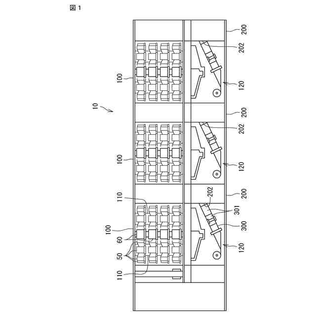
図1は、実施形態に係る薬剤包装システムの全体構成の一例を示す図である。
図2は、実施形態に係る包装帯の一例を示す図である。
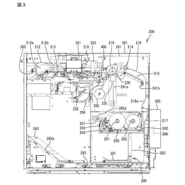
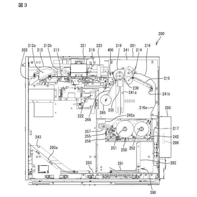
図3は、実施形態に係る巻取装置の構成の一例を示す正面図である。
図4は、実施形態に係る巻取装置の構成の一例を示す斜視図である。
図5は、巻取部及びその周辺の拡大斜視図である。
図6は、巻取部及びその周辺の拡大斜視図である。
図7Aは、巻取部による初期工程の開始段階を説明するための図である。
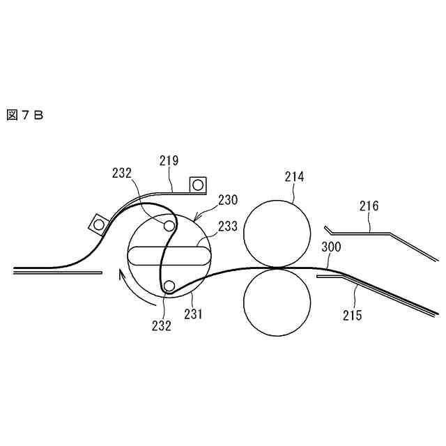
図7Bは、巻取部による初期工程の第1段階を説明するための図である。
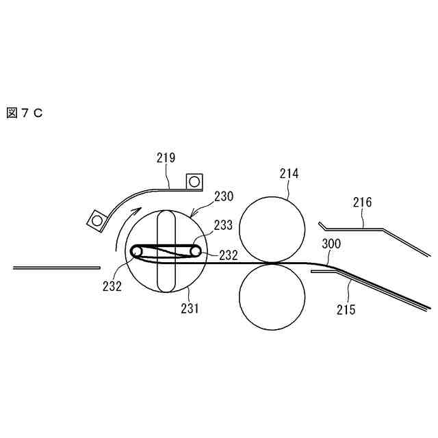
図7Cは、巻取部による初期工程の第2段階を説明するための図である。
図7Dは、巻取部による初期工程の第3段階を説明するための図である。
図8は、実施形態に係る巻取部の構成の変形例を示す図である。
図9は、巻取工程の初期工程における第2搬送ローラ及び傾斜板の位置を説明するための斜視図である。
図10は、巻取工程の初期工程の終了時における第2搬送ローラ及び傾斜板の位置を説明するための斜視図である。
図11は、巻取部が退避位置に位置づけられた状態の巻取装置を示す斜視図である。
図12は、回収工程の第1段階を説明するための斜視図である。
図13は、回収工程の第2段階を説明するための斜視図である。
図14は、回収工程の第3段階を説明するための斜視図である。
図15は、シール貼付部の構成を示す正面図である。
図16Aは、貼付部によるシール貼付の動作を説明するための図である。
図16Bは、貼付部によるシール貼付の動作を説明するための図である。
図17Aは、離脱工程の第1段階を説明するための図である。
図17Bは、離脱工程の第1段階を説明するための図である。
図18Aは、離脱工程の第2段階を説明するための図である。
図18Bは、離脱工程の第2段階を説明するための図である。
【発明を実施するための形態】
【0008】
<本開示の実施形態の概要>
以下、本開示の実施形態の概要を列記して説明する。
【0009】
(1) 本実施形態に係る薬剤包装帯集約装置は、薬剤が包装された包装帯を一纏めにする薬剤包装帯集約装置であって、前記包装帯を一纏めにする集約部と、前記集約部によって前記包装帯が一纏めにされる集約工程の最後において、一纏めにされた前記包装帯によって形成される包装帯集約体の形状を保持する保持部を、前記集約部に装着された状態の前記包装帯集約体に取り付ける取付部と、を備える。このため、包装帯集約体に保持部を取り付けるために包装帯集約体を搬送する必要がなく、装置の大型化を抑制することができる。
【0010】
(2) 上記(1)において、前記集約部は、前記包装帯を巻き取る巻取部であり、前記集約工程は、前記包装帯を巻き取る工程であり、前記包装帯集約体は、前記巻取部によって巻き取られた前記包装帯によって形成される包装帯ロールであってもよい。これにより、包装帯を巻き取ることによって一纏めにし、包装帯ロールを形成することができる。
(【0011】以降は省略されています)
この特許をJ-PlatPat(特許庁公式サイト)で参照する
関連特許
株式会社湯山製作所
薬剤包装帯集約装置及び包装帯ロール
12日前
株式会社湯山製作所
搬送装置、混注装置、及び、注入装置
19日前
株式会社湯山製作所
投薬支援システム及び投薬支援プログラム
7日前
株式会社湯山製作所
薬剤包装帯巻取装置及び薬剤包装システム
12日前
株式会社湯山製作所
薬品払出システム、薬品払出プログラム
6日前
個人
収容箱
4か月前
個人
束ね具
15日前
個人
コンベア
6か月前
個人
段ボール箱
8か月前
個人
ゴミ収集器
7か月前
個人
段ボール箱
7か月前
個人
宅配システム
7か月前
個人
バンド
3か月前
個人
テープ引出機
15日前
個人
楽ちんハンド
6か月前
個人
角筒状構造体
6か月前
個人
包装容器
2か月前
個人
棒状体収容容器
19日前
個人
廃棄物収容容器
3か月前
個人
お薬の締結装置
6か月前
株式会社和気
包装用箱
29日前
個人
蓋閉止構造
4か月前
個人
蓋閉止構造
4か月前
個人
貯蔵サイロ
8か月前
株式会社コロナ
梱包材
6か月前
株式会社バンダイ
物品
1か月前
個人
把手付米袋
5か月前
個人
積み重ね用補助具
3か月前
個人
袋入り即席麺
8か月前
株式会社イシダ
搬送装置
7か月前
三甲株式会社
容器
1か月前
個人
輸送積荷用動吸振器
7か月前
三甲株式会社
容器
6か月前
個人
コード折り畳み器具
5か月前
個人
介護用コップ
3か月前
三甲株式会社
容器
6か月前
続きを見る
他の特許を見る