TOP
|
特許
|
意匠
|
商標
特許ウォッチ
Twitter
他の特許を見る
10個以上の画像は省略されています。
公開番号
2025172135
公報種別
公開特許公報(A)
公開日
2025-11-20
出願番号
2025145177,2021095679
出願日
2025-09-02,2021-06-08
発明の名称
薬品払出システム、薬品払出プログラム
出願人
株式会社湯山製作所
代理人
個人
主分類
A61J
3/00 20060101AFI20251113BHJP(医学または獣医学;衛生学)
要約
【課題】薬品払出データ又は患者に応じて形状又は寸法の錠剤が変化する場合でも当該錠剤を払い出し可能な薬品払出システム及び薬品払出プログラムを提供すること。
【解決手段】薬品払出システム(10)は、任意の種類の錠剤を払出可能な錠剤払出部(22)と、払出対象の錠剤の情報を含む薬品払出データに対応付けられ、前記払出対象の錠剤の形状に関する情報を含む錠剤形状データを取得する取得処理部(111)と、前記薬品払出データ及び当該薬品払出データに対応付けられた前記錠剤形状データに基づいて前記錠剤払出部(22)から前記払出対象の錠剤を払い出させる払出処理部(112)とを備える。
【選択図】図1
特許請求の範囲
【請求項1】
任意の種類の錠剤を払出可能な錠剤払出部と、
払出対象の錠剤の薬品識別情報を含む薬品払出データに対応付けられ、前記払出対象の錠剤の形状に関する情報を含む錠剤形状データを取得する取得処理部と、
前記薬品払出データ及び当該薬品払出データに対応付けられた前記錠剤形状データに基づいて前記錠剤払出部から前記払出対象の錠剤を払い出させる払出処理部と、
を備える、薬品払出システム。
発明の詳細な説明
【技術分野】
【0001】
本発明は、錠剤払出部から錠剤を払い出し可能な薬品払出システムに関する。
続きを表示(約 1,700 文字)
【背景技術】
【0002】
一般に、薬品払出データに基づいて、錠剤払出部から錠剤を自動的に払い出すことが可能な薬品払出システムが知られている(例えば特許文献1参照)。
【先行技術文献】
【特許文献】
【0003】
特許第5812228号公報
【発明の概要】
【発明が解決しようとする課題】
【0004】
ところで、前記薬品払出システムでは、予め登録された種類の錠剤を払い出すことが可能である。しかしながら、前記薬品払出システムでは、例えば患者の年齢、体重、肝機能、腎機能、又は錠剤形状の好み等に応じて錠剤の形状又は寸法などが変更される場合に対応することはできない。
【0005】
本発明の目的は、錠剤の形状又は寸法が変更される場合でも当該錠剤の払い出しに対応可能な薬品払出システム及び薬品払出プログラムを提供することにある。
【課題を解決するための手段】
【0006】
本発明に係る薬品払出システムは、任意の種類の錠剤を払出可能な錠剤払出部と、払出対象の錠剤の情報を含む薬品払出データに対応付けられ、前記払出対象の錠剤の形状に関する情報を含む錠剤形状データを取得する取得処理部と、前記薬品払出データ及び当該薬品払出データに対応付けられた前記錠剤形状データに基づいて前記錠剤払出部から前記払出対象の錠剤を払い出させる払出処理部と、を備える。
【0007】
本発明に係る薬品払出プログラムは、任意の種類の錠剤を払出可能な錠剤払出部を備える薬品払出装置の制御部に、払出対象の錠剤の情報を含む薬品払出データに対応付けられ、前記払出対象の錠剤の形状に関する情報を含む錠剤形状データを取得する取得ステップと、前記薬品払出データ及び当該薬品払出データに対応付けられた前記錠剤形状データに基づいて前記錠剤払出部から前記払出対象の錠剤を払い出させる払出ステップと、を実行させるためのプログラムである。
【発明の効果】
【0008】
本発明によれば、錠剤の形状又は寸法が変更される場合でも当該錠剤の払い出しに対応可能な薬品払出システム及び薬品払出プログラムが提供される。
【図面の簡単な説明】
【0009】
図1は、本発明の実施形態に係る薬品払出システムの構成を示すブロック図である。
図2は、本発明の実施形態に係る薬品払出装置の外観図である。
図3は、本発明の実施形態に係る薬品払出装置の可変錠剤払出部の構成を説明するための斜視図である。
図4は、本発明の実施形態に係る薬品払出装置の可変錠剤払出部の構成を説明するための斜視図である。
図5は、本発明の実施形態に係る薬品払出装置の可変錠剤払出部の構成を説明するための斜視図である。
図6は、本発明の実施形態に係る薬品払出装置の可変錠剤払出部の装着部の構成を説明するための斜視図である。
図7は、本発明の実施形態に係る薬品払出システムで使用される割当情報の一例を示す図である。
図8は、本発明の実施形態に係る薬品払出システムで使用される駆動対応情報の一例を示す図である。
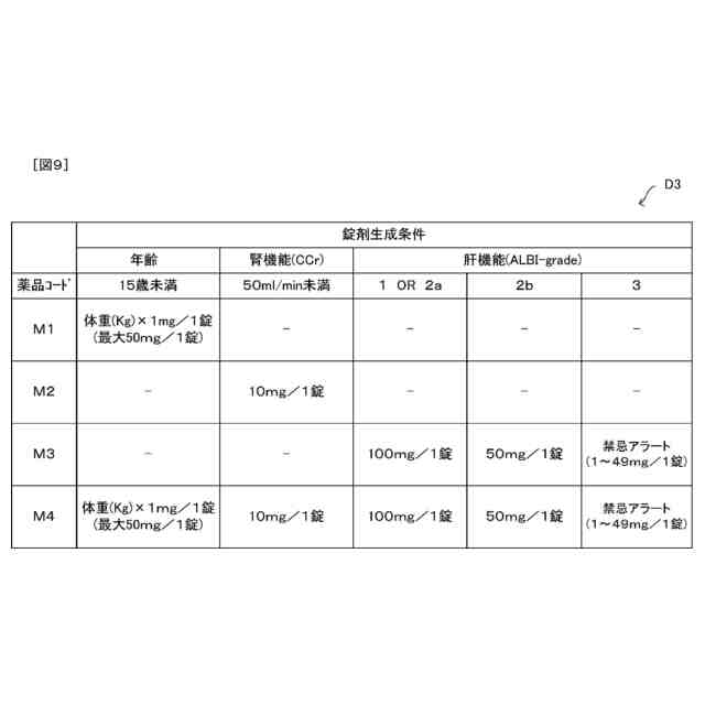
図9は、本発明の実施形態に係る薬品払出システムで使用される生成条件情報の一例を示す図である。
図10は、本発明の実施形態に係る薬品払出システムで実行される調剤管理処理の手順の一例を説明するためのフローチャートである。
図11は、本発明の実施形態に係る薬品払出システムで実行される薬品払出処理の手順の一例を説明するためのフローチャートである。
図12は、本発明の実施形態に係る薬品払出システムで実行される分包制御処理の手順の一例を説明するためのフローチャートである。
【発明を実施するための形態】
【0010】
以下添付図面を参照しながら、本発明の実施形態について説明し、本発明の理解に供する。なお、以下の実施形態は、本発明を具体化した一例であって、本発明の技術的範囲を限定する性格のものではない。
(【0011】以降は省略されています)
この特許をJ-PlatPat(特許庁公式サイト)で参照する
関連特許
株式会社湯山製作所
装置
1か月前
株式会社湯山製作所
薬剤包装帯集約装置及び包装帯ロール
11日前
株式会社湯山製作所
搬送装置、混注装置、及び、注入装置
18日前
株式会社湯山製作所
投薬支援システム及び投薬支援プログラム
6日前
株式会社湯山製作所
薬剤包装帯巻取装置及び薬剤包装システム
11日前
株式会社湯山製作所
薬品払出装置
1か月前
株式会社湯山製作所
薬品払出システム、薬品払出プログラム
5日前
個人
貼付剤
29日前
個人
簡易担架
11日前
個人
腋臭防止剤
11日前
個人
短下肢装具
4か月前
個人
足踏み器具
18日前
個人
前腕誘導装置
4か月前
個人
洗井間専家。
8か月前
個人
排尿補助器具
1か月前
個人
嚥下鍛錬装置
4か月前
個人
汚れ防止シート
1か月前
個人
歯の修復用材料
5か月前
個人
腰ベルト
1か月前
個人
胸骨圧迫補助具
2か月前
個人
ホバーアイロン
7か月前
個人
アイマスク装置
3か月前
個人
矯正椅子
6か月前
個人
バッグ式オムツ
5か月前
個人
ウォート指圧法
1か月前
個人
湿布連続貼り機。
3か月前
三生医薬株式会社
錠剤
8か月前
個人
排尿排便補助器具
13日前
個人
哺乳瓶冷まし容器
4か月前
個人
美容セット
20日前
個人
陣痛緩和具
4か月前
個人
歯の保護用シール
6か月前
個人
車椅子持ち上げ器
8か月前
個人
シャンプー
7か月前
個人
エア誘導コルセット
2か月前
個人
服薬支援装置
8か月前
続きを見る
他の特許を見る