TOP
|
特許
|
意匠
|
商標
特許ウォッチ
Twitter
他の特許を見る
10個以上の画像は省略されています。
公開番号
2025169779
公報種別
公開特許公報(A)
公開日
2025-11-14
出願番号
2024074888
出願日
2024-05-02
発明の名称
薬剤包装帯巻取装置及び薬剤包装システム
出願人
株式会社湯山製作所
代理人
弁理士法人サンクレスト国際特許事務所
主分類
B65B
13/18 20060101AFI20251107BHJP(運搬;包装;貯蔵;薄板状または線条材料の取扱い)
要約
【課題】薬剤の分包動作と包装帯の巻取動作とを平行して行う。
【解決手段】薬剤包装帯巻取装置は、薬剤が包装された包装帯を巻き取る薬剤包装帯巻取装置であって、前記包装帯を搬送する搬送ローラと、前記搬送ローラによる前記包装帯の搬送経路の途中に配置され、前記包装帯を巻き取る巻取部と、前記巻取部を前記搬送経路の途中から、前記搬送経路から外れた退避位置へ移動させる移動部と、を備える。
【選択図】図3
特許請求の範囲
【請求項1】
薬剤が包装された包装帯を巻き取る薬剤包装帯巻取装置であって、
前記包装帯を搬送する搬送機構と、
前記搬送機構による前記包装帯の搬送経路の途中に配置され、前記包装帯を巻き取る巻取部と、
前記巻取部を前記搬送経路の途中から、前記搬送経路から外れた退避位置へ移動させる移動部と、
を備える、
薬剤包装帯巻取装置。
続きを表示(約 1,200 文字)
【請求項2】
前記移動部は、前記搬送経路に沿った方向とは異なる移動方向へ前記巻取部を移動させる、
請求項1に記載の薬剤包装帯巻取装置。
【請求項3】
前記巻取部は、前記搬送経路の途中において前記包装帯の巻取を開始し、
前記移動部は、前記巻取部が前記包装帯を巻き取っている間に前記巻取部を前記退避位置へ移動させる、
請求項1に記載の薬剤包装帯巻取装置。
【請求項4】
前記巻取部は、互いに平行な一対のピンと、前記一対のピンを保持する回転可能な保持部材とを含み、
前記移動部は、前記保持部材が回転している間に、前記保持部材を退避位置へ移動させる、
請求項3に記載の薬剤包装帯巻取装置。
【請求項5】
前記移動部は、前記巻取部を、前記搬送経路及び前記移動方向のそれぞれに交差する奥行き方向に移動させることが可能であり、
前記搬送機構によって前記包装帯が搬送されている間、前記巻取部は前記搬送経路に干渉しないように前記奥行き方向に退避しており、
前記搬送機構による前記包装帯の搬送が終了する時点において、前記移動部は前記奥行き方向の反対方向に前記巻取部を移動させる、
請求項2に記載の薬剤包装帯巻取装置。
【請求項6】
前記巻取部よりも前記搬送経路の下流側において、前記搬送機構によって搬送された前記包装帯を一時的に保持する保持領域を備える、
請求項1に記載の薬剤包装帯巻取装置。
【請求項7】
前記保持領域において、前記搬送機構によって搬送された前記包装帯を垂下させて保持する、
請求項6に記載の薬剤包装帯巻取装置。
【請求項8】
前記巻取部は、前記搬送機構によって搬送され、前記保持領域に一時的に保持されている前記包装帯を、前記保持領域よりも上流側にある前記包装帯の部分から、前記搬送機構による搬送方向とは逆方向に巻き取る、
請求項6に記載の薬剤包装帯巻取装置。
【請求項9】
前記巻取部が前記包装帯の巻き取りを完了する前に、前記搬送機構は、前記包装帯に後続する包装帯を前記搬送経路に沿って搬送する、
請求項8に記載の薬剤包装帯巻取装置。
【請求項10】
前記包装帯は、薬剤を包装する複数の包装体が連なって構成され、
前記薬剤包装帯巻取装置は、前記包装帯が前記搬送機構によって搬送されている間に、前記包装体のそれぞれを撮像するカメラと、
1つの前記包装帯に含まれる複数の前記包装体のそれぞれが前記カメラによって撮像された複数の画像を、前記1つの包装帯に対応づけて記憶する記憶部と、
を備える、
請求項1に記載の薬剤包装帯巻取装置。
(【請求項11】以降は省略されています)
発明の詳細な説明
【技術分野】
【0001】
本開示は、薬剤包装帯巻取装置及び薬剤包装システムに関する。
続きを表示(約 2,200 文字)
【背景技術】
【0002】
特許文献1には、カッター、フィーダ、巻取装置、及び結束装置が直線状に一列に配置された薬包帯結束機が開示されている。この薬包帯結束機では、薬剤包装機から斜めに起立した状態で前方へ搬送される一連の薬包帯をフィーダが前方へ送り出し、フィーダで送り出された薬包帯を巻取装置が順次巻き取る。カッターは、薬包帯が一患者分だけ通過したところで回転して、薬包帯を患者分ごとに切断する。搬送アームは、一患者分だけ巻取装置で巻き取った薬包帯を両側から掴んで巻取状態のまま搬送し、結束装置は、搬送アームで搬送された薬包帯にバンドをかけて結束する。
【先行技術文献】
【特許文献】
【0003】
特開平10-101018号公報
【発明の概要】
【発明が解決しようとする課題】
【0004】
特許文献1に開示された薬包帯結束機では、薬包帯の直線状の搬送経路に沿ってカッター、フィーダ、巻取装置、及び結束装置が配置されている。このため、巻取装置によって薬包帯が巻き取られている間は、フィーダが薬包帯を前方へ送り出すことができず、薬包帯の搬送を停止させる必要がある。この結果、薬剤包装機が薬剤を薬包帯によって分包する分包動作を停止せざるを得ず、連続した分包動作が阻害される。
【課題を解決するための手段】
【0005】
本開示の一態様に係る薬剤包装帯巻取装置は、薬剤が包装された包装帯を巻き取る薬剤包装帯巻取装置であって、前記包装帯を搬送する搬送ローラと、前記搬送ローラによる前記包装帯の搬送経路の途中に配置され、前記包装帯を巻き取る巻取部と、前記巻取部を前記搬送経路の途中から、前記搬送経路から外れた退避位置へ移動させる移動部と、を備える。
【発明の効果】
【0006】
本開示によれば、薬剤の分包動作と包装帯の巻取動作とを平行して行うことができる。
【図面の簡単な説明】
【0007】
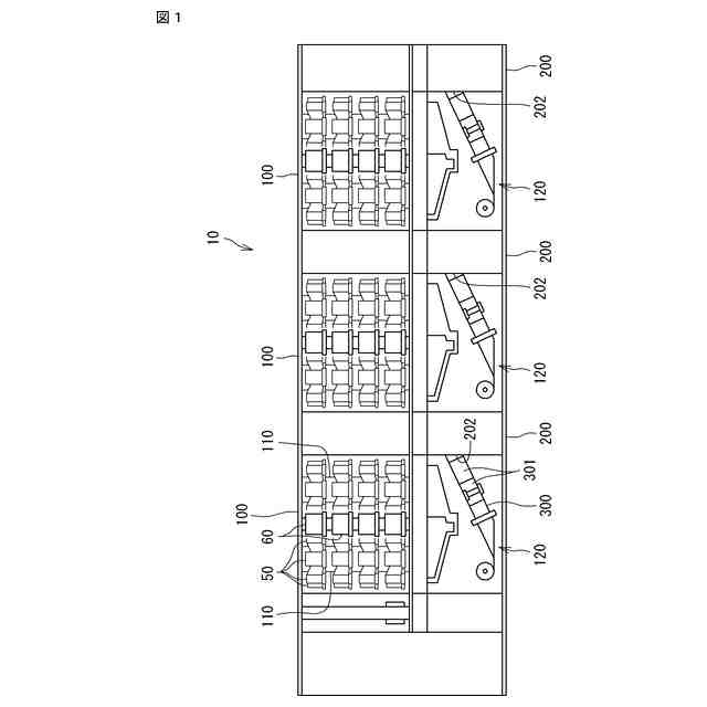
図1は、実施形態に係る薬剤包装システムの全体構成の一例を示す図である。
図2は、実施形態に係る包装帯の一例を示す図である。
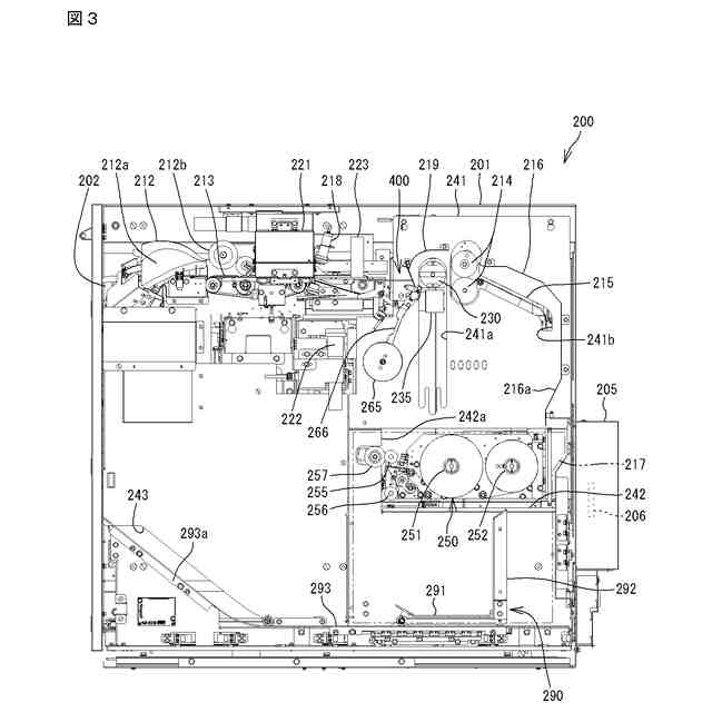
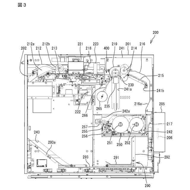
図3は、実施形態に係る巻取装置の構成の一例を示す正面図である。
図4は、実施形態に係る巻取装置の構成の一例を示す斜視図である。
図5は、巻取部及びその周辺の拡大斜視図である。
図6は、巻取部及びその周辺の拡大斜視図である。
図7Aは、巻取部による初期工程の開始段階を説明するための図である。
図7Bは、巻取部による初期工程の第1段階を説明するための図である。
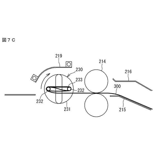
図7Cは、巻取部による初期工程の第2段階を説明するための図である。
図7Dは、巻取部による初期工程の第3段階を説明するための図である。
図8は、実施形態に係る巻取部の構成の変形例を示す図である。
図9は、巻取工程の初期工程における第2搬送ローラ及び傾斜板の位置を説明するための斜視図である。
図10は、巻取工程の初期工程の終了時における第2搬送ローラ及び傾斜板の位置を説明するための斜視図である。
図11は、巻取部が退避位置に位置づけられた状態の巻取装置を示す斜視図である。
図12は、回収工程の第1段階を説明するための斜視図である。
図13は、回収工程の第2段階を説明するための斜視図である。
図14は、回収工程の第3段階を説明するための斜視図である。
図15は、シール貼付部の構成を示す正面図である。
図16Aは、貼付部によるシール貼付の動作を説明するための図である。
図16Bは、貼付部によるシール貼付の動作を説明するための図である。
図17Aは、離脱工程の第1段階を説明するための図である。
図17Bは、離脱工程の第1段階を説明するための図である。
図18Aは、離脱工程の第2段階を説明するための図である。
図18Bは、離脱工程の第2段階を説明するための図である。
【発明を実施するための形態】
【0008】
<本開示の実施形態の概要>
以下、本開示の実施形態の概要を列記して説明する。
【0009】
(1) 本実施形態に係る薬剤包装帯巻取装置は、薬剤が包装された包装帯を巻き取る薬剤包装帯巻取装置であって、前記包装帯を搬送する搬送機構と、前記搬送機構による前記包装帯の搬送経路の途中に配置され、前記包装帯を巻き取る巻取部と、前記巻取部を前記搬送経路の途中から、前記搬送経路から外れた退避位置へ移動させる移動部と、を備える。このため、巻取部が、搬送経路の途中から退避位置へ移動することにより、包装帯の搬送を継続することができ、薬剤の分包動作と包装帯の巻取動作とを平行して行うことができる。
【0010】
(2) 上記(1)において、前記移動部は、前記搬送経路に沿った方向とは異なる移動方向へ前記巻取部を移動させてもよい。これにより、搬送経路の途中から巻取部を移動方向へ移動することにより、巻取部の搬送経路への干渉を防止することができる。
(【0011】以降は省略されています)
この特許をJ-PlatPat(特許庁公式サイト)で参照する
関連特許
株式会社湯山製作所
装置
1か月前
株式会社湯山製作所
薬剤包装帯集約装置及び包装帯ロール
12日前
株式会社湯山製作所
搬送装置、混注装置、及び、注入装置
19日前
株式会社湯山製作所
投薬支援システム及び投薬支援プログラム
7日前
株式会社湯山製作所
薬剤包装帯巻取装置及び薬剤包装システム
12日前
株式会社湯山製作所
業務支援システム及び業務支援プログラム
2か月前
株式会社湯山製作所
分包制御システム、分包制御方法及び分包制御プログラム
1か月前
株式会社湯山製作所
薬品払出装置
1か月前
株式会社湯山製作所
薬剤分包装置
1か月前
株式会社湯山製作所
薬剤払出装置
1か月前
株式会社湯山製作所
薬品払出システム、薬品払出プログラム
6日前
株式会社湯山製作所
薬剤仕分装置、及び、薬剤仕分装置の制御方法
1か月前
株式会社湯山製作所
薬品払出装置、表示制御装置、薬品払出プログラム
1か月前
個人
リアルタイム退避・復元型電子カルテデータガードサービス提供システム
1か月前
個人
収容箱
4か月前
個人
束ね具
15日前
個人
コンベア
6か月前
個人
容器
10か月前
個人
ゴミ収集器
7か月前
個人
段ボール箱
8か月前
個人
段ボール箱
7か月前
個人
角筒状構造体
6か月前
個人
バンド
3か月前
個人
テープ引出機
15日前
個人
宅配システム
7か月前
個人
楽ちんハンド
6か月前
個人
土嚢運搬器具
9か月前
個人
廃棄物収容容器
3か月前
個人
コード類収納具
9か月前
個人
お薬の締結装置
6か月前
個人
棒状体収容容器
19日前
個人
閉塞装置
11か月前
個人
包装容器
2か月前
株式会社和気
包装用箱
29日前
株式会社コロナ
梱包材
6か月前
個人
積み重ね用補助具
3か月前
続きを見る
他の特許を見る