TOP
|
特許
|
意匠
|
商標
特許ウォッチ
Twitter
他の特許を見る
公開番号
2025141934
公報種別
公開特許公報(A)
公開日
2025-09-29
出願番号
2025040318
出願日
2025-03-13
発明の名称
分包制御システム、分包制御方法及び分包制御プログラム
出願人
株式会社湯山製作所
代理人
個人
,
個人
主分類
A61J
3/00 20060101AFI20250919BHJP(医学または獣医学;衛生学)
要約
【課題】複数の異なる構成の分包機に、簡単な処理で、効率よく薬品の分包を振り分ける。
【解決手段】分包制御システム2は、分包対象の薬品を特定する薬品情報を含む分包要求を取得する分包要求取得部21と、複数の分包機のそれぞれにおける、指定量の薬品を自動で払い出すカセットの使用可能数を含む分包機構成データを取得する構成取得部22と、分包対象の薬品の数、及び、各分包機のカセットの使用可能数に基づいて、分包対象の薬品を分包する分包機を決定する分包機決定部23と、分包機決定部23が決定した分包機に分包対象の薬品の分包動作を指示する指示部24と、を備える。
【選択図】図1
特許請求の範囲
【請求項1】
分包対象の薬品を特定する薬品情報を含む分包要求を取得する分包要求取得部と、
複数の分包機のそれぞれにおける、指定量の薬品を自動で払い出すカセットの使用可能数を含む分包機構成データを取得する構成取得部と、
前記分包要求の薬品情報で示される分包対象の薬品の数、及び、前記分包機構成データで示される各分包機のカセットの使用可能数に基づいて、前記分包対象の薬品を分包する分包機を決定する分包機決定部と、
前記分包機決定部が決定した分包機に前記分包対象の薬品の分包動作を指示する指示部と、を備える、分包制御システム。
続きを表示(約 1,500 文字)
【請求項2】
請求項1に記載の分包制御システムであって、
前記構成取得部は、前記カセットの使用可能数として、任意の薬品を払い出し可能な任意薬品カセットの使用可能数を含む分包機構成データを取得し、
前記分包機決定部は、前記分包要求の薬品情報で示される分包対象の薬品の数、及び、前記分包機構成データで示される各分包機の任意薬品カセットの使用可能数に基づいて、前記分包対象の薬品を分包する分包機を決定する、分包制御システム。
【請求項3】
請求項1又は2に記載の分包制御システムであって、
前記構成取得部は、前記複数の分包機それぞれにおける、錠剤を払い出す錠剤カセットの使用可能数、及び、前記複数の分包機それぞれにおける散薬の分包機能の有無を含む分包機構成データを取得し、
前記分包機決定部は、前記分包対象の薬品が錠剤のみの場合、前記分包対象の薬品の数に対する前記使用可能な錠剤カセットの数が所定の条件を満たす分包機であって、散薬の分包機能を備えない分包機を優先して、前記薬品を分包する分包機に決定する、分包制御システム。
【請求項4】
請求項1又は2に記載の分包制御システムであって、
前記構成取得部は、前記複数の分包機それぞれにおける、予め登録された薬品を払い出す登録薬品カセットを示す登録薬品カセット情報と、前記複数の分包機それぞれにおける、任意の薬品を払い出し可能な任意薬品カセットの使用可能数を含む分包機構成データを取得し、
前記分包機決定部は、前記分包対象の薬品のうち各分包機の前記登録薬品カセットに登録されていない薬品の数、及び、前記分包機構成データで示される前記各分包機の任意薬品カセットの使用可能数に基づいて、前記分包対象の薬品を分包する分包機を決定する、分包制御システム。
【請求項5】
請求項1又は2に記載の分包制御システムであって、
前記構成取得部は、前記複数の分包機それぞれの分包待ち件数の上限をさらに含む分包機構成データを取得し、
前記分包機決定部は、各分包機で分包待ちの件数が、前記上限を越えないように前記薬品の分包する分包機に決定する、分包制御システム。
【請求項6】
コンピュータにより実行される分包制御方法であって、
分包対象の薬品を特定する薬品情報を含む分包要求を取得する分包要求取得工程と、
複数の分包機のそれぞれにおける、指定量の薬品を自動で払い出すカセットの使用可能数を含む分包機構成データを取得する構成取得工程と、
前記分包要求の薬品情報で示される分包対象の薬品の数、及び、前記分包機構成データで示される各分包機のカセットの使用可能数に基づいて、前記分包対象の薬品を分包する分包機を決定する分包機決定工程と、
前記分包機決定工程で決定した分包機に前記分包対象の薬品の分包処理を指示する指示工程と、を有する、分包制御方法。
【請求項7】
分包対象の薬品を特定する薬品情報を含む分包要求を取得する分包要求取得処理と、
複数の分包機のそれぞれにおける、指定量の薬品を自動で払い出すカセットの使用可能数を含む分包機構成データを取得する構成取得処理と、
前記分包要求の薬品情報で示される分包対象の薬品の数、及び、前記分包機構成データで示される各分包機のカセットの使用可能数に基づいて、前記分包対象の薬品を分包する分包機を決定する分包機決定処理と、
前記分包機決定処理で決定した分包機に前記分包対象の薬品の分包処理を指示する指示処理と、をコンピュータに実行させる、分包制御プログラム。
発明の詳細な説明
【技術分野】
【0001】
本開示は、分包機による薬品の分包を制御する分包制御システムに関する。
続きを表示(約 2,900 文字)
【背景技術】
【0002】
特開2020-69273号公報(特許文献1)には、複数台の薬剤払出し装置を有する薬剤分包システムが開示されている。このシステムでは、未処理情報を条件の一つとして新たな案件を処理する薬剤払出し装置が決定される。未処理情報には、例えば、未分包の薬剤包装の総数、未処理案件の処方情報の総数、未処理案件の処理を行うのに要する所要時間、又は、未処理案件の薬剤包装の総数のいずれかが含まれる。
【先行技術文献】
【特許文献】
【0003】
特開2020-69273号公報
【発明の概要】
【発明が解決しようとする課題】
【0004】
上記従来技術のように、複数台の分包機を有するシステムが用いられる場合がある。このようなシステムは、要求された薬品の分包を、複数台の分包機のいずれか1台に割り当てて分包をさせる。また、複数台の分包機は、同じ機能及び構成を有してない場合がある。例えば、分包機は、一包分の薬品を供給するための構成として、ユーザの手撒きを受け付ける複数のマス、又は、指定量の薬品を自動的に払い出すカセットの少なくとも一方を備えることができる。手撒き受付機能の有無やカセットの種類や数が、分包機によって異なることがある。
【0005】
そこで、本願は、複数の異なる構成の分包機に、簡単な処理で、効率よく薬品の分包を振り分けることができる分包制御システム、分包制御方法、分包制御プログラムを開示する。
【課題を解決するための手段】
【0006】
本発明の実施形態における分包制御システムは、分包対象の薬品を特定する薬品情報を含む分包要求を取得する分包要求取得部と、複数の分包機のそれぞれにおける、指定量の薬品を自動で払い出すカセットの使用可能数を含む分包機構成データを取得する構成取得部と、前記分包要求の薬品情報で示される分包対象の薬品の数、及び、前記分包機構成データで示される各分包機のカセットの使用可能数に基づいて、前記分包対象の薬品を分包する分包機を決定する分包機決定部と、前記分包機決定部が決定した分包機に前記分包対象の薬品の分包動作を指示する指示部と、を備える。
【図面の簡単な説明】
【0007】
図1は、本実形態における分包制御システムを含む分包システムの構成例を示す機能ブロック図である。
図2は、図1に示すシステムの動作例を示す図である。
図3は、分包機決定処理の変形例を示すフローチャートである。
図4は、振分先分包機を決定するための条件の一例を示す図である。
図5は、分包薬品の投入を受け付ける動作例を示すフローチャート及び画面例である。
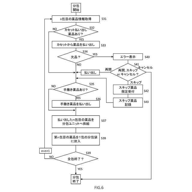
図6は、分包機の分包動作例を示すフローチャートである。
図7は、分包対象の薬品を、登録薬品カセット、任意薬品カセット及び手撒きユニットに割り当てる処理の例を示すフローチャートである。
図8は、図7に示す処理における第1~第3条件の例、及び、分包対象の薬品の任意薬品カセット及び手撒きユニットへの割り当て例を示す図である。
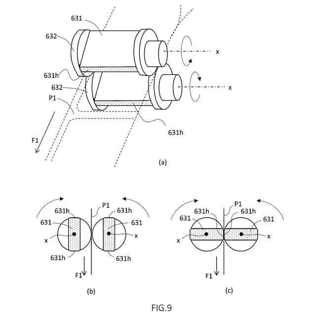
図9は、分包機の分包部60のシール部63の構成例を示す図である。
図10は、巻取機で巻き取られた分包袋の例を示す斜視図である。
図11は、図1に示す分包機10-2の構成例を示す斜視図である。
図12は、本発明の他の実施形態における分包制御システムの構成例を示す機能ブロック図である。
図13は、図12に示す分包制御システムの動作例を示すフローチャートである。
図14は、本発明の他の実施形態における分包システムの構成例を示す図である。
【発明を実施するための形態】
【0008】
発明者は、構成の異なる複数の分包機を用いて、薬品の分包を効率よく実行するためのシステムを検討した。発明者は、検討において、分包機の自動払い出し機能を最大限に用いて、ユーザによる手撒き作業を少なくすることで分包効率を高くできることに着目した。複数の分包機の一包分の薬品を供給するための構成として、様々な構成をとり得る。例えば、手撒き受付部の有無や、一包分の薬品を自動的に払い出すカセットの数、カセットで対応できる薬品の形態、及び、その他の構成要素が、分包機によって異なる場合がある。このように様々な構成を有する分包機に対して、効率よく分包を振り分けるための処理について、発明者は、検討した。検討の結果、発明者は、各分包機が有するカセットの数を取得し、各分包機のカセットの数と、分包対象の薬品の数を用いることで、簡単な処理で、効率よく複数の分包機に分包を振り分けることができることを見出した。以下の実施形態は、この知見に基づくものである。
【0009】
(構成1)
本発明の実施形態における分包制御システムは、分包対象の薬品を特定する薬品情報を含む分包要求を取得する分包要求取得部と、複数の分包機のそれぞれにおける、指定量の薬品を自動で払い出すカセットの使用可能数を含む分包機構成データを取得する構成取得部と、前記分包要求の薬品情報で示される分包対象の薬品の数、及び、前記分包機構成データで示される各分包機のカセットの使用可能数に基づいて、前記分包対象の薬品を分包する分包機を決定する分包機決定部と、前記分包機決定部が決定した分包機に前記分包対象の薬品の分包動作を指示する指示部と、を備える。
【0010】
上記構成1によれば、分包対象の薬品の数と、複数の分包機それぞれで使用可能なカセットの数に基づいて、分包対象の薬品を分包する分包機が決定される。カセットは、指定された量(例えば、一包分の量)の薬品を自動で払い出す。各分包機のカセットの使用可能数は、ユーザの手作業によらずカセットに充填された薬品を指定された量払い出すことができる薬品の数を端的に示している。各カセットの使用可能数と、分包対象の薬品の数を用いることで、カセットによる払い出しを効率よく利用できる分包機を、分包対象の薬品を分包する分包機に決定できる。すなわち、ユーザの手作業を少なくして分包機の自動払い出し機能を効率よく用いることができる。そのため、各分包機のカセット数と分包対象の薬品の数という単純なデータを用いて効率よく分包できる分包機を決定できる。その結果、構成の異なる複数の分包機を用いて、薬品の分包を効率よく実行することができる。なお、複数の分包機は、例えば、分包対象の薬品を一包分ずつ払い出す払い出し部の構成が異なっていてもよい。払い出し部の構成は、例えば、指定量の散薬を払い出す散薬払い出しユニットの有無、指定量の薬品を自動で払い出すカセットの種類及び数、手撒き投入された薬品を払い出す手撒きユニットの有無、等である。
(【0011】以降は省略されています)
この特許をJ-PlatPat(特許庁公式サイト)で参照する
関連特許
個人
貼付剤
1か月前
個人
簡易担架
12日前
個人
足踏み器具
19日前
個人
腋臭防止剤
12日前
個人
短下肢装具
4か月前
個人
嚥下鍛錬装置
4か月前
個人
排尿補助器具
1か月前
個人
前腕誘導装置
4か月前
個人
アイマスク装置
3か月前
個人
バッグ式オムツ
5か月前
個人
汚れ防止シート
1か月前
個人
胸骨圧迫補助具
2か月前
個人
ウォート指圧法
1か月前
個人
矯正椅子
6か月前
個人
腰ベルト
1か月前
個人
歯の修復用材料
5か月前
個人
湿布連続貼り機。
3か月前
個人
哺乳瓶冷まし容器
4か月前
個人
歯の保護用シール
6か月前
個人
陣痛緩和具
4か月前
個人
排尿排便補助器具
14日前
個人
美容セット
21日前
個人
治療用酸化防御装置
2か月前
株式会社コーセー
化粧料
1か月前
株式会社八光
剥離吸引管
5か月前
株式会社大野
骨壷
4か月前
個人
エア誘導コルセット
2か月前
個人
性行為補助具
3か月前
個人
高気圧環境装置
5か月前
株式会社ダリヤ
毛髪化粧料
2か月前
株式会社松風
口腔用組成物
4か月前
株式会社ニデック
眼科装置
2か月前
株式会社ニデック
検眼装置
4か月前
個人
精力増強キット
2か月前
個人
手指運動ツール
3か月前
株式会社ニデック
眼科装置
2か月前
続きを見る
他の特許を見る