TOP
|
特許
|
意匠
|
商標
特許ウォッチ
Twitter
他の特許を見る
10個以上の画像は省略されています。
公開番号
2025161730
公報種別
公開特許公報(A)
公開日
2025-10-24
出願番号
2025008581
出願日
2025-01-21
発明の名称
装置
出願人
株式会社湯山製作所
代理人
弁理士法人 HARAKENZO WORLD PATENT & TRADEMARK
主分類
A61J
3/00 20060101AFI20251017BHJP(医学または獣医学;衛生学)
要約
【課題】有効期限に基づく薬剤の払出し制御を行うことができる。
【解決手段】薬剤払出装置(1)は、対象薬剤に対して指定された服用期間の最終日を特定する特定部(211)と、薬剤払出装置に保管されている薬剤の有効期限を記憶する記憶部(22)から、対象薬剤の有効期限を取得する取得部(212)と、取得部が取得した有効期限と特定部が特定した最終日との関係が所定の条件を満たすかを判定する判定部(213)と、を備える。
【選択図】図1
特許請求の範囲
【請求項1】
薬剤保管装置から払出すか又は取出しを可能とするかどうかの判断の対象となる対象薬剤に対して指定された服用期間の最終日を取得する第1取得部と、
前記薬剤保管装置に保管されている薬剤の有効期限を記憶する記憶装置から、前記対象薬剤の有効期限を取得する第2取得部と、
前記第2取得部が取得した前記有効期限と前記第1取得部が取得した前記最終日との関係が、所定の条件を満たすかを判定する判定部と、を備える装置。
続きを表示(約 500 文字)
【請求項2】
前記所定の条件は、前記第2取得部が取得した前記有効期限が前記最終日よりも前であるか、前記最終日以前であるか、又は、前記最終日より後の指定日以前である、請求項1に記載の装置。
【請求項3】
前記第2取得部が取得した前記有効期限が前記所定の条件を満たすと前記判定部が判定した場合、前記対象薬剤を前記薬剤保管装置から払出さない薬剤又は取出し不可の薬剤として決定する決定部を備える、請求項1に記載の装置。
【請求項4】
前記決定部が前記薬剤保管装置から払出さない薬剤又は取出し不可の薬剤として決定した前記対象薬剤に関する情報を、前記対象薬剤の払出し若しくは取出しが可能な第1装置、及び、前記対象薬剤を保管する箇所からの取出しを補助する第2装置の少なくとも何れかに送信する送信部を備える、請求項3に記載の装置。
【請求項5】
前記決定部が前記薬剤保管装置から払出さない薬剤又は取出し不可の薬剤として決定した前記対象薬剤を、前記薬剤保管装置から払出さないこと又は取出し不可であることを報知する報知部を備える、請求項3又は4に記載の装置。
発明の詳細な説明
【技術分野】
【0001】
本開示は、薬剤保管装置からの薬剤の払出し又は取出し可否を制御する装置等に関する。
続きを表示(約 1,700 文字)
【背景技術】
【0002】
特許文献1には、PTP(Press Through Package)シート又はブリスター包装シート等の薬剤シートを払出す薬剤払出装置の一例が記載されている。
【先行技術文献】
【特許文献】
【0003】
特許6690541号公報
【発明の概要】
【発明が解決しようとする課題】
【0004】
しかし、特許文献1の薬剤払出装置では、有効期限を用いた払出しの制御については記載されていない。
【0005】
本開示の一態様は、有効期限に基づく薬剤の払出し又は取出し可否の制御を行うことが可能な装置を実現することを目的とする。
【課題を解決するための手段】
【0006】
本開示の一態様に係る装置は、薬剤保管装置から払出すか又は取出しを可能とするかどうかの判断の対象となる対象薬剤に対して指定された服用期間の最終日を取得する第1取得部と、前記薬剤保管装置に保管されている薬剤の有効期限を記憶する記憶装置から、前記対象薬剤の有効期限を取得する第2取得部と、前記第2取得部が取得した前記有効期限と前記第1取得部が取得した前記最終日との関係が所定の条件を満たすかを判定する判定部と、を備える。
【発明の効果】
【0007】
本開示の一態様によれば、有効期限に基づく薬剤の払出し又は取出し可否の制御を行うことができる。
【図面の簡単な説明】
【0008】
一実施形態に係る薬剤払出システムの一例を示すブロック図である。
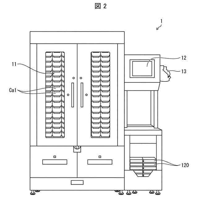
薬剤払出装置の外観の一例を示す正面図である。
薬剤取出可能装置の外観の一例を示す斜視図である。
薬剤払出装置が払出すジャーナルの一例を示す図である。
薬剤払出装置の制御部による処理の一例を示すフローチャートである。
薬剤払出装置のタッチパネルに表示される薬剤の充填画像の一例を示す図である。
別の実施形態に係る薬剤払出システムの一例を示すブロック図である。
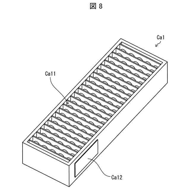
薬剤払出装置が備えるカセットの一例を示す模式図である。
薬剤払出装置のタッチパネルに表示される充填画像の一例を示す図である。
薬剤に付されたバーコードとカセットに付されたバーコードとの照合時に、薬剤払出装置のタッチパネルに表示される充填画像の一例を示す図である。
薬剤払出装置の印刷部が薬剤に関する情報と共にバーコードを印刷したジャーナルの一例である。
別実施形態に係る薬剤払出装置の一例を概略的に示す模式図である。
上記薬剤払出装置の一例を概略的に示す模式図である。
第2照明部における薬剤シートの位置を模式的に示す平面図、及び、特定された薬剤シートの切断位置の一例を模式的に示す平面図である。
【発明を実施するための形態】
【0009】
〔実施形態1〕
<薬剤払出システム>
図1は、本実施形態の薬剤払出システム100の一例を示すブロック図である。薬剤払出システム100は、薬剤の払出しを可能とするシステムであり、例えば、薬剤払出装置1、補助装置2及び薬剤取出可能装置3を備える。薬剤払出システム100は、補助装置2及び薬剤取出可能装置3の何れか一方を備える構成であってもよい。
【0010】
(薬剤払出装置)
薬剤払出装置1は、薬剤払出装置1に保管されている薬剤を払出す装置である。薬剤払出装置1は、上位システム(不図示)から受信する処方データに基づき、自装置に保管している薬剤の中から、処方された薬剤を払出す。処方データには、例えば、患者識別情報(例えば、患者に付与された番号(患者ID)、及び、患者名等)に対応付けられた、患者に処方された薬剤の種類を示す情報(例:薬剤識別情報)が含まれている。また、処方データには、例えば、薬剤識別情報に対応付けられた、薬剤の個数、及び、薬剤の服用期間(処方日数)を示す情報が含まれている。
(【0011】以降は省略されています)
この特許をJ-PlatPat(特許庁公式サイト)で参照する
関連特許
株式会社湯山製作所
装置
1か月前
株式会社湯山製作所
仕切り板、仕切り装置及び棚板装置
今日
株式会社湯山製作所
薬剤包装帯集約装置及び包装帯ロール
12日前
株式会社湯山製作所
搬送装置、混注装置、及び、注入装置
19日前
株式会社湯山製作所
投薬支援システム及び投薬支援プログラム
7日前
株式会社湯山製作所
薬剤包装帯巻取装置及び薬剤包装システム
12日前
株式会社湯山製作所
薬品払出装置
1か月前
株式会社湯山製作所
薬剤分包装置
1か月前
株式会社湯山製作所
薬剤払出装置
1か月前
株式会社湯山製作所
薬品払出システム、薬品払出プログラム
6日前
株式会社湯山製作所
薬剤仕分装置、及び、薬剤仕分装置の制御方法
1か月前
株式会社湯山製作所
薬品払出装置、表示制御装置、薬品払出プログラム
1か月前
個人
リアルタイム退避・復元型電子カルテデータガードサービス提供システム
1か月前
個人
貼付剤
1か月前
個人
簡易担架
12日前
個人
腋臭防止剤
12日前
個人
足踏み器具
19日前
個人
短下肢装具
4か月前
個人
前腕誘導装置
4か月前
個人
排尿補助器具
1か月前
個人
嚥下鍛錬装置
4か月前
個人
汚れ防止シート
1か月前
個人
腰ベルト
1か月前
個人
バッグ式オムツ
5か月前
個人
アイマスク装置
3か月前
個人
胸骨圧迫補助具
2か月前
個人
歯の修復用材料
5か月前
個人
ウォート指圧法
1か月前
個人
矯正椅子
6か月前
個人
シャンプー
7か月前
個人
陣痛緩和具
4か月前
個人
排尿排便補助器具
14日前
個人
美容セット
21日前
個人
歯の保護用シール
6か月前
個人
哺乳瓶冷まし容器
4か月前
個人
湿布連続貼り機。
3か月前
続きを見る
他の特許を見る