TOP
|
特許
|
意匠
|
商標
特許ウォッチ
Twitter
他の特許を見る
10個以上の画像は省略されています。
公開番号
2025159038
公報種別
公開特許公報(A)
公開日
2025-10-17
出願番号
2025131646,2024127766
出願日
2025-08-06,2017-12-25
発明の名称
薬剤分包装置
出願人
株式会社湯山製作所
代理人
個人
主分類
A61J
3/00 20060101AFI20251009BHJP(医学または獣医学;衛生学)
要約
【課題】薬剤包装のための動作及びそれに関する動作を効率よく実施可能な薬剤包装装置を提供する。
【解決手段】外部から供給された薬剤を1服用分ずつ包装して排出する薬剤包装装置に対して、上側清掃装置24と下側清掃装置23を設ける。そして、上側清掃装置24は、少なくとも一部が分配皿20の上側に位置した状態で、予め定められた清掃動作を自動的に実施するものとする。また、下側清掃装置23は、少なくとも一部が分配皿20の下側に位置した状態で、予め定められた分配皿20の回転を伴う清掃動作を実施するものとする。
【選択図】図2
特許請求の範囲
【請求項1】
2つの散薬供給装置と、2つの分配皿と、2つの掻出装置と、1つの導入用ホッパと、制御装置とを備えた薬剤分包装置であって、
該2つの散薬供給装置のそれぞれは、該2つの分配皿のそれぞれに散薬を供給するものであり、
該2つの掻出装置のそれぞれは、該2つの分配皿のそれぞれに供給された散薬を掻き出すものであり、かつ、
該1つの導入用ホッパは、該掻き出された散薬を、分包動作に供する経路であって、
制御装置は、該分包動作と、掻出装置を清掃するスクリュー清掃動作、分配皿を清掃する分配皿清掃動作、及び導入用ホッパを清掃する経路清掃動作を含む清掃動作と、を実施するものであり、
該清掃動作を、
該2つの分配皿の内の1つの分配皿のみを使用して連続して該分包動作を順次行う場合、前記スクリュー清掃動作、前記分配皿清掃動作、前記経路清掃動作の順で実施することを含み、
該2つの分配皿の両方を使用して連続して該分包動作を順次行う場合、該2つの分配皿のそれぞれにおける前記スクリュー清掃動作、前記経路清掃動作、該2つの分配皿のそれぞれにおける前記分配皿清掃動作の順で実施することを含む、
薬剤分包装置。
発明の詳細な説明
【技術分野】
【0001】
本発明は、錠剤や散薬等の薬剤を包装する薬剤包装装置の一部として使用可能な散薬供給装置に関する。
続きを表示(約 6,200 文字)
【背景技術】
【0002】
処方に基づいて錠剤や散薬等の薬剤を1服用分ずつ包装する薬剤包装装置が知られている。薬剤包装装置として、例えば、特許文献1に開示されたものがある。
【0003】
特許文献1に開示された薬剤包装装置は、散薬分配部と散薬包装部とを備えており、投入された散薬を散薬分配部で1服用分ずつに分割し、散薬包装部へ順次供給する。そして、散薬包装部において、1服用分の散薬を区分して包装紙内に収容し、これをシールして薬包体を形成する。
特許文献1に開示された薬剤包装装置では、散薬分配部に分配皿があり、分配皿の溝に散薬を投入する構造となっている。
【先行技術文献】
【特許文献】
【0004】
特開2005-162240号公報
【発明の概要】
【発明が解決しようとする課題】
【0005】
上記した構成の薬剤包装装置では、散薬を包装する動作を実施する際に散薬を分配皿の上に落下させるので、分配皿及びその周辺の清掃する必要が生じる場合がある。
清掃のための作業(又は動作)が煩雑であると、次に実施する包装の動作の開始が遅れてしまうので好ましくない。
また薬剤包装装置は、人が服用する薬剤を取り扱う機器であるため、一般的な機器に比べて清浄性が求められる。すなわち包装する散薬に他の散薬が混入してしまうこと(所謂コンタミネーション)等を確実に防止するため、僅かに残存してしまった散薬等も確実に取り除く必要がある。
【0006】
従来の薬剤包装装置は、清掃をより容易化するという観点や、より正確な清掃を実施するという観点から、改良の余地があった。
また従来の薬剤包装装置は、形成した薬包体を排出位置まで滞りなく搬送するという観点や、メンテナンス時における清掃作業の効率化を図るという観点からも改良の余地があった。
さらに従来の薬剤包装装置は、錠剤を包装するにあたり、外部から錠剤を効率よく供給するという観点からも改良の余地があった。
【0007】
本発明は、薬剤包装のための動作及びそれに関する動作を効率よく実施可能とするための技術を提供することを課題とする。
【課題を解決するための手段】
【0008】
上記課題を解決するための本発明の一つの様相は、供給装置本体部と、トラフ部材を備えた散薬供給装置であって、前記供給装置本体部と前記トラフ部材は、それぞれ対となる第1本体側係合部と第1トラフ側係合部によって構成される係合構造部を有するものであり、前記係合構造部は、弾性部材を有し、前記トラフ部材は、前記第1本体側係合部と前記第1トラフ側係合部が係合して前記供給装置本体部に装着され、前記第1本体側係合部と前記第1トラフ側係合部が係合中の状態では、前記弾性部材の弾性復元力によって前記トラフ部材が付勢される、散薬供給装置である。
上記した様相は、前記供給装置本体部と前記トラフ部材は、それぞれ対となる第2本体側係合部と第2トラフ側係合部を有するものであり、前記第2本体側係合部と前記第2トラフ側係合部は、一方が掛止片であり、他方が前記掛止片を掛止可能な受け部であって、前記掛止片が前記受け部に掛止され、且つ、前記第1本体側係合部と前記第1トラフ側係合部が係合するものであり、前記掛止片と前記受け部は、掛止した状態から、前記掛止片と前記受け部の一方を他方に対して所定の係合解除方向へ移動させることで、掛止が解除されるものであり、前記第1本体側係合部と前記第1トラフ側係合部が係合した状態では、前記トラフ部材に対し、下方へ向かう方向成分と、前記係合解除方向の逆方向となる方向成分を含む方向に力が加わる、ことが好ましい。
上記した様相は、前記係合構造部は、第1構成体と、第2構成体と、連結体とを備え、前記第2構成体に対して前記連結体が回動自在に取り付けられ、且つ、前記連結体に対して前記第1構成体が回動自在に取り付けられており、前記第1構成体は、内部に収納空間を有しており、前記第1本体側係合部と前記第1トラフ側係合部が係合し、前記第1本体側係合部が係合時姿勢に移行したとき、前記第1構成体が前記弾性部材と、前記連結体と、前記第2構成体とを上方から覆った状態となり、前記収納空間に前記弾性部材と、前記連結体と、前記第2構成体とが収納される、ことが好ましい。
上記した様相は、前記供給装置本体部に対して回動可能に取り付けられた供給装置蓋部を有し、閉状態から開状態への移行が可能であって、前記供給装置蓋部を閉状態とすることで、前記供給装置蓋部が前記第1本体側係合部を上方から覆った状態となり、前記供給装置蓋部を開状態とすることで、前記第1本体側係合部が外部に露出する、ことが好ましい。
上記した様相は、前記トラフ部材は、受皿本体部と固定用部材を備え、前記固定用部材は、前記受皿本体部から離れた位置で上方に延びるロック片形成部を有し、前記第1トラフ側係合部は、前記ロック片形成部の上端側の部分に形成され、前記第1本体側係合部と前記第1トラフ側係合部が係合した状態では、前記収納空間内に前記ロック片形成部の一部が収容される、ことが好ましい。
上記した様相は、前記トラフ部材の上方にホッパ部材が配されるものであり、前記散薬供給装置は、前記ホッパ部材の移動を規制するホッパ移動規制部を備えており、前記ホッパ移動規制部は、第1移動規制部を有し、前記第1移動規制部は、前記ホッパ部材を係合し、前記トラフ部材の散薬の流れ方向成分を含む方向への移動を規制する、ことが好ましい。
本発明の他の様相は、供給装置本体部と、トラフ部材を備えた散薬供給装置であって、前記供給装置本体部と前記トラフ部材は、それぞれ対となる第1本体側係合部と第1トラフ側係合部によって構成される係合構造部を有するものであり、前記トラフ部材は、前記第1本体側係合部と前記第1トラフ側係合部が係合して前記供給装置本体部に装着され、前記供給装置本体部と前記トラフ部材は、それぞれ対となる第2本体側係合部と第2トラフ側係合部を有するものであり、前記第2本体側係合部と前記第2トラフ側係合部は、一方が掛止片であり、他方が前記掛止片を掛止可能な受け部であって、前記掛止片が前記受け部に掛止され、且つ、前記第1本体側係合部と前記第1トラフ側係合部が係合するものであり、前記掛止片と前記受け部は、掛止した状態から、前記掛止片と前記受け部の一方を他方に対して所定の係合解除方向へ移動させることで、掛止が解除される、散薬供給装置である。
本発明に関連する様相は、供給装置本体部と、振動印加装置、トラフ部材を備え、前記振動印加装置によって前記トラフ部材に振動が印加される散薬供給装置であって、前記供給装置本体部は、受皿載置部を有し、前記トラフ部材は、受皿本体部と固定用部材を備え、前記受皿載置部に対して着脱可能であり、前記固定用部材は、固定板部を有しており、前記固定板部の一部が前記受皿本体部の下側に位置しており、前記受皿載置部と前記固定用部材は、それぞれ対となる第2本体側係合部と第2トラフ側係合部を有するものであり、前記トラフ部材が前記受皿載置部に装着された状態では、前記第2本体側係合部と前記第2トラフ側係合部が係合し、且つ、前記固定板部の下面と前記受皿載置部の上面とを全域に亘って面接触させない構造によって前記固定板部の下面と前記受皿載置部の上面の間に隙間が形成される、散薬供給装置である。
本発明に関連する他の様相は、供給装置本体部と、振動印加装置、トラフ部材を備え、前記振動印加装置によって前記トラフ部材に振動が印加される散薬供給装置であって、前記供給装置本体部は、受皿載置部を有し、前記トラフ部材は、受皿本体部と固定用部材を備え、前記受皿載置部に対して着脱可能であり、前記固定用部材は、固定板部を有しており、前記固定板部の一部が前記受皿本体部の下側に位置しており、前記受皿載置部と前記固定用部材は、それぞれ対となる第2本体側係合部と第2トラフ側係合部を有するものであり、前記トラフ部材が前記受皿載置部に装着された状態では、前記第2本体側係合部と前記第2トラフ側係合部が係合し、前記固定板部の下面と前記受皿載置部の上面の間に隙間が形成され、前記固定板部は、下方に向かって突出する突起部を有する、散薬供給装置である。
上記した様相は、前記第2本体側係合部と前記第2トラフ側係合部は、一方が掛止片であり、他方が前記掛止片を掛止可能な受け部であって、前記掛止片と前記受け部は、掛止した状態から、前記掛止片と前記受け部の一方を他方に対して所定の係合解除方向へ移動させることで、掛止が解除されるものであり、前記供給装置本体部と前記トラフ部材は、それぞれ対となる第1本体側係合部と第1トラフ側係合部によって構成される係合構造部を有するものであり、前記第1本体側係合部と前記第1トラフ側係合部が係合中の状態では、前記トラフ部材に対し、前記係合解除方向の逆方向となる方向成分を含む方向に力が加わる、ことが好ましい。
上記した様相は、前記トラフ部材が前記受皿載置部に装着された状態では、前記掛止片が前記受け部に掛止され、且つ、前記隙間は、前記掛止片及び前記受け部と近接する部分が、前記掛止片及び前記受け部から離れている部分よりも狭くなっている、ことが好ましい。
上記した様相は、前記固定板部は、下方に向かって突出する突起部を有する、ことが好ましい。
上記した様相は、前記第1本体側係合部は、弾性部材を有し、前記第1本体側係合部と前記第1トラフ側係合部が係合した状態では、前記弾性部材の弾性復元力によって前記トラフ部材が付勢される、ことが好ましい。
上記した様相は、前記固定用部材は、前記受皿本体部から離れた位置で上方に延びるロック片形成部を有し、前記第1トラフ側係合部は、前記ロック片形成部の上端側の部分に形成されている、ことが好ましい。
上記した様相は、前記第1本体側係合部は、第1構成体と、第2構成体と、連結体とを備え、前記第2構成体に対して前記連結体が回動自在に取り付けられ、且つ、前記連結体に対して前記第1構成体が回動自在に取り付けられており、前記第1構成体は、内部に収納空間を有しており、前記第1本体側係合部と前記第1トラフ側係合部が係合した状態では、前記収納空間内に前記ロック片形成部の一部が収容される、ことが好ましい。
上記した様相は、前記ロック片形成部の上側部分に、上側に向かって凸となるように湾曲する湾曲面が形成されている、ことが好ましい。
本発明に関連する様相は、薬剤を1服用分ずつ包装して排出する薬剤包装装置であって、動力によって回転し環状溝を有する分配皿と、前記分配皿の上側面を清掃する上側清掃装置とを備え、前記上側清掃装置は、吸引口部を有する先端ノズル部を有し、前記吸引口部の一部は、弾性変形可能なヘラ状部を備えた堰止板部と隣接する位置に形成され、前記ヘラ状部は、吸引時姿勢において前記分配皿の回転方向における下流側へ向かって凸となるように湾曲した形状である、薬剤包装装置である。
上記した様相は、前記吸引口部は、前記堰止板部と吸引口形成板部の間に形成され、前記吸引口形成板部は、前記ヘラ状部よりも弾性係数の大きな部分であり、吸引時姿勢において、前記ヘラ状部の下端側に位置する部分が前記環状溝に密着し、前記吸引口形成板部が前記環状溝に接触しない位置にある、ことが好ましい。
上記した様相は、前記吸引口形成板部は、前記先端ノズル部の側壁部分の一部から外側へ突出するように延びており、前記吸引口形成板部は、吸引時姿勢において前記分配皿の回転方向における下流側へ向かって凸となるように湾曲した部分を有する、ことが好ましい。
上記した様相は、前記ヘラ状部に窪み部分が形成され、吸引時姿勢において、前記分配皿において前記環状溝の縁端部分の一部を形成する部分が、前記窪み部分に入り込んだ状態となる、ことが好ましい。
上記した様相は、回動機構部を備え、前記回動機構部は、前記先端ノズル部の周回りに前記先端ノズル部を回動させる、ことが好ましい。
上記した様相は、吸引装置を備え、前記先端ノズル部は、内部の空間が前記吸引装置と連なる吸引経路を形成するものであり、前記吸引口部は、前記先端ノズル部の内外を連通しており、前記先端ノズル部における吸引経路は、前記先端ノズル部の先端側の部分が基端側の部分より断面積が小さい、ことが好ましい。
上記した様相は、前記先端ノズル部における吸引経路は、吸引時姿勢において、前記先端ノズル部の上側部分が下側部分よりも断面積が大きい、ことが好ましい。
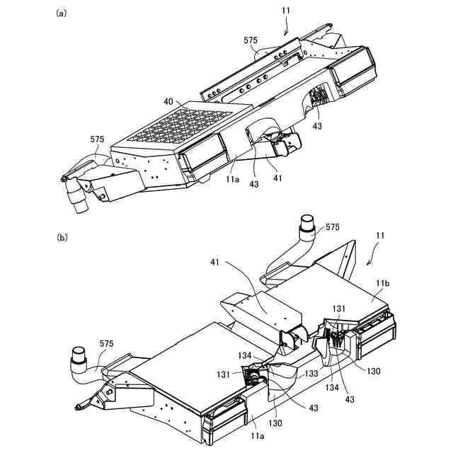
本発明に関連する様相は、外部から供給された薬剤を1服用分ずつ包装して排出する薬剤包装装置であって、動力によって回転し環状の溝を有する分配皿を備え、前記分配皿の上側面と下側面をそれぞれ清掃する上側清掃装置と下側清掃装置を備えており、前記上側清掃装置は、少なくとも一部が前記分配皿の上側に位置した状態で、予め定められた清掃動作を自動的に実施するものであり、前記下側清掃装置は、少なくとも一部が前記分配皿の下側に位置した状態で、予め定められた清掃動作であり、且つ、前記分配皿の回転を伴う清掃動作を実施するものである。
【0009】
本様相の薬剤包装装置によると、分配皿の上面(以下、単に皿上とも称す)だけでなく、下面(以下、単に皿下とも称す)をも清掃が可能となっている。
したがって、皿上に残存した散薬のみならず、分包動作を実施する際に皿下側へ飛び散り、静電気の発生等に起因して皿下側へ付着した散薬をも除去可能となる。このことから、より確実に残存散薬の除去が可能となり、残存散薬に起因するコンタミネーションの発生等をより抑制可能となる。さらに、手動の清掃装置(使用者が手で把持して使用する清掃装置)とは異なり、分配皿の回転をさせつつ皿下側を清掃する動作を実施することで、より容易に清掃が可能となっている。
【0010】
前記下側清掃装置は、前記分配皿の径方向端部と隣接する位置に配されるものであり、前記分配皿の周方向に沿って延びる飛散防止板と、粉体を貯留可能な受止用空間を形成する散薬受皿部材と、前記受止用空間に配されていて前記分配皿に下方側から接触する接触体を備え、前記散薬受皿部材は、前記飛散防止板よりも前記分配皿側であって前記飛散防止板の下端部分に隣接する位置に配され、前記下側清掃装置が実施する清掃動作は、前記接触体が前記分配皿に下方側から接触した状態で、前記分配皿を回転させる動作であることが好ましい。
(【0011】以降は省略されています)
この特許をJ-PlatPat(特許庁公式サイト)で参照する
関連特許
株式会社湯山製作所
装置
1か月前
株式会社湯山製作所
仕切り板、仕切り装置及び棚板装置
今日
株式会社湯山製作所
薬剤包装帯集約装置及び包装帯ロール
12日前
株式会社湯山製作所
搬送装置、混注装置、及び、注入装置
19日前
株式会社湯山製作所
投薬支援システム及び投薬支援プログラム
7日前
株式会社湯山製作所
薬剤包装帯巻取装置及び薬剤包装システム
12日前
株式会社湯山製作所
分包制御システム、分包制御方法及び分包制御プログラム
1か月前
株式会社湯山製作所
薬品払出装置
1か月前
株式会社湯山製作所
薬剤分包装置
1か月前
株式会社湯山製作所
薬剤払出装置
1か月前
株式会社湯山製作所
薬品払出システム、薬品払出プログラム
6日前
株式会社湯山製作所
薬剤仕分装置、及び、薬剤仕分装置の制御方法
1か月前
株式会社湯山製作所
薬品払出装置、表示制御装置、薬品払出プログラム
1か月前
個人
リアルタイム退避・復元型電子カルテデータガードサービス提供システム
1か月前
個人
貼付剤
1か月前
個人
簡易担架
12日前
個人
足踏み器具
19日前
個人
腋臭防止剤
12日前
個人
短下肢装具
4か月前
個人
前腕誘導装置
4か月前
個人
嚥下鍛錬装置
4か月前
個人
排尿補助器具
1か月前
個人
歯の修復用材料
5か月前
個人
ウォート指圧法
1か月前
個人
バッグ式オムツ
5か月前
個人
矯正椅子
6か月前
個人
汚れ防止シート
1か月前
個人
ホバーアイロン
7か月前
個人
胸骨圧迫補助具
2か月前
個人
腰ベルト
1か月前
個人
アイマスク装置
3か月前
個人
哺乳瓶冷まし容器
4か月前
個人
排尿排便補助器具
14日前
個人
湿布連続貼り機。
3か月前
個人
歯の保護用シール
6か月前
個人
陣痛緩和具
4か月前
続きを見る
他の特許を見る