TOP
|
特許
|
意匠
|
商標
特許ウォッチ
Twitter
他の特許を見る
公開番号
2025142344
公報種別
公開特許公報(A)
公開日
2025-09-30
出願番号
2025127729,2024165465
出願日
2025-07-30,2018-04-12
発明の名称
薬剤仕分装置、及び、薬剤仕分装置の制御方法
出願人
株式会社湯山製作所
代理人
弁理士法人 HARAKENZO WORLD PATENT & TRADEMARK
主分類
A61J
3/00 20060101AFI20250919BHJP(医学または獣医学;衛生学)
要約
【課題】薬剤自体を認識し、自動的に仕分ける薬剤仕分装置を備える。
【解決手段】薬剤仕分装置(1)は、複数種類の薬剤を収容する第1収容部(11)と、薬剤を種類毎に仕分けられた状態で収容する第2収容部(14)と、第1収容部から取り出した薬剤の種類を判別する判別部(64)と、判別部による判別結果に基づき、薬剤を種類毎に第2収容部に収容する搬送・仕分ユニット(12)と、を備え、複数種類の薬剤は、容器に収容されていない薬剤、または包装が施されていない薬剤であり、かつ、患者に処方された後に返品された薬剤である。
【選択図】図1
特許請求の範囲
【請求項1】
薬剤仕分装置であって、
前記薬剤仕分装置に投入された複数種類の薬剤のそれぞれについて、その種類を判別する判別部と、
前記判別部による判別結果に基づき、前記薬剤を種類毎に複数の仕分位置に仕分ける仕分部と、を備え、
前記複数種類の薬剤は、患者に処方された後に返品された薬剤であり、
前記判別部が判別した前記薬剤の種類が、前記複数の仕分位置のいずれかに仕分けられた薬剤の種類と同じであると判定した場合に、前記仕分部は、前記判別部が種類を判別した薬剤を、前記判別部がそれまでに種類を判別した薬剤を仕分けた前記仕分位置と同じ前記仕分位置に仕分ける、薬剤仕分装置。
続きを表示(約 610 文字)
【請求項2】
前記複数種類の薬剤のうち、前記判別部の判別対象とする薬剤を撮像する撮像部と、
前記撮像部が撮像する前記薬剤を載置可能な2つの薬剤載置台と、
2つの端部を備え、前記2つの薬剤載置台のそれぞれを各端部に備える軸部と、
前記軸部を旋回させることにより、前記薬剤載置台を、前記撮像部の撮像領域と前記撮像領域以外の領域との間で移動させる、請求項1に記載の薬剤仕分装置。
【請求項3】
前記複数の仕分位置に仕分けられた前記薬剤を種類毎に分包する分包機構を備える、請求項1に記載の薬剤仕分装置。
【請求項4】
薬剤仕分装置の制御方法であって、
前記薬剤仕分装置に投入された複数種類の薬剤のそれぞれについて、その種類を判別する判別ステップと、
前記判別ステップによる判別結果に基づき、前記薬剤を種類毎に複数の仕分位置に仕分ける仕分ステップと、を含み、
前記複数種類の薬剤は、患者に処方された後に返品された薬剤であり、
前記判別ステップで判別した前記薬剤の種類が、前記複数の仕分位置のいずれかに仕分けられた薬剤の種類と同じであると判定した場合に、前記仕分ステップにおいて、前記判別ステップで種類を判別した薬剤を、前記判別ステップでそれまでに種類を判別した薬剤を仕分けた前記仕分位置と同じ前記仕分位置に仕分ける、薬剤仕分装置の制御方法。
発明の詳細な説明
【技術分野】
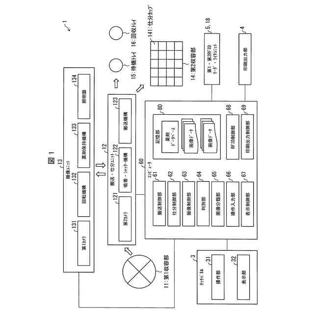
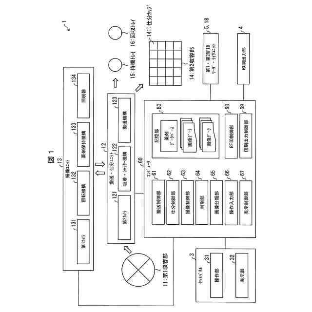
【0001】
本発明は、薬剤を仕分ける薬剤仕分装置に関する。
続きを表示(約 1,800 文字)
【背景技術】
【0002】
従来、返品された複数種類の薬剤は、薬剤師または医師の手により種類毎に仕分けられていた。返品される薬剤は、様々な患者に処方される、または処方された調剤後の薬剤である。そのため、1患者単位の処方箋情報に基づいて、調剤機器等に予め薬種単位でまとめられた薬種群(薬剤カセット)から、一服用時期単位毎に、(1種または複数種の)薬剤(錠剤)を取りまとめる(分包する)調剤業務に比べて、複数の患者に処方された薬剤がまとめて返品される薬剤の種類は非常に多い。そのため、返品された薬剤を自動的に仕分けて、再利用することの有用性は高い。なお、一服用時期用に調剤される薬剤は、一般に2~3種類程度であり、多くても10種類程度である。
【0003】
なお、仕分け業務にかかる時間、手間、または仕分け間違い(薬剤カセットへの戻し間違い)による誤投与のリスクを避けるため、返品された薬剤を、そのまま廃棄する薬局または病院(正確には院内薬剤部)も存在している。
【0004】
特許文献1には、返品されたアンプルまたはバイアルを自動的に認識して格納する薬剤仕分装置が開示されている。この薬剤仕分装置は、アンプルまたはバイアルの向き及び姿勢と、アンプルまたはバイアルの性状(例:形状、大きさ、種類及び使用期限)とを認識する。そして、認識されたアンプルまたはバイアルの大きさに応じて格納時に個々のアンプルまたはバイアルに設定される格納領域と、個々のアンプルまたはバイアルの識別情報とを関連付けて、アンプルまたはバイアルを個別に配置し、それによって個別のアンプルまたはバイアルを取り出し可能に格納する。
【先行技術文献】
【特許文献】
【0005】
国際公開第2015/170761号(2015年11月12日公開)
【発明の概要】
【発明が解決しようとする課題】
【0006】
しかしながら、特許文献1での返品対象は、アンプルまたはバイアルであり、錠剤またはカプセル等の、容器等に収容されていない薬剤、または包装等が施されていない薬剤自体ではない。そのため、特許文献1では、このような薬剤(例:錠剤またはカプセル)そのものを識別し、自動的に仕分けることについてまでは想定されていない。
【0007】
本発明の一態様は、薬剤自体を認識し、自動的に仕分けることが可能な薬剤仕分装置を実現することを目的とする。
【課題を解決するための手段】
【0008】
本発明の一態様に係る薬剤仕分装置は、薬剤仕分装置であって、前記薬剤仕分装置に投入された複数種類の薬剤のそれぞれについて、その種類を判別する判別部と、前記判別部による判別結果に基づき、前記薬剤を種類毎に複数の仕分位置に仕分ける仕分部と、を備え、前記複数種類の薬剤は、患者に処方された後に返品された薬剤であり、前記判別部が判別した前記薬剤の種類が、前記複数の仕分位置のいずれかに仕分けられた薬剤の種類と同じであると判定した場合に、前記仕分部は、前記判別部が種類を判別した薬剤を、前記判別部がそれまでに種類を判別した薬剤を仕分けた前記仕分位置と同じ前記仕分位置に仕分ける。
【0009】
本発明の一態様に係る薬剤仕分装置の制御方法は、薬剤仕分装置の制御方法であって、前記薬剤仕分装置に投入された複数種類の薬剤のそれぞれについて、その種類を判別する判別ステップと、前記判別ステップによる判別結果に基づき、前記薬剤を種類毎に複数の仕分位置に仕分ける仕分ステップと、を含み、前記複数種類の薬剤は、患者に処方された後に返品された薬剤であり、前記判別ステップで判別した前記薬剤の種類が、前記複数の仕分位置のいずれかに仕分けられた薬剤の種類と同じであると判定した場合に、前記仕分ステップにおいて、前記判別ステップで種類を判別した薬剤を、前記判別ステップでそれまでに種類を判別した薬剤を仕分けた前記仕分位置と同じ前記仕分位置に仕分ける。
【発明の効果】
【0010】
本発明の一態様に係る薬剤仕分装置によれば、薬剤自体を認識し、自動的に仕分けることができるという効果を奏する。
【図面の簡単な説明】
(【0011】以降は省略されています)
この特許をJ-PlatPat(特許庁公式サイト)で参照する
関連特許
株式会社湯山製作所
装置
1か月前
株式会社湯山製作所
仕切り板、仕切り装置及び棚板装置
今日
株式会社湯山製作所
薬剤包装帯集約装置及び包装帯ロール
12日前
株式会社湯山製作所
搬送装置、混注装置、及び、注入装置
19日前
株式会社湯山製作所
投薬支援システム及び投薬支援プログラム
7日前
株式会社湯山製作所
薬剤包装帯巻取装置及び薬剤包装システム
12日前
株式会社湯山製作所
薬品払出装置
1か月前
株式会社湯山製作所
薬剤分包装置
1か月前
株式会社湯山製作所
薬剤払出装置
1か月前
株式会社湯山製作所
薬品払出システム、薬品払出プログラム
6日前
株式会社湯山製作所
薬剤仕分装置、及び、薬剤仕分装置の制御方法
1か月前
株式会社湯山製作所
薬品払出装置、表示制御装置、薬品払出プログラム
1か月前
個人
リアルタイム退避・復元型電子カルテデータガードサービス提供システム
1か月前
個人
貼付剤
1か月前
個人
簡易担架
12日前
個人
腋臭防止剤
12日前
個人
短下肢装具
4か月前
個人
足踏み器具
19日前
個人
前腕誘導装置
4か月前
個人
排尿補助器具
1か月前
個人
嚥下鍛錬装置
4か月前
個人
汚れ防止シート
1か月前
個人
歯の修復用材料
5か月前
個人
バッグ式オムツ
5か月前
個人
アイマスク装置
3か月前
個人
ホバーアイロン
7か月前
個人
矯正椅子
6か月前
個人
ウォート指圧法
1か月前
個人
腰ベルト
1か月前
個人
胸骨圧迫補助具
2か月前
個人
歯の保護用シール
6か月前
個人
陣痛緩和具
4か月前
個人
湿布連続貼り機。
3か月前
個人
哺乳瓶冷まし容器
4か月前
個人
美容セット
21日前
個人
排尿排便補助器具
14日前
続きを見る
他の特許を見る